TOP
|
特許
|
意匠
|
商標
特許ウォッチ
Twitter
他の特許を見る
10個以上の画像は省略されています。
公開番号
2025144297
公報種別
公開特許公報(A)
公開日
2025-10-02
出願番号
2024044012
出願日
2024-03-19
発明の名称
アクチュエータ装置
出願人
株式会社アイシン
代理人
個人
,
個人
主分類
H02K
7/116 20060101AFI20250925BHJP(電力の発電,変換,配電)
要約
【課題】高い静粛性を確保する。
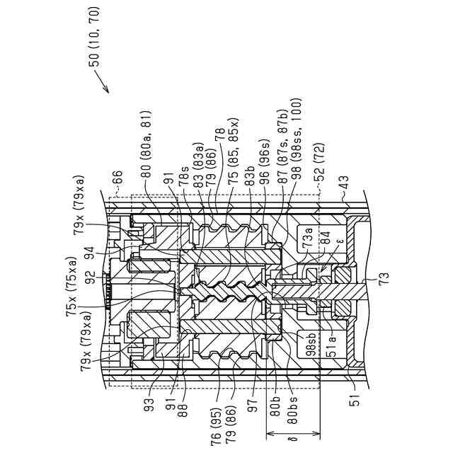
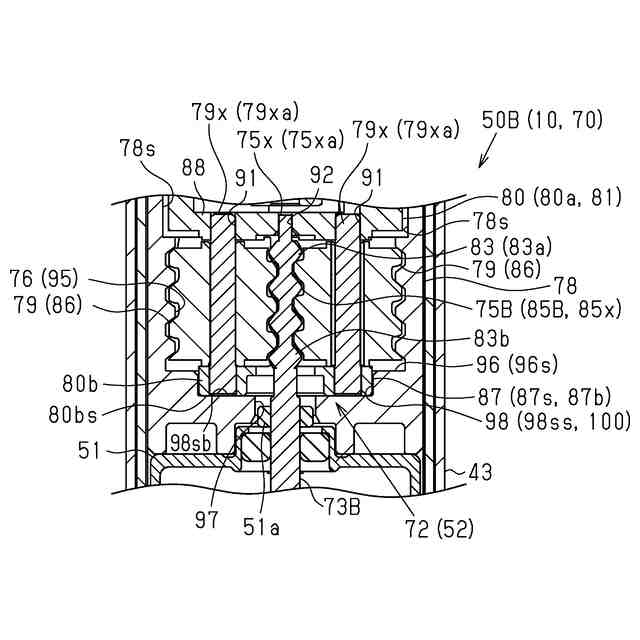
【解決手段】アクチュエータ装置50は、駆動源となるモータ51と、モータシャフト73と同軸位置において、このモータ51に回転駆動されるサンギヤ75と、このサンギヤ75の径方向外側に同軸配置されるリングギヤ76と、を備える。また、アクチュエータ装置50は、リングギヤ76を回転不能に支持する支持部材78と、サンギヤ75及びリングギヤ76に噛合するプラネタリギヤ79と、このプラネタリギヤ79を自転可能且つ公転可能に支持するプラネタリキャリヤ80と、を備える。更に、プラネタリキャリヤ80は、モータ51から離間した第1軸端部80aがサンギヤ75の回転軸75xに支持される。そして、プラネタリキャリヤ80は、モータ51に近い第2軸端部80bの径方向外側位置が、リングギヤ76の支持部材78に設けられた回転支持部100に支持される。
【選択図】図4
特許請求の範囲
【請求項1】
駆動源となるモータと、
モータシャフトと同軸位置において前記モータに回転駆動されるサンギヤと、
前記サンギヤの径方向外側に同軸配置されるリングギヤと、
前記リングギヤを回転不能に支持する支持部材と、
前記サンギヤ及び前記リングギヤに噛合するプラネタリギヤと、
前記プラネタリギヤを自転可能且つ公転可能に支持するプラネタリキャリヤと、
を備え、
前記プラネタリキャリヤは、
前記モータから離間した第1軸端部が前記サンギヤの回転軸に支持されるとともに、
前記モータに近い第2軸端部の径方向外側位置が前記支持部材に設けられた回転支持部に支持されるアクチュエータ装置。
続きを表示(約 290 文字)
【請求項2】
前記サンギヤの歯部と前記モータの軸端部との間の軸方向区間を全周隙間区間として、
前記全周隙間区間においては、前記サンギヤ及び前記モータシャフトの全周に亘って、前記サンギヤ及び前記モータシャフトの径方向外側に隙間が設けられている
請求項1に記載のアクチュエータ装置。
【請求項3】
前記サンギヤが少歯数ヘリカルギヤである
請求項1又は請求項2に記載のアクチュエータ装置。
【請求項4】
前記少歯数ヘリカルギヤが前記モータシャフトと一体に構成されている
請求項3に記載のアクチュエータ装置。
発明の詳細な説明
【技術分野】
【0001】
本発明は、アクチュエータ装置に関するものである。
続きを表示(約 1,900 文字)
【背景技術】
【0002】
従来、遊星歯車機構を用いることにより駆動源となるモータと同軸に減速機を配置したアクチュエータ装置がある。例えば、特許文献1のアクチュエータ装置は、同軸に並置された二段の遊星歯車機構を用いて減速機を構成する。そして、これにより、高い減速比を確保する構成となっている。
【先行技術文献】
【特許文献】
【0003】
欧州特許出願公開第3293417号明細書
【発明の概要】
【発明が解決しようとする課題】
【0004】
しかしながら、上記のような従来技術の構成では、振動や音の発生が課題となる。
【課題を解決するための手段】
【0005】
本発明に係るアクチュエータ装置は、駆動源となるモータと、モータシャフトと同軸位置において前記モータに回転駆動されるサンギヤと、前記サンギヤの径方向外側に同軸配置されるリングギヤと、前記リングギヤを回転不能に支持する支持部材と、前記サンギヤ及び前記リングギヤに噛合するプラネタリギヤと、前記プラネタリギヤを自転可能且つ公転可能に支持するプラネタリキャリヤと、を備え、前記プラネタリキャリヤは、前記モータから離間した第1軸端部が前記サンギヤの回転軸に支持されるとともに、前記モータに近い第2軸端部の径方向外側位置が前記支持部材に設けられた回転支持部に支持される。
【0006】
上記構成によれば、プラネタリキャリヤの第1軸端部が、サンギヤの回転軸に軸支されることにより、このサンギヤの回転軸を基準としたプラネタリキャリヤの高い同軸性を確保することができる。また、支持部材に設けられた回転支持部により第2軸端部の径方向外側位置を支持することで、組付けが容易になるとともに、そのプラネタリキャリヤを、所謂両持ち状態で安定的に支持することができる。更に、これらの第1軸端部及び第2軸端部に設定されたプラネタリキャリヤの支持位置が、それぞれモータから離間していることにより、このプラネタリキャリヤに対してモータの振動が伝わり難くなっている。そして、これにより、高い静粛性を確保することができる。加えて、プラネタリキャリヤの第1軸端部をサンギヤの回転軸が軸支するコンパクトな支持構造を活かして、装置の小型化を図ることができる。
【発明の効果】
【0007】
本発明によれば、高い静粛性を確保することができる。
【図面の簡単な説明】
【0008】
図1は、ドア装置が設けられた車両の側面図である。
図2は、ドア装置の側面図である。
図3は、ドア装置の断面図である。
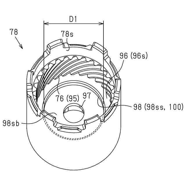
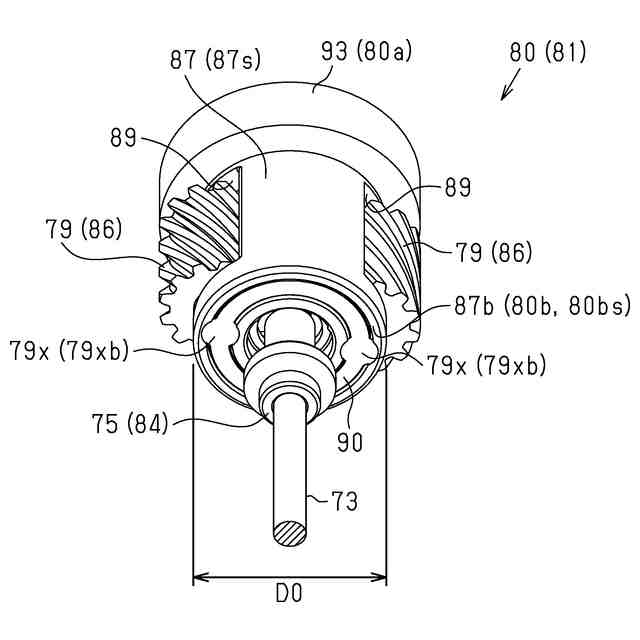
図4は、アクチュエータ装置の断面図である。
図5は、アクチュエータ装置の分解斜視図である。
図6は、プラネタリギヤ及びプラネタリキャリヤ、並びにモータシャフトの斜視図である。
図7は、プラネタリギヤ及びプラネタリキャリヤ、並びにモータシャフト及びサンギヤの斜視図である。
図8は、リンクギヤと一体に構成された支持部材の斜視図である。
図9は、別例のアクチュエータ装置の断面図である。
【発明を実施するための形態】
【0009】
以下、アクチュエータ装置を車両のパワーバックドア装置に適用した一実施形態を図面に従って説明する。
<バックドア>
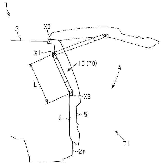
図1に示すように、本実施形態の車両1は、車体2の後端2rに設けられた車両後方(図1中、右側)に開口するドア開口部3を有している。更に、本実施形態の車両1において、ドア開口部3には、このドア開口部3の上端部に回動支点X0を有して上下方向に開閉動作する所謂跳ね上げドアとしての構成を有したバックドア5が設けられている。そして、本実施形態の車両1は、ドア開口部3の幅方向端部位置において、そのバックドア5と車体2の間に介在される軸状の外形を有したドア装置10を備えている。
【0010】
<ドア装置>
詳述すると、図2及び図3に示すように、本実施形態のドア装置10は、同心状に配置された第1筒状部材21及び第2筒状部材22を備えている。また、このドア装置10は、これら第1筒状部材21及び第2筒状部材22の相対的な軸方向変位を許容する。そして、本実施形態のドア装置10は、これにより、その軸方向長さLが伸縮する構成となっている。
(【0011】以降は省略されています)
この特許をJ-PlatPat(特許庁公式サイト)で参照する
関連特許
株式会社アイシン
空気袋
5日前
株式会社アイシン
回転電機
1日前
株式会社アイシン
制御装置
1日前
株式会社アイシン
駆動装置
3日前
株式会社アイシン
車体構造
1日前
株式会社アイシン
温度調節器
5日前
株式会社アイシン
鋳ぐるみ品
5日前
株式会社アイシン
温度調節器
1日前
株式会社アイシン
運転支援装置
1日前
株式会社アイシン
マニホールド
3日前
株式会社アイシン
駐車支援装置
1日前
株式会社アイシン
振動発生装置
3日前
株式会社アイシン
運転支援装置
1日前
株式会社アイシン
開閉システム
2日前
株式会社アイシン
心拍検出装置
8日前
株式会社アイシン
駐車支援装置
8日前
株式会社アイシン
ポンプケース
8日前
株式会社アイシン
車両制御装置
1日前
株式会社アイシン
立体構造基板
5日前
株式会社アイシン
ロータリバルブ
5日前
株式会社アイシン
ロータリバルブ
5日前
株式会社アイシン
冷暖房システム
1日前
株式会社アイシン
バッテリ温調器
5日前
株式会社アイシン
車両用ドア装置
2日前
株式会社アイシン
車両用ドア装置
2日前
株式会社アイシン
回転角検出装置
2日前
株式会社アイシン
核磁気共鳴装置
9日前
株式会社アイシン
減衰接着剤組成物
1日前
株式会社アイシン
配達管理システム
2日前
株式会社アイシン
ショックアブソーバ
8日前
株式会社アイシン
アクチュエータ装置
2日前
株式会社アイシン
車両用ステップ装置
1日前
株式会社アイシン
立体構造プリント配線板
2日前
株式会社アイシン
回転電機用のロータの製造方法
1日前
株式会社アイシン
情報処理装置、および、情報処理方法
1日前
株式会社アイシン
半導体モジュール、及び、半導体装置
1日前
続きを見る
他の特許を見る