TOP
|
特許
|
意匠
|
商標
特許ウォッチ
Twitter
他の特許を見る
公開番号
2025143823
公報種別
公開特許公報(A)
公開日
2025-10-02
出願番号
2024043270
出願日
2024-03-19
発明の名称
立体構造プリント配線板
出願人
株式会社アイシン
代理人
弁理士法人R&C
主分類
H05K
1/14 20060101AFI20250925BHJP(他に分類されない電気技術)
要約
【課題】信頼性を損なうことなく、電子部品を実装可能な立体構造プリント配線板を提供する。
【解決手段】立体構造プリント配線板1は、電子部品11が実装された第1プリント配線板10と、電子部品23が実装された複数のプリント配線板部21と、複数のプリント配線板部21を接続し弾性変形可能な弾性変形部22とを有する第2プリント配線板20と、を備え、第1プリント配線板10及び第2プリント配線板20のうちの一方は、厚さ方向に貫通する複数の穴部12を有し、第1プリント配線板10及び第2プリント配線板20のうちの他方は、複数の穴部12の夫々に挿入される複数の挿入部24を有し、弾性変形部22が撓んだ状態で、且つ、複数の穴部12の夫々に複数の挿入部24の夫々が挿入された状態で、第1プリント配線板10と第2プリント配線板20とが互いに固定されている。
【選択図】図1
特許請求の範囲
【請求項1】
電子部品が実装された第1プリント配線板と、
電子部品が実装された複数のプリント配線板部と、複数の前記プリント配線板部を接続し弾性変形可能な弾性変形部とを有する第2プリント配線板と、を備え、
前記第1プリント配線板及び前記第2プリント配線板のうちの一方は、厚さ方向に貫通する複数の穴部を有し、
前記第1プリント配線板及び前記第2プリント配線板のうちの他方は、複数の前記穴部の夫々に挿入される複数の挿入部を有し、
前記弾性変形部が撓んだ状態で、且つ、複数の前記穴部の夫々に複数の前記挿入部の夫々が挿入された状態で、前記第1プリント配線板と前記第2プリント配線板とが互いに固定されている立体構造プリント配線板。
続きを表示(約 420 文字)
【請求項2】
前記穴部の縁部に前記挿入部が当接した状態で、前記第1プリント配線板のランドと前記第2プリント配線板のランドとが導電性材料で互いに接続されている請求項1に記載の立体構造プリント配線板。
【請求項3】
複数の前記プリント配線板部と前記弾性変形部はパターン配線で電気的接続しており、前記第1プリント配線板と前記第2プリント配線板とは、前記穴部に前記挿入部が挿入された状態における前記第2プリント配線板の側面視が、前記第1プリント配線板に設定された所定の軸に対して線対称となる状態で固定されている請求項1又は2に記載の立体構造プリント配線板。
【請求項4】
前記第1プリント配線板及び前記第2プリント配線板のうちの他方は、前記電子部品の実装面から側方に突出した突出部を有し、
前記突出部が前記穴部の表面と当接して位置決めされている請求項1又は2に記載の立体構造プリント配線板。
発明の詳細な説明
【技術分野】
【0001】
本発明は、電子部品を実装可能な立体構造プリント配線板に関する。
続きを表示(約 2,100 文字)
【背景技術】
【0002】
従来、電子部品を実装するためにプリント配線板が利用されている。このようなプリント配線板は、実装密度を高めることで、多くの電子部品を実装することが可能であるが、実装密度も信頼性や工程の観点から限度がある。そこで、より多くの電子部品を実装することが可能な技術が検討されてきた(例えば、特許文献1)。
【0003】
特許文献1には、銅箔部を有する一方のプリント配線板に、銅箔部を有する他方のプリント配線板を直接、半田付けを行って固定するプリント配線板の接続構造(以下「接続構造」とする)について記載されている。この接続構造では、一方のプリント配線板に、互いの中心線が一致しない複数の開口部が設けられ、これらの開口部に他方のプリント配線板に設けた複数の接続端子部を挿入して、一方のプリント配線板の銅箔部と他方のプリント配線板の銅箔部とを半田付けして固定している。
【先行技術文献】
【特許文献】
【0004】
実開昭61-157361号公報
【発明の概要】
【発明が解決しようとする課題】
【0005】
特許文献1に記載されるような接続構造では、上記のように一方のプリント配線板に設けられた互いの中心線が一致しない複数の開口部に、他方のプリント配線板に設けた複数の接続端子部を挿入して半田付けを行っているが、開口部に接続端子部を挿入する際に、他方のプリント配線板をねじる必要がある。しかしながら、他方のプリント配線板は、そもそもねじることが想定されていないので、プリント配線板に割れが生じたり、プリント配線板に形成した銅箔パターンが断線したりする可能性がある。また、他方のプリント配線板が一方のプリント配線板に対して垂直に立設した状態で設けられる。このため、例えば他方のプリント配線板が外部から力を受けた場合に、一方のプリント配線板と他方のプリント配線板とを半田付けを行った部分を支点として他方のプリント配線板が揺動し、半田部分が損傷する可能性がある。したがって、特許文献1に記載の接続構造では、実装する電子部品の数を増大することができるが、信頼性に課題がある。
【0006】
そこで、信頼性を損なうことなく、多くの電子部品を実装することが可能な立体構造プリント配線板が求められる。
【課題を解決するための手段】
【0007】
本発明に係る立体構造プリント配線板の特徴構成は、電子部品が実装された第1プリント配線板と、電子部品が実装された複数のプリント配線板部と、複数の前記プリント配線板部を接続し弾性変形可能な弾性変形部とを有する第2プリント配線板と、を備え、前記第1プリント配線板及び前記第2プリント配線板のうちの一方は、厚さ方向に貫通する複数の穴部を有し、前記第1プリント配線板及び前記第2プリント配線板のうちの他方は、複数の前記穴部の夫々に挿入される複数の挿入部を有し、前記弾性変形部が撓んだ状態で、且つ、複数の前記穴部の夫々に複数の前記挿入部の夫々が挿入された状態で、前記第1プリント配線板と前記第2プリント配線板とが互いに固定されている点にある。
【0008】
このような特徴構成とすれば、弾性変形部が撓んだ状態で、且つ、複数の穴部の夫々に複数の挿入部の夫々が挿入された状態で、第1プリント配線板と第2プリント配線板とが互いに固定されているため、弾性変形部を弾性変形させた際の反力で、第2プリント配線板を第1プリント配線板に支持することができる。したがって、第2プリント配線板を第1プリント配線板に支持させてから例えば半田付けを行うまでの間に、第1プリント配線板に対する第2プリント配線板の位置ずれを防止できる。また、上述した反力により、第1プリント配線板に対する第2プリント配線板の固定をより強固に行うことが可能となるので、第1プリント配線板から第2プリント配線板を離れ難くでき、信頼性を損なうことない。更に、第1プリント配線板に対して第2プリント配線板を設けることで、電子部品の実装面積を増大することができるので、多くの電子部品を実装することが可能となる。
【図面の簡単な説明】
【0009】
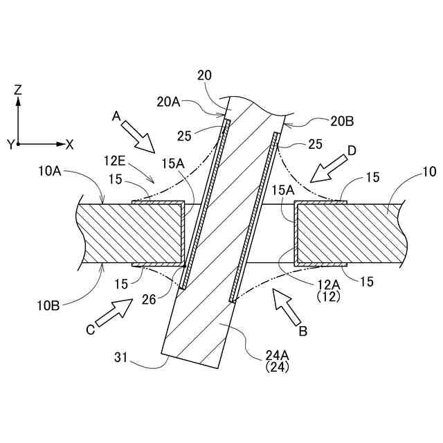
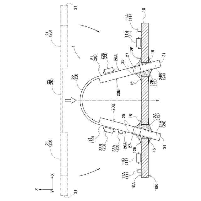
立体構造プリント配線板の側面図である。
穴部及び挿入部を拡大した図である。
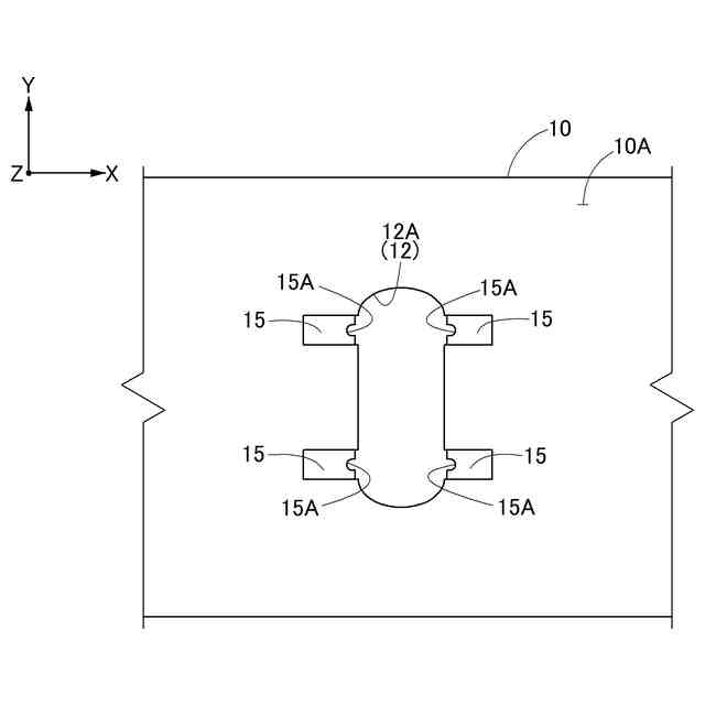
穴部を拡大した図である。
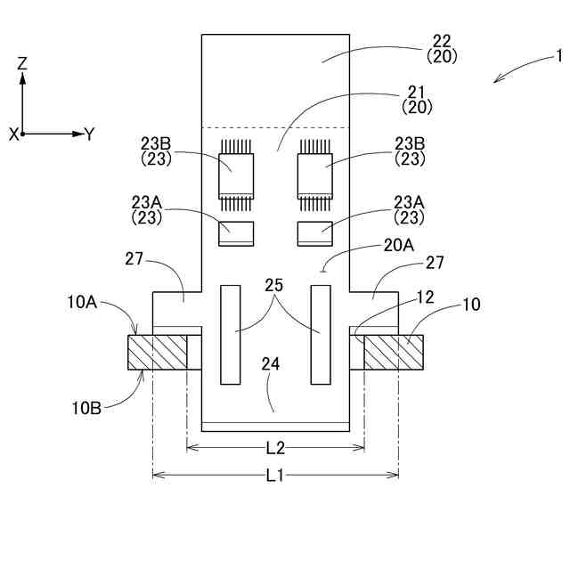
位置決め部を示す図である。
その他の実施形態における立体構造プリント配線板の側面図である。
【発明を実施するための形態】
【0010】
本発明に係る立体構造プリント配線板は、平板状のプリント配線板よりも多くの電子部品を実装することができるように構成されている。以下、本実施形態の立体構造プリント配線板1について説明する。ただし、立体構造プリント配線板1は、以下の実施形態に限定されることなく、その要旨を逸脱しない範囲内で種々の変形が可能である。
(【0011】以降は省略されています)
この特許をJ-PlatPat(特許庁公式サイト)で参照する
関連特許
株式会社アイシン
空気袋
8日前
株式会社アイシン
発電装置
1か月前
株式会社アイシン
駆動装置
6日前
株式会社アイシン
回転電機
4日前
株式会社アイシン
車体構造
4日前
株式会社アイシン
制御装置
4日前
株式会社アイシン
自律移動体
1か月前
株式会社アイシン
温度調節器
8日前
株式会社アイシン
鋳ぐるみ品
8日前
株式会社アイシン
コンデンサ
1か月前
株式会社アイシン
電動ポンプ
1か月前
株式会社アイシン
温度調節器
4日前
株式会社アイシン
温度調節器
18日前
株式会社アイシン
温度調節器
18日前
株式会社アイシン
ポンプケース
11日前
株式会社アイシン
乗員検知装置
19日前
株式会社アイシン
立体構造基板
8日前
株式会社アイシン
車両駆動装置
28日前
株式会社アイシン
心拍検出装置
11日前
株式会社アイシン
駐車支援装置
11日前
株式会社アイシン
物体検出装置
18日前
株式会社アイシン
排熱回収装置
28日前
株式会社アイシン
温度調節装置
1か月前
株式会社アイシン
車両下部構造
27日前
株式会社アイシン
マニホールド
6日前
株式会社アイシン
振動発生装置
6日前
株式会社アイシン
運転支援装置
28日前
株式会社アイシン
開閉システム
5日前
株式会社アイシン
冷却プレート
1か月前
株式会社アイシン
車両制御装置
4日前
株式会社アイシン
駐車支援装置
4日前
株式会社アイシン
動力伝達装置
1か月前
株式会社アイシン
直流回転電機
1か月前
株式会社アイシン
運転支援装置
4日前
株式会社アイシン
運転支援装置
4日前
株式会社アイシン
電力変換装置
1か月前
続きを見る
他の特許を見る