TOP
|
特許
|
意匠
|
商標
特許ウォッチ
Twitter
他の特許を見る
10個以上の画像は省略されています。
公開番号
2025145167
公報種別
公開特許公報(A)
公開日
2025-10-03
出願番号
2024045209
出願日
2024-03-21
発明の名称
回転電機用のロータの製造方法
出願人
株式会社アイシン
代理人
個人
,
個人
,
個人
主分類
H02K
15/021 20250101AFI20250926BHJP(電力の発電,変換,配電)
要約
【課題】ロータにおいて、軸方向範囲の一部で締め代が局所的に所期の締め代よりも有意に大きくなることを防止しつつ、嵌合領域の軸方向範囲にわたって所期の締め代を確保する。
【解決手段】回転電機用のロータの製造方法であって、ロータコア用のコア部材及びロータシャフト用の中空のシャフト部材を含むワークを支持し、コア部材の内径側にシャフト部材が配置されるセット状態を形成する配置工程と、セット状態においてワークに力を付与することで、コア部材とシャフト部材とを結合させる結合工程とを含み、結合工程は、シャフト部材の中空内部から径方向外側に径方向の力を付与する押圧工程を含み、押圧工程は、シャフト部材における複数の軸方向範囲に対して別々に実行され、かつ、複数の軸方向範囲は、軸方向に距離をあけて隣り合う2つの軸方向範囲を含む、製造方法が開示される。
【選択図】図17
特許請求の範囲
【請求項1】
回転電機用のロータの製造方法であって、
ロータコア用のコア部材及びロータシャフト用の中空のシャフト部材を含むワークを支持し、前記コア部材の内径側に前記シャフト部材が配置されるセット状態を形成する配置工程と、
前記セット状態において前記ワークに力を付与することで、前記コア部材と前記シャフト部材とを結合させる結合工程とを含み、
前記結合工程は、前記シャフト部材の中空内部から径方向外側に径方向の力を付与する押圧工程を含み、
前記押圧工程は、前記シャフト部材における複数の軸方向範囲に対して別々に実行され、かつ、前記複数の軸方向範囲は、軸方向に距離をあけて隣り合う2つの軸方向範囲を含む、製造方法。
続きを表示(約 270 文字)
【請求項2】
前記複数の軸方向範囲は、軸方向に隣り合う軸方向範囲同士が軸方向に離れている、請求項1に記載の製造方法。
【請求項3】
前記押圧工程は、径方向に変位可能な押圧部材を用いて実行され、
前記押圧部材は、前記複数の軸方向範囲のそれぞれに対応する軸方向の寸法の押圧面を有する、請求項1又は2に記載の製造方法。
【請求項4】
前記結合工程は、前記押圧工程ごとに、前記押圧部材を軸方向に、前記押圧面の軸方向の寸法よりも長い距離だけ移動させる工程を更に含む、請求項3に記載の製造方法。
発明の詳細な説明
【技術分野】
【0001】
本開示は、回転電機用のロータの製造方法に関する。
続きを表示(約 2,300 文字)
【背景技術】
【0002】
中空のロータシャフトの中空内部に挿入したウレタン製のマンドレルをダイスとパッドとで軸方向に圧縮することで、ロータシャフトをロータコアのシャフト孔に嵌合する技術が知られている(例えば特許文献1参照)。
【先行技術文献】
【特許文献】
【0003】
特開2019-106797号公報
【発明の概要】
【発明が解決しようとする課題】
【0004】
上記のような従来技術では、ウレタン製のマンドレルを利用し、軸方向の両端からの圧縮力によりマンドレルの拡径量を制御する構成であるので、ロータコアとロータシャフトの間の嵌合領域の軸方向範囲が比較的長くなると、問題が生じる。すなわち、マンドレルの軸長が長くなり、軸方向全体にわたって所期の締め代を確保できなくなるという問題が生じる。なお、本明細書において、締め代とは、ロータコアとロータシャフトの間の径方向の締め代を指す。
【0005】
これに対して、嵌合領域の軸方向範囲を複数の範囲に分けて、分割範囲ごとに締め代を発生させる方法では、上記のような問題を解消できる。しかしながら、その反面、分割領域の設定態様によっては、締め代が、軸方向範囲の一部で局所的に、所期の締め代よりも有意に大きくなるおそれがある。
【0006】
そこで、1つの側面では、本開示は、ロータにおいて、軸方向範囲の一部で締め代が局所的に所期の締め代よりも有意に大きくなることを防止しつつ、嵌合領域の軸方向範囲にわたって所期の締め代を確保することを目的とする。
【課題を解決するための手段】
【0007】
1つの側面では、回転電機用のロータの製造方法であって、
ロータコア用のコア部材及びロータシャフト用の中空のシャフト部材を含むワークを支持し、前記コア部材の内径側に前記シャフト部材が配置されるセット状態を形成する配置工程と、
前記セット状態において前記ワークに力を付与することで、前記コア部材と前記シャフト部材とを結合させる結合工程とを含み、
前記結合工程は、前記シャフト部材の中空内部から径方向外側に径方向の力を付与する押圧工程を含み、
前記押圧工程は、前記シャフト部材における複数の軸方向範囲に対して別々に実行され、かつ、前記複数の軸方向範囲は、軸方向に距離をあけて隣り合う2つの軸方向範囲を含む、製造方法が提供される。
【発明の効果】
【0008】
1つの側面では、本開示によれば、ロータにおいて、軸方向範囲の一部で締め代が局所的に所期の締め代よりも有意に大きくなることを防止しつつ、嵌合領域の軸方向範囲にわたって所期の締め代を確保することが可能となる。
【図面の簡単な説明】
【0009】
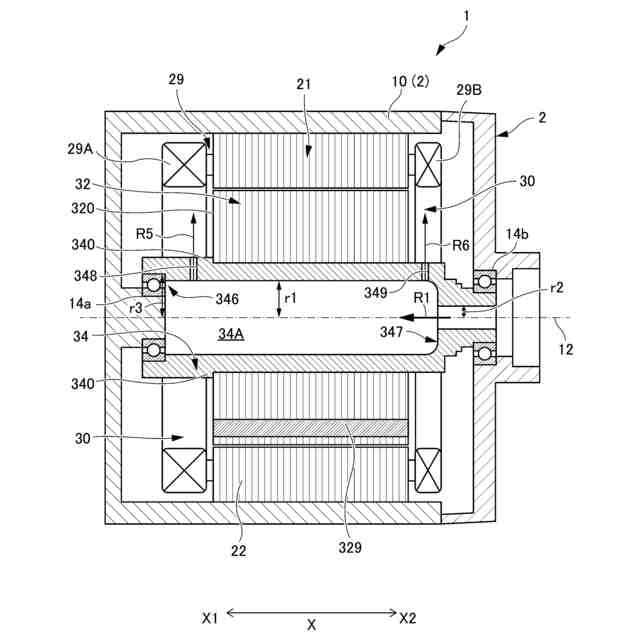
一実施例によるモータの断面構造を概略的に示す断面図である。
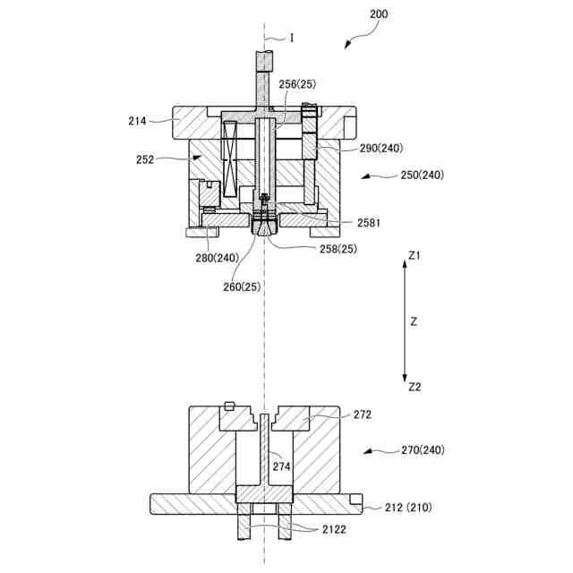
ロータの製造装置を概略的に示す断面図である。
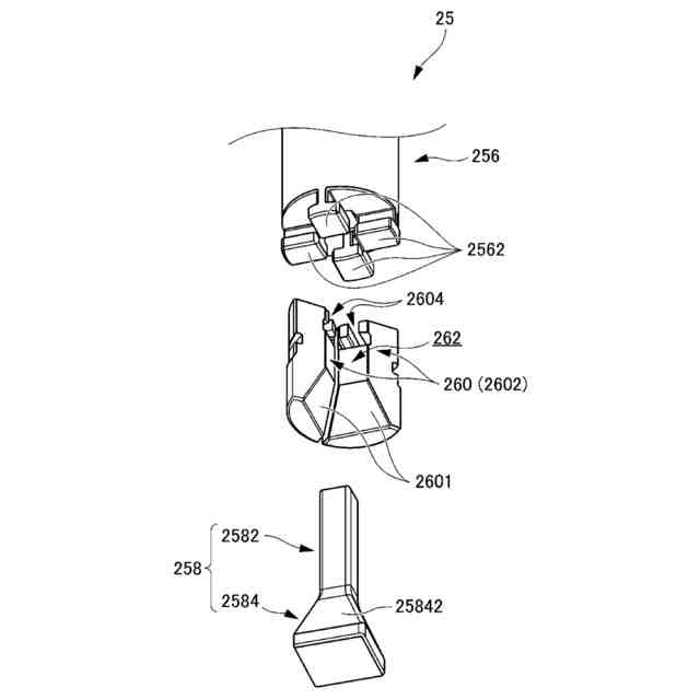
下方から視た加圧成形機構の分解斜視図である。
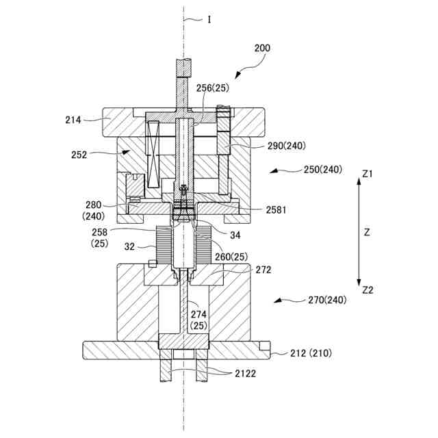
基準軸を通る面で切断した加圧成形機構の断面斜視図である。
下方から視た加圧成形機構の斜視図である。
本製造方法の流れを示す概略フローチャートである。
図6に示すいくつかの工程における各状態を概略的に示す断面図である。
図6に示すいくつかの工程における各状態を概略的に示す断面図である。
図6に示すいくつかの工程における各状態を概略的に示す断面図である。
図6に示すいくつかの工程における各状態を概略的に示す断面図である。
図6に示すいくつかの工程におけるロータシャフト及びロータコアに付与される荷重の状態を、更に概略的に示す断面図である。
図6に示すいくつかの工程における各状態を概略的に示す断面図である。
図6に示すいくつかの工程における各状態を概略的に示す断面図である。
図13のQ1部の拡大図である。
成形加圧工程におけるカムパンチの状態を上面視で示す説明図である。
図6に示すいくつかの工程におけるロータシャフト及びロータコアに付与される荷重の状態を、更に概略的に示す断面図である。
図6に示すいくつかの工程における各状態を概略的に示す断面図である。
図6に示すいくつかの工程におけるロータシャフト及びロータコアに付与される荷重の状態を、更に概略的に示す断面図である。
図6に示すいくつかの工程におけるロータシャフト及びロータコアに付与される荷重の状態を、更に概略的に示す断面図である。
嵌合領域の軸方向範囲を、複数の成形加圧領域に分ける構成において、生じうる不都合の説明図である。
第2の比較例において生じる問題点の説明図である。
本実施例による効果の説明図である。
第2の比較例による軸方向位置に応じた締め代の変化態様を模式的に示すグラフである。
本製造方法(本実施例)による軸方向位置に応じた締め代の変化態様を模式的に示すグラフである。
【発明を実施するための形態】
【0010】
以下、添付図面を参照しながら各実施例について詳細に説明する。なお、図面の寸法比率はあくまでも一例であり、これに限定されるものではなく、また、図面内の形状等は、説明の都合上、部分的に誇張している場合がある。また、図面では、見易さのために、複数存在する同一属性の部位には、一部のみしか参照符号が付されていない場合がある。
(【0011】以降は省略されています)
この特許をJ-PlatPat(特許庁公式サイト)で参照する
関連特許
株式会社アイシン
ロータ
3日前
株式会社アイシン
ステータ
3日前
株式会社アイシン
保護装置
4日前
株式会社アイシン
検知装置
4日前
株式会社アイシン
駆動装置
4日前
株式会社アイシン
制御装置
4日前
株式会社アイシン
制御装置
4日前
株式会社アイシン
制御装置
4日前
株式会社アイシン
ステータ
3日前
株式会社アイシン
ステータ
3日前
株式会社アイシン
ステータ
3日前
株式会社アイシン
レーダ装置
4日前
株式会社アイシン
牽引支援装置
3日前
株式会社アイシン
折り畳み装置
3日前
株式会社アイシン
走行制御装置
3日前
株式会社アイシン
乗員検知装置
4日前
株式会社アイシン
電解システム
4日前
株式会社アイシン
出庫支援装置
4日前
株式会社アイシン
ガス検出装置
3日前
株式会社アイシン
折り畳み装置
3日前
株式会社アイシン
環境認識装置
3日前
株式会社アイシン
折り畳み装置
3日前
株式会社アイシン
車両制御装置
4日前
株式会社アイシン
折り畳み装置
3日前
株式会社アイシン
車両制御装置
3日前
株式会社アイシン
運転支援装置
3日前
株式会社アイシン
運転支援装置
3日前
株式会社アイシン
牽引支援装置
3日前
株式会社アイシン
運転支援装置
3日前
株式会社アイシン
ドア支持装置
3日前
株式会社アイシン
車両用駆動装置
3日前
株式会社アイシン
車両用制御装置
4日前
株式会社アイシン
車両用ドア装置
3日前
株式会社アイシン
車両用ドア装置
3日前
株式会社アイシン
車両用駆動装置
4日前
株式会社アイシン
車両用制御装置
4日前
続きを見る
他の特許を見る