TOP
|
特許
|
意匠
|
商標
特許ウォッチ
Twitter
他の特許を見る
10個以上の画像は省略されています。
公開番号
2025146251
公報種別
公開特許公報(A)
公開日
2025-10-03
出願番号
2024046925
出願日
2024-03-22
発明の名称
車両用ステップ装置
出願人
株式会社アイシン
代理人
個人
,
個人
主分類
B60R
3/02 20060101AFI20250926BHJP(車両一般)
要約
【課題】乗降し易い車両用ステップ装置を提供する。
【解決手段】車両用ステップ装置は、車両に取り付けられる。車両用ステップ装置は、車両に対して移動可能に設けられるステップ11と、ステップ11に設けられるステップ側接触部40と、車両に設けられてステップ側接触部40と接触可能に構成される車両側接触部50と、を備える。ステップ11が車両から展開位置に移動することによって、車両側接触部50の少なくとも一部がステップ側接触部40の下に位置するように、平面視で、ステップ側接触部40と車両側接触部50とが重なる。
【選択図】図6
特許請求の範囲
【請求項1】
車両に取り付けられる車両用ステップ装置であって、
前記車両に対して移動可能に設けられるステップと、
前記ステップに設けられるステップ側接触部と、
前記車両に設けられて前記ステップ側接触部と接触可能に構成される車両側接触部と、を備え、
前記ステップが前記車両から展開位置に移動することによって、前記車両側接触部の少なくとも一部が前記ステップ側接触部の下に位置するように、平面視で、前記ステップ側接触部と前記車両側接触部とが重なる、
車両用ステップ装置。
続きを表示(約 880 文字)
【請求項2】
前記ステップ側接触部は、前記ステップにおいて車両幅方向における車両側に設けられる、
請求項1に記載の車両用ステップ装置。
【請求項3】
前記車両と前記ステップとに接続され、かつ、平面視で前記車両に対して車両幅方向に前記ステップを移動させる2個のアームを備え、
前記ステップは、前記アームによって支持される2個のステップ支持部を有し、
前記ステップ側接触部は、前記ステップにおいて車両前後方向で2個の前記ステップ支持部の間の位置に設けられ、
前記ステップが展開位置に位置した状態において、前記車両前後方向において2個の前記ステップ支持部の間の位置において、平面視で、前記ステップ側接触部と前記車両側接触部とが重なる、
請求項1に記載の車両用ステップ装置。
【請求項4】
前記ステップ側接触部は、前記ステップにおいて前記車両幅方向における車両側に設けられ、
2個の前記ステップ支持部それぞれは、前記ステップにおいて前記ステップ側接触部よりも前記車両から前記車両幅方向の遠方側にあり、かつ、前記ステップ側接触部から等しい距離の位置に設けられる、
請求項3に記載の車両用ステップ装置。
【請求項5】
前記ステップ側接触部は、前記ステップが展開位置に位置した状態において、前記車両側接触部が接触する第1接触可能部を有し、
前記車両側接触部は、前記ステップが展開位置に位置した状態において、前記ステップ側接触部の前記第1接触可能部の下に位置する第1接触部を有し、
さらに、
前記車両側接触部は、前記ステップが展開位置に位置した状態において、前記ステップ側接触部の前記第1接触可能部の上に位置する第2接触部を有し、または、
前記ステップ側接触部は、前記ステップが展開位置に位置した状態において、前記車両側接触部の前記第1接触部の下に位置する第2接触可能部を有する、
請求項1に記載の車両用ステップ装置。
発明の詳細な説明
【技術分野】
【0001】
本発明は、車両用ステップ装置に関する。
続きを表示(約 2,200 文字)
【背景技術】
【0002】
車両に設けられる車両用ステップ装置が知られている。特許文献1に記載の車両用ステップ装置は、ステップと、ステップを車両ボディに対して支持する支持機構とを備える。ステップ板は、支持機構の動作によって、格納位置から展開位置(同文献では、使用位置)に移動する。
【先行技術文献】
【特許文献】
【0003】
特開2020-82916号公報
【発明の概要】
【発明が解決しようとする課題】
【0004】
ところで、ステップは、支持機構によって支持されている部分を支点として傾く場合がある。例えば、車両幅方向においてステップの外側の端縁に荷重が加わると、ステップは、車両前後方向に沿う線を中心軸として傾く。ステップが大きく傾くと、足元が不安定となるため、乗降し難くなる。
【課題を解決するための手段】
【0005】
上記課題を解決する車両用ステップ装置は、車両に取り付けられる車両用ステップ装置であって、前記車両に対して移動可能に設けられるステップと、前記ステップに設けられるステップ側接触部と、前記車両に設けられて前記ステップ側接触部と接触可能に構成される車両側接触部と、を備え、前記ステップが前記車両から展開位置に移動することによって、前記車両側接触部の少なくとも一部が前記ステップ側接触部の下に位置するように、平面視で、前記ステップ側接触部と前記車両側接触部とが重なる。
【発明の効果】
【0006】
車両用ステップ装置は、ステップが不安定になり難いため、乗降し易い。
【図面の簡単な説明】
【0007】
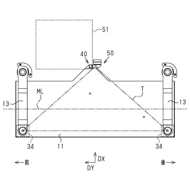
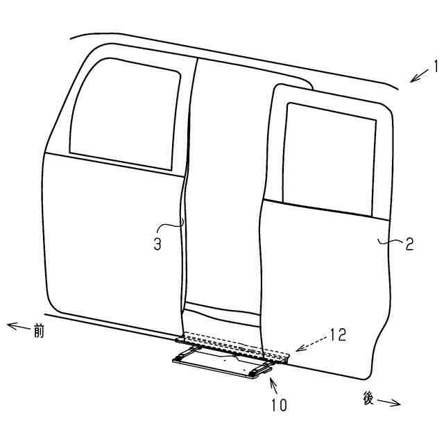
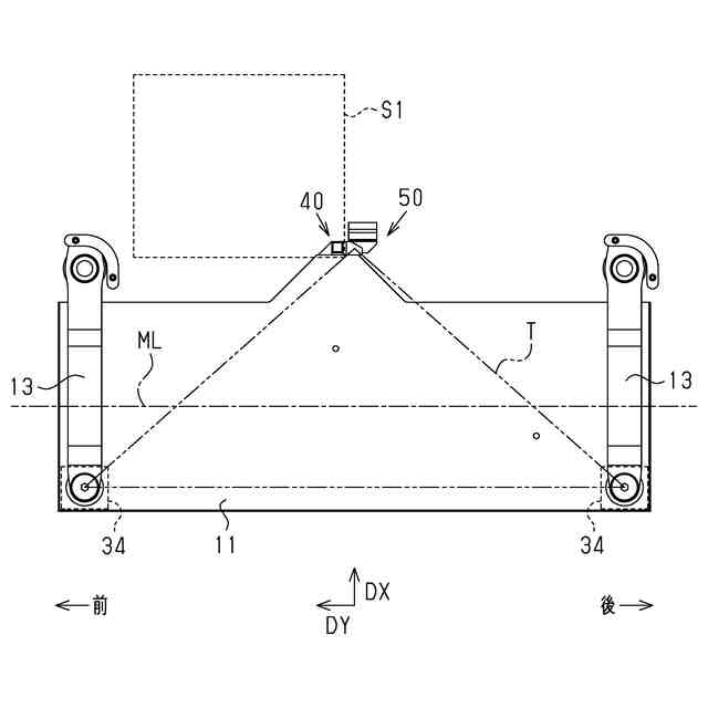
図1は、車両用ステップ装置を備える車両の部分模式図である。
図2は、ステップが格納位置に位置する状態の車両用ステップ装置の斜視図である。
図3は、ステップが展開位置に位置する状態の車両用ステップ装置の斜視図である。
図4は、図1の車両用ステップ装置について、アームおよびフレームの斜視図である。
図5は、図1の車両用ステップ装置について、下から見たブラケットの斜視図である。
図6は、図1の車両用ステップ装置について、アームおよびステップの平面図である。
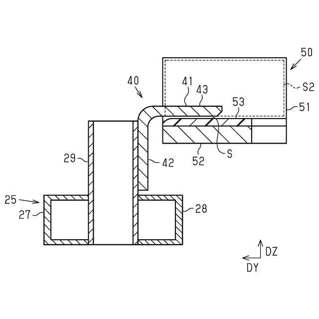
図7は、図1の車両用ステップ装置について、ステップ側接触部および車両側接触部の平面図である。
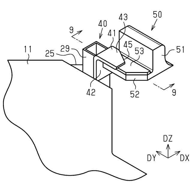
図8は、図1の車両用ステップ装置について、ステップ側接触部および車両側接触部の斜視図である。
図9は、図8の9-9線に沿うステップ側接触部および車両側接触部の断面図である。
図10は、図1の車両用ステップ装置の第1変形例について、ステップ、ステップ側接触部および車両側接触部の平面図である。
図11は、図1の車両用ステップ装置の第2変形例について、ステップ側接触部および車両側接触部の斜視図である。
図12は、図1の車両用ステップ装置の第3変形例について、ステップ側接触部および車両側接触部の斜視図である。
図13は、図1の車両用ステップ装置の第3変形例について、ステップ側接触部および車両側接触部の斜視図である。
【発明を実施するための形態】
【0008】
図1~図9を参照して、以下、車両用ステップ装置10について説明する。
以下の説明では、車両用ステップ装置10が車両1に取り付けられた状態のことを「車両用ステップ装置10の取付状態」と呼ぶ。車両用ステップ装置10は、車両用ステップ装置10の取付状態で、方向が定義される。具体的には、車両用ステップ装置10の前後方向は、車両用ステップ装置10の取付状態において、車両1の車両前後方向DYに一致する。車両用ステップ装置10の幅方向は、車両用ステップ装置10の取付状態において、車両幅方向DXに一致する。車両用ステップ装置10の上下方向は、車両用ステップ装置10の取付状態において、車両上下方向DZに一致する。本実施形態では、車両用ステップ装置10の構成について方向を用いて説明する場合、車両前後方向DY、車両幅方向DXおよび車両上下方向DZによって説明される。また、後述において、車両幅方向DXの内側は、車両幅方向DXにおいて対象物よりも車両中心寄りであることを意味する。
【0009】
本実施形態において、車両1は、車両用ステップ装置10を含まない。車両1は、少なくとも車体を含む。車体は、少なくともロッカーを有する。ロッカーは、車両1の底部における側部の骨格の一部を構成する。
【0010】
図1に示されるように、車両用ステップ装置10は、車両1に取り付けられる。車両用ステップ装置10は、車両1への乗降を補助する。車両用ステップ装置10は、車両乗降用の車両ドア2によって閉じられる車両1の開口部3の下に設けられる。車両用ステップ装置10のステップ11は、車両1への荷物の出し入れの際に、脚を載せる補助台として用いられてもよい。例えば、車両用ステップ装置10は、バックドアによって閉じられる車両1の開口部3の下に設けられてもよい。
(【0011】以降は省略されています)
この特許をJ-PlatPat(特許庁公式サイト)で参照する
関連特許
株式会社アイシン
空気袋
6日前
株式会社アイシン
駆動装置
4日前
株式会社アイシン
回転電機
2日前
株式会社アイシン
車体構造
2日前
株式会社アイシン
制御装置
2日前
株式会社アイシン
温度調節器
16日前
株式会社アイシン
温度調節器
6日前
株式会社アイシン
温度調節器
2日前
株式会社アイシン
鋳ぐるみ品
6日前
株式会社アイシン
開閉システム
3日前
株式会社アイシン
立体構造基板
6日前
株式会社アイシン
運転支援装置
2日前
株式会社アイシン
マニホールド
4日前
株式会社アイシン
運転支援装置
2日前
株式会社アイシン
振動発生装置
4日前
株式会社アイシン
車両制御装置
2日前
株式会社アイシン
心拍検出装置
9日前
株式会社アイシン
駐車支援装置
9日前
株式会社アイシン
ポンプケース
9日前
株式会社アイシン
駐車支援装置
2日前
株式会社アイシン
冷暖房システム
2日前
株式会社アイシン
核磁気共鳴装置
10日前
株式会社アイシン
回転角検出装置
3日前
株式会社アイシン
バッテリ温調器
6日前
株式会社アイシン
車両用ドア装置
3日前
株式会社アイシン
ロータリバルブ
6日前
株式会社アイシン
ロータリバルブ
6日前
株式会社アイシン
車両用ドア装置
3日前
株式会社アイシン
減衰接着剤組成物
2日前
株式会社アイシン
配達管理システム
3日前
株式会社アイシン
ショックアブソーバ
9日前
株式会社アイシン
車両用ステップ装置
2日前
株式会社アイシン
アクチュエータ装置
3日前
株式会社アイシン
立体構造プリント配線板
3日前
株式会社アイシン
回転電機用のロータの製造方法
2日前
株式会社アイシン
情報処理装置、および、情報処理方法
2日前
続きを見る
他の特許を見る