TOP
|
特許
|
意匠
|
商標
特許ウォッチ
Twitter
他の特許を見る
公開番号
2025143945
公報種別
公開特許公報(A)
公開日
2025-10-02
出願番号
2024043474
出願日
2024-03-19
発明の名称
配達管理システム
出願人
株式会社アイシン
代理人
Knowledge Partners弁理士法人
主分類
G06Q
10/08 20240101AFI20250925BHJP(計算;計数)
要約
【課題】受取者が配達物を受け取る際の自由度をより高めるシステムを提供する。
【解決手段】配達物の再配達依頼を受け付ける受付部と、前記再配達依頼の対象配達物の配達を担当する配達車両の配達計画で、複数の配達先を経由する前記配達計画に基づいて、前記配達車両による再配達が可能な再配達エリアを、各再配達エリアへの再配達が可能な再配達時間帯に対応付けて表示させる表示処理部と、を備える。
【選択図】図1
特許請求の範囲
【請求項1】
配達物の再配達依頼を受け付ける受付部と、
前記再配達依頼の対象配達物の配達を担当する配達車両の配達計画で、複数の配達先を経由する前記配達計画に基づいて、前記配達車両による再配達が可能な再配達エリアを、各再配達エリアへの再配達が可能な再配達時間帯に対応付けて表示させる表示処理部と、
を備える、配達管理システム。
続きを表示(約 490 文字)
【請求項2】
前記再配達依頼は、受付日における再配達の依頼である、請求項1に記載の配達管理システム。
【請求項3】
前記表示処理部は、さらに、前記再配達依頼を受け付けた時点における前記配達車両の位置に基づいて、前記再配達エリアを、前記再配達時間帯に対応付けて表示させる、請求項1に記載の配達管理システム。
【請求項4】
前記表示処理部は、ユーザにより、前記再配達エリア内の所定の位置が再配達先として指定された場合に、指定された前記再配達先への再配達が可能な再配達時間帯を表示させる、請求項1に記載の配達管理システム。
【請求項5】
前記表示処理部は、ユーザにより、前記再配達エリアへの再配達希望時間帯の一部の時間帯が指定された場合に、指定された前記一部の時間帯において再配達が可能な、前記再配達エリア内の部分エリアを表示させる、請求項1に記載の配達管理システム。
【請求項6】
前記受付部は、前記配達計画における最終配達先への到達時刻よりも前の時間帯に、前記再配達依頼を受け付ける、請求項1に記載の配達管理システム。
発明の詳細な説明
【技術分野】
【0001】
本発明は、配達管理システムに関する。
続きを表示(約 1,600 文字)
【背景技術】
【0002】
従来、配達物の配達先において受取者が不在の場合には、再配達が行われている。再配達に関し、特許文献1には、配送予定時刻と、配送順番とを配送受取人のユーザ端末と、配送担当者端末とに、出力する技術が開示されている。当該技術においては、再配達において、配送順番を変更しなくてもよい場合には、再配達依頼に係る配送先への配送を配送順番に組み込むことができる。
【先行技術文献】
【特許文献】
【0003】
特開2021-9501号公報
【発明の概要】
【発明が解決しようとする課題】
【0004】
配達物の受取者は、再配達にかかる配達物を、配達物の発送元において指定された配達先以外で受け取りたい場合がある。また、受取時間を優先し、その時間帯に受け取れる場所を受け取り場所としたい、というケースも想定される。
【0005】
本発明は、上記課題に鑑みてなされたものであって、受取者が配達物を受け取る際の自由度をより高めるシステムを提供することを目的とする。
【課題を解決するための手段】
【0006】
上記の目的を達成するため、配達管理システムは、配達物の再配達依頼を受け付ける受付部と、前記再配達依頼の対象配達物の配達を担当する配達車両の配達計画で、複数の配達先を経由する前記配達計画に基づいて、前記配達車両による再配達が可能な再配達エリアを、各再配達エリアへの再配達が可能な再配達時間帯に対応付けて表示させる表示処理部と、を備える。
【0007】
すなわち、配達管理システムは、再配達が可能な再配達エリアを、各再配達エリアへの再配達が可能な再配達時間に対応付けて表示させる。これにより、受取者は発送時に指定された配達先だけでなく、指定された配達先以外の場所における再配達時間帯を確認することができる。すなわち、受取者が配達物を受け取る際の自由度をより高めることができる。
【図面の簡単な説明】
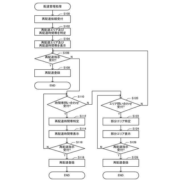
【0008】
配達システムの構成を示すブロック図である。
配達計画の一例を示す図である。
再配達エリア表示画面の一例を示す図である。
配達管理処理を示すフローチャートである。
時間帯問い合わせに係る表示例を示す図である。
エリア問い合わせに係る表示例を示す図である。
【発明を実施するための形態】
【0009】
ここでは、下記の順序に従って本発明の実施の形態について説明する。
(1)配達システムの構成:
(1-1)配達管理システムの構成:
(1-2)受取者端末の構成:
(1-3)配達者端末の構成:
(2)配達管理処理:
(3)付記:
【0010】
(1)配達システムの構成:
図1は、実施形態に係る配達システム1の全体構成を示す図である。配達システム1は、複数の配達車両それぞれによる、配達物の再配達を管理するシステムである。配達システム1は、複数の配達車両それぞれによる配達や再配達を管理する配達管理システム10と、配達物の受取者が所持する受取者端末20と、配達車両を運転する配達者が所持する配達者端末30と、を備えている。なお、図1においては、受取者端末20及び配達者端末30を1つのみ示しているが、実際には、配達システム1は、複数の受取者端末20と、複数の配達者端末30と、を備える。配達管理システム10、受取者端末20及び配達者端末30は、ネットワークNを介して通信可能に接続されている。本実施形態においては、配達物の受取者が、配達物の再配達を指定する場合の処理について説明する。
(【0011】以降は省略されています)
この特許をJ-PlatPat(特許庁公式サイト)で参照する
関連特許
株式会社アイシン
空気袋
6日前
株式会社アイシン
駆動装置
4日前
株式会社アイシン
回転電機
2日前
株式会社アイシン
車体構造
2日前
株式会社アイシン
制御装置
2日前
株式会社アイシン
温度調節器
2日前
株式会社アイシン
鋳ぐるみ品
6日前
株式会社アイシン
温度調節器
6日前
株式会社アイシン
温度調節器
16日前
株式会社アイシン
温度調節器
16日前
株式会社アイシン
物体検出装置
16日前
株式会社アイシン
運転支援装置
2日前
株式会社アイシン
開閉システム
3日前
株式会社アイシン
振動発生装置
4日前
株式会社アイシン
マニホールド
4日前
株式会社アイシン
駐車支援装置
9日前
株式会社アイシン
運転支援装置
2日前
株式会社アイシン
ポンプケース
9日前
株式会社アイシン
心拍検出装置
9日前
株式会社アイシン
立体構造基板
6日前
株式会社アイシン
乗員検知装置
17日前
株式会社アイシン
車両下部構造
25日前
株式会社アイシン
駐車支援装置
2日前
株式会社アイシン
車両制御装置
2日前
株式会社アイシン
核磁気共鳴装置
10日前
株式会社アイシン
バッテリ温調器
6日前
株式会社アイシン
ロータリバルブ
6日前
株式会社アイシン
車両用ドア装置
3日前
株式会社アイシン
ドアロック装置
16日前
株式会社アイシン
回転角検出装置
3日前
株式会社アイシン
冷暖房システム
2日前
株式会社アイシン
車両用ドア装置
3日前
株式会社アイシン
ロータリバルブ
6日前
株式会社アイシン
情報処理システム
25日前
株式会社アイシン
配達管理システム
3日前
株式会社アイシン
状態推定システム
16日前
続きを見る
他の特許を見る