TOP
|
特許
|
意匠
|
商標
特許ウォッチ
Twitter
他の特許を見る
公開番号
2025147671
公報種別
公開特許公報(A)
公開日
2025-10-07
出願番号
2024048030
出願日
2024-03-25
発明の名称
巻線界磁式モータ
出願人
株式会社アイシン
代理人
Knowledge Partners弁理士法人
主分類
H02K
5/15 20060101AFI20250930BHJP(電力の発電,変換,配電)
要約
【課題】複雑な形状のベアリングを用いることなくロータシャフトをモータケースに軸支することが可能な技術の提供。
【解決手段】モータケースに固定され、通電により磁界を発生するステータと、界磁コイルが巻回されたロータコアと、前記ロータコアが組付けられるロータシャフトと、前記ロータシャフトに組付けられ、導電部材にて前記界磁コイルと電気的に接続した給電装置と、を含み、前記ステータの内径側に配置されて前記ステータに対して相対回転可能なロータと、を含む巻線界磁式モータであって、前記ロータシャフトは、前記ロータシャフトの外周に設けられた軸支スリーブにてベアリングを介して前記モータケースに軸支され、前記軸支スリーブは、内径側に少なくとも前記ロータシャフトと前記導電部材とを収納し、軸方向において前記ベアリングよりも前記給電装置側に、前記軸支スリーブの外周面と前記モータケースとの間の隙間を閉じるシール部材が配置される、巻線界磁式モータを構成する。
【選択図】図1
特許請求の範囲
【請求項1】
モータケースに固定され、通電により磁界を発生するステータと、
界磁コイルが巻回されたロータコアと、前記ロータコアが組付けられるロータシャフトと、前記ロータシャフトに組付けられ、導電部材にて前記界磁コイルと電気的に接続した給電装置と、を含み、前記ステータの内径側に配置されて前記ステータに対して相対回転可能なロータと、
を含む巻線界磁式モータであって、
前記ロータシャフトは、前記ロータシャフトの外周に設けられた軸支スリーブにてベアリングを介して前記モータケースに軸支され、
前記軸支スリーブは、内径側に少なくとも前記ロータシャフトと前記導電部材とを収納し、
軸方向において前記ベアリングよりも前記給電装置側に、前記軸支スリーブの外周面と前記モータケースとの間の隙間を閉じるシール部材が配置される、
巻線界磁式モータ。
続きを表示(約 290 文字)
【請求項2】
前記軸支スリーブは、前記ロータシャフトの回転軸と同軸に配置される円筒形の部位を有し、
前記外周面は、前記円筒形の径方向外側の面である、
請求項1に記載の巻線界磁式モータ。
【請求項3】
前記円筒形の部位の前記外周面は、軸方向の前記給電装置側の端部において面取りされている、
請求項2に記載の巻線界磁式モータ。
【請求項4】
前記ロータシャフトは前記軸支スリーブの内周面に圧入された圧入部を有し、
前記圧入部の外径側に前記ベアリングが存在する、
請求項1または請求項2に記載の巻線界磁式モータ。
発明の詳細な説明
【技術分野】
【0001】
本発明は、巻線界磁式モータに関する。
続きを表示(約 2,000 文字)
【背景技術】
【0002】
従来、給電装置を用いてロータコイルに給電し、ロータコイルによって磁界を発生させることによって駆動される巻線界磁式モータが知られている。巻線界磁式モータにおいては、給電装置を用いてコイルに対して電力を供給する必要がある一方で、コイルを含むロータ等を冷媒によって冷却する必要がある。このため、冷媒が存在する区画と、給電装置が存在する区画とがシールによって分けられている。例えば、特許文献1においては、整流子20およびブラシ25が含まれるドライ区画と冷媒による冷却が行われるウェット区画がシール60によって分けられる構成が開示されている。
【先行技術文献】
【特許文献】
【0003】
仏国特許出願公開第3114926号明細書
【発明の概要】
【発明が解決しようとする課題】
【0004】
従来の技術においては、ドライ区画とウェット区画とを分けるために、複雑な構成のベアリングが用いられており、ベアリングの耐久性を高めることが困難であった。具体的には、従来の技術におけるベアリング30のインナーリング(インナーレース)32は、アウターリング(アウターレース)31と比較して軸方向に長く、シール60と接する位置まで達している。このため、インナーリング32の軸方向の長さがアウターリング31と同等である構成と比較して、回転に伴ってシャフト10や整流子20からインナーリング32に遠心力が作用した場合にインナーリング32が変形する余地が大きい。インナーリング32が変形すると、ボール33を介したベアリング30の動作が適正な動作ではなくなり、ベアリング30の耐久性が低下する可能性が高くなる。
【0005】
本発明は、上記課題に鑑みてなされたもので、複雑な形状のベアリングを用いることなくロータシャフトをモータケースに軸支することが可能な技術の提供を目的とする。
【課題を解決するための手段】
【0006】
上記の目的を達成するため、巻線界磁式モータは、モータケースに固定され、通電により磁界を発生するステータと、界磁コイルが巻回されたロータコアと、前記ロータコアが組付けられるロータシャフトと、前記ロータシャフトに組付けられ、導電部材にて前記界磁コイルと電気的に接続した給電装置と、を含み、前記ステータの内径側に配置されて前記ステータに対して相対回転可能なロータと、を含む巻線界磁式モータであって、前記ロータシャフトは、前記ロータシャフトの外周に設けられた軸支スリーブにてベアリングを介して前記モータケースに軸支され、前記軸支スリーブは、内径側に少なくとも前記ロータシャフトと前記導電部材とを収納し、軸方向において前記ベアリングよりも前記給電装置側に、前記軸支スリーブの外周面と前記モータケースとの間の隙間を閉じるシール部材が配置される。
【0007】
すなわち、軸支スリーブによってベアリングを介してロータシャフトをモータケースに軸支する構成において、軸支スリーブの外周面においてシール部材とベアリングとが軸方向に並べられる。この構成によれば、軸支スリーブの外周面とモータケースとの間の隙間がシール部材によって閉じられるため、従来技術のように、ベアリングのインナーレースとモータケースとの間をシール部材でシールする必要がなくなる。このため、インナーレースとアウターレースの軸方向の長さが同等である、通常の構造のベアリングを用いてロータシャフトを軸支することができる。このため、複雑な形状のベアリングを用いることなくロータシャフトをモータケースに軸支することが可能になる。
【図面の簡単な説明】
【0008】
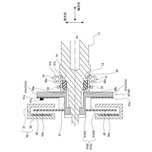
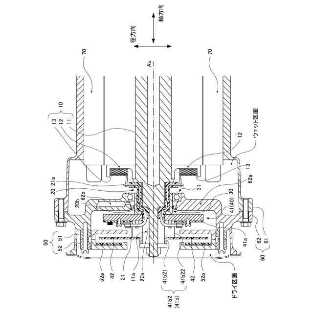
巻線界磁式モータの断面図である。
巻線界磁式モータの断面図である。
巻線界磁式モータの断面図である。
ロータシャフトをベアリングの内径側に挿入する前の状態を示す断面図である。
【発明を実施するための形態】
【0009】
ここでは、下記の順序に従って本発明の実施の形態について説明する。
(1)巻線界磁式モータの構成:
(2)軸支スリーブの構成:
(3)他の実施形態等:
【0010】
(1)巻線界磁式モータの構成:
図1~図3は、巻線界磁式モータ1のロータシャフトの回転軸を含む断面で巻線界磁式モータ1を切断した状態を示す断面図である。これらの断面図においては、一部の部品(例えばベアリングやシール部材等)について、断面であることを示すハッチングを省略している。さらに、図2および図3は、一部の部品、例えば、モータケースやステータ等を省略して、モータケースの内部の部品を図1より大きく示している。さらに、図2と図3とでは、切断面が異なる。
(【0011】以降は省略されています)
この特許をJ-PlatPat(特許庁公式サイト)で参照する
関連特許
株式会社アイシン
空気袋
10日前
株式会社アイシン
ロータ
1日前
株式会社アイシン
回転電機
6日前
株式会社アイシン
駆動装置
今日
株式会社アイシン
回転電機
2日前
株式会社アイシン
制御装置
6日前
株式会社アイシン
車体構造
6日前
株式会社アイシン
電子機器
今日
株式会社アイシン
駆動装置
8日前
株式会社アイシン
保護装置
今日
株式会社アイシン
検知装置
今日
株式会社アイシン
回転電機
2日前
株式会社アイシン
制御装置
今日
株式会社アイシン
制御装置
今日
株式会社アイシン
制御装置
今日
株式会社アイシン
温度調節器
6日前
株式会社アイシン
温度調節器
10日前
株式会社アイシン
鋳ぐるみ品
10日前
株式会社アイシン
コンデンサ
1か月前
株式会社アイシン
温度調節器
20日前
株式会社アイシン
温度調節器
20日前
株式会社アイシン
レーダ装置
今日
株式会社アイシン
振動発生装置
8日前
株式会社アイシン
運転支援装置
6日前
株式会社アイシン
運転支援装置
6日前
株式会社アイシン
駐車支援装置
6日前
株式会社アイシン
直流回転電機
1か月前
株式会社アイシン
電力変換装置
1か月前
株式会社アイシン
開閉システム
7日前
株式会社アイシン
車両制御装置
6日前
株式会社アイシン
車両駆動装置
1か月前
株式会社アイシン
立体構造基板
10日前
株式会社アイシン
マニホールド
8日前
株式会社アイシン
運転支援装置
1か月前
株式会社アイシン
冷却プレート
1か月前
株式会社アイシン
心拍検出装置
13日前
続きを見る
他の特許を見る