TOP
|
特許
|
意匠
|
商標
特許ウォッチ
Twitter
他の特許を見る
10個以上の画像は省略されています。
公開番号
2025145964
公報種別
公開特許公報(A)
公開日
2025-10-03
出願番号
2024046501
出願日
2024-03-22
発明の名称
回転電機用ロータ製造方法、回転電機用ロータ
出願人
株式会社アイシン
代理人
個人
,
個人
,
個人
主分類
H02K
1/276 20220101AFI20250926BHJP(電力の発電,変換,配電)
要約
【課題】ロータコアの軸方向の長さを比較的長くしても、良好な品質でボンド磁石を形成可能とする。
【解決手段】軸心及び磁石配置用孔をそれぞれ有する第1コア及び第2コアを準備する工程と、金型装置に対して第1コアをセットする第1セット工程と、第1セット工程の後に、第1コアの磁石配置用孔内に、磁性粉末を含む射出成形用の材料を充填する第1充填工程と、第1充填工程の後に、第1コアに第2コアが軸方向に隣接する態様で、金型装置に対して第1コアとともに第2コアをセットする第2セット工程と、第2セット工程の後、第2コアの磁石配置用孔内に、射出成形用の材料を充填する第2充填工程とを含む、回転電機用ロータ製造方法が開示される。
【選択図】図1
特許請求の範囲
【請求項1】
軸心及び磁石配置用孔をそれぞれ有する第1コア及び第2コアを準備する工程と、
金型装置に対して前記第1コアをセットする第1セット工程と、
前記第1セット工程の後に、前記第1コアの前記磁石配置用孔内に、磁性粉末を含む射出成形用の材料を充填する第1充填工程と、
前記第1充填工程の後に、前記第1コアに前記第2コアが軸方向に隣接する態様で、前記金型装置に対して前記第1コアとともに前記第2コアをセットする第2セット工程と、
前記第2セット工程の後、前記第2コアの前記磁石配置用孔内に、前記射出成形用の材料を充填する第2充填工程とを含む、回転電機用ロータ製造方法。
続きを表示(約 740 文字)
【請求項2】
前記第2充填工程は、前記第1コアに充填した前記射出成形用の材料が完全に硬化する前に実行させることを含む、請求項1に記載の回転電機用ロータ製造方法。
【請求項3】
前記第2セット工程は、前記第1コアの前記磁石配置用孔に前記第2コアの前記磁石配置用孔が軸方向視で部分的に重なる態様で、前記第1コアに前記第2コアを軸方向に隣接させることを含む、請求項1又は2に記載の回転電機用ロータ製造方法。
【請求項4】
前記第2セット工程は、前記第1コアの前記磁石配置用孔に前記第2コアの前記磁石配置用孔が軸方向視で重なる態様で、前記第1コアに前記第2コアを軸方向に隣接させることを含む、請求項1又は2に記載の回転電機用ロータ製造方法。
【請求項5】
前記金型装置は、配向磁場を形成可能な配向装置を含み、
前記配向磁場の実効領域の軸方向の長さは、前記第1コアの軸方向の長さと前記第2コアの軸方向の長さの合計よりも短く、
前記第1充填工程は、前記第1コアが前記配向磁場の実効領域の軸方向範囲に包含される状態で実行され、
前記第2充填工程は、前記第2コアが前記配向磁場の実効領域の軸方向範囲に包含される状態で実行される、請求項3に記載の回転電機用ロータ製造方法。
【請求項6】
軸心及び磁石配置用孔を備えるコアと、
前記磁石配置用孔内に配置される永久磁石とを備え、
前記永久磁石は、磁性粉末を含む射出成形用の材料の硬化物を含み、
前記硬化物は、前記磁石配置用孔内における軸方向端部よりも軸方向内側の位置に、軸方向に合わせられた接合部を有する、回転電機用ロータ。
発明の詳細な説明
【技術分野】
【0001】
本開示は、回転電機用ロータ製造方法及び回転電機用ロータに関する。
続きを表示(約 2,600 文字)
【背景技術】
【0002】
ロータコアの磁石配置用孔において、磁性材(磁性粉末)と非磁性の樹脂材(結合材)とを混合してなるボンド磁石用の材料を射出成形する技術が知られている。
【先行技術文献】
【特許文献】
【0003】
特開2014-147142号公報
【発明の概要】
【発明が解決しようとする課題】
【0004】
ところで、ロータコアの軸方向の長さが比較的長くなると、ボンド磁石を射出成形する際の軸方向長さ(流動長)が、それに対応して長くなるので、ボンド磁石を形成することが難しくなる。
【0005】
そこで、1つの側面では、本開示は、ロータコアの軸方向の長さを比較的長くしても、良好な品質でボンド磁石を形成可能とすることを目的とする。
【課題を解決するための手段】
【0006】
1つの側面では、軸心及び磁石配置用孔をそれぞれ有する第1コア及び第2コアを準備する工程と、
金型装置に対して前記第1コアをセットする第1セット工程と、
前記第1セット工程の後に、前記第1コアの前記磁石配置用孔内に、磁性粉末を含む射出成形用の材料を充填する第1充填工程と、
前記第1充填工程の後に、前記第1コアに前記第2コアが軸方向に隣接する態様で、前記金型装置に対して前記第1コアとともに前記第2コアをセットする第2セット工程と、
前記第2セット工程の後、前記第2コアの前記磁石配置用孔内に、前記射出成形用の材料を充填する第2充填工程とを含む、回転電機用ロータ製造方法が提供される。
【発明の効果】
【0007】
1つの側面では、本開示によれば、ロータコアの軸方向の長さを比較的長くしても、良好な品質でボンド磁石を形成することが可能となる。
【図面の簡単な説明】
【0008】
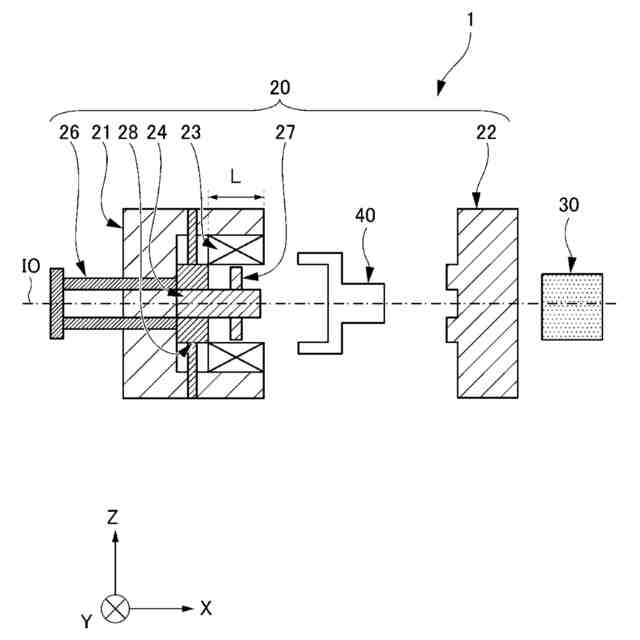
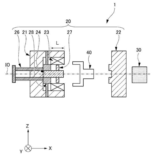
実施例1による回転電機用ロータ製造装置を示す概略図である。
実施例1の回転電機用ロータ製造方法の流れを示す概略的なフローチャートである。
実施例1の製造方法における工程(S200)の説明図である。
実施例1の製造方法における工程(S201)の説明図である。
実施例1の製造方法における工程(S202)の説明図である。
実施例1の製造方法における工程(S203)の説明図である。
実施例1の製造方法における工程(S204)の説明図である。
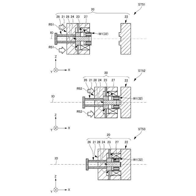
実施例1の製造方法における工程(S205)の説明図である。
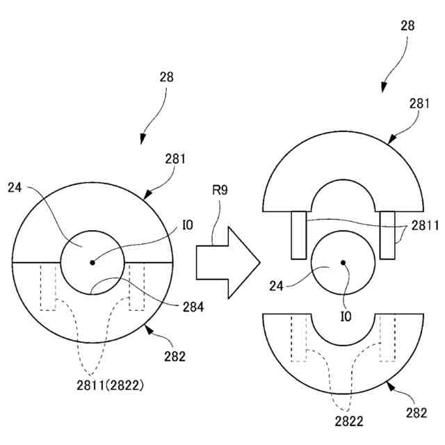
実施例1のスライドスペーサの説明図である。
実施例1のスライドスペーサの他のバリエーションの説明図である。
実施例1の製造方法における工程(S206)の説明図である。
実施例1の製造方法における工程(S207)の説明図である。
実施例1の製造方法における工程(S208)の説明図である。
実施例1の製造方法における工程(S209)の説明図である。
実施例1の製造方法における工程(S210)の説明図である。
実施例1の製造方法における工程(S211)の説明図である。
実施例1の製造方法における初期化工程の説明図である。
実施例2による回転電機用ロータ製造装置を示す概略図である。
実施例2に対する変形例の説明図であり、図18と同様の断面視を概略的に示す図である。
実施例2の可動スペーサの説明図であり、軸方向視で可動スペーサの動き(各状態)を示す図である。
実施例2の可動スペーサに対するロボットハンドの動きの説明図とともに、可動スペーサに係る他の変形例を示す説明図である。
実施例2の可動スペーサに係る他の変形例を示す説明図である。
実施例2の回転電機用ロータ製造方法の流れを示す概略的なフローチャートである。
実施例2の製造方法における工程(S301)の説明図である。
実施例2のロボットハンドの把持姿勢を示す図である。
実施例2の製造方法における工程(S302)の説明図である。
実施例2の製造方法における工程(S303)の説明図である。
実施例2の製造方法における工程(S304)の説明図である。
実施例2の製造方法における工程(S305)の説明図である。
実施例2の製造方法における工程(S306)の説明図である。
実施例2の製造方法における工程(S307)の説明図である。
実施例2の製造方法における工程(S307)の更なる説明図である。
実施例2の製造方法における工程(S308)の説明図である。
実施例2の製造方法における工程(S309)の説明図である。
実施例2の製造方法における工程(S310)の説明図である。
実施例2の製造方法における工程(S310)の更なる説明図である。
実施例2の製造方法における工程(S311)の説明図である。
実施例2の製造方法における工程(S312)の説明図である。
実施例2の製造方法における工程(S313)の説明図である。
実施例2の製造方法における工程(S314)の説明図である
実施例2の製造方法における工程(S315)の説明図である。
ボンド磁石を備えるロータコアの概略的な断面図である。
【発明を実施するための形態】
【0009】
以下、添付図面を参照しながら各実施例について詳細に説明する。なお、図面の寸法比率はあくまでも一例であり、これに限定されるものではなく、また、図面内の形状等は、説明の都合上、部分的に誇張している場合がある。また、図面では、見易さのために、複数存在する同一属性の部位には、一部のみしか参照符号が付されていない場合がある。
【0010】
以下では、大きく2つの実施例を、それぞれ実施例1、実施例2とも称し、実施例1から順に説明する。
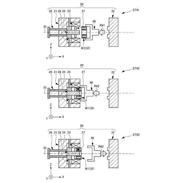
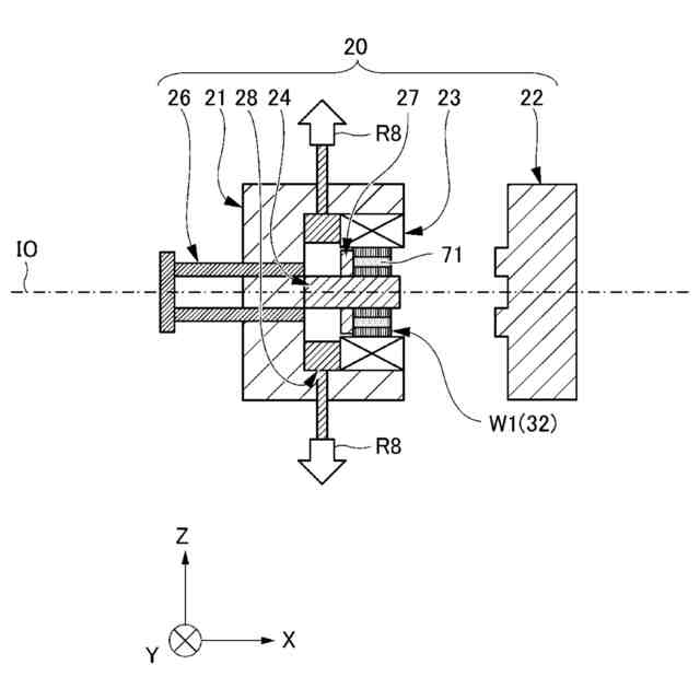
(【0011】以降は省略されています)
この特許をJ-PlatPat(特許庁公式サイト)で参照する
関連特許
株式会社アイシン
空気袋
10日前
株式会社アイシン
ロータ
1日前
株式会社アイシン
回転電機
6日前
株式会社アイシン
駆動装置
8日前
株式会社アイシン
制御装置
6日前
株式会社アイシン
回転電機
2日前
株式会社アイシン
回転電機
2日前
株式会社アイシン
車体構造
6日前
株式会社アイシン
発電装置
1か月前
株式会社アイシン
温度調節器
10日前
株式会社アイシン
鋳ぐるみ品
10日前
株式会社アイシン
温度調節器
6日前
株式会社アイシン
温度調節器
20日前
株式会社アイシン
電動ポンプ
1か月前
株式会社アイシン
自律移動体
1か月前
株式会社アイシン
コンデンサ
1か月前
株式会社アイシン
温度調節器
20日前
株式会社アイシン
心拍検出装置
13日前
株式会社アイシン
物体検出装置
1か月前
株式会社アイシン
開閉システム
7日前
株式会社アイシン
振動発生装置
8日前
株式会社アイシン
マニホールド
8日前
株式会社アイシン
物体検出装置
1か月前
株式会社アイシン
立体構造基板
10日前
株式会社アイシン
動力伝達装置
1か月前
株式会社アイシン
電力変換装置
1か月前
株式会社アイシン
電解システム
1日前
株式会社アイシン
温度調節装置
1か月前
株式会社アイシン
排熱回収装置
1か月前
株式会社アイシン
駐車支援装置
13日前
株式会社アイシン
ポンプケース
13日前
株式会社アイシン
直流回転電機
1か月前
株式会社アイシン
物体検出装置
20日前
株式会社アイシン
乗員検知装置
21日前
株式会社アイシン
車両下部構造
29日前
株式会社アイシン
冷却プレート
1か月前
続きを見る
他の特許を見る