TOP
|
特許
|
意匠
|
商標
特許ウォッチ
Twitter
他の特許を見る
公開番号
2025147672
公報種別
公開特許公報(A)
公開日
2025-10-07
出願番号
2024048032
出願日
2024-03-25
発明の名称
巻線界磁式モータ
出願人
株式会社アイシン
代理人
Knowledge Partners弁理士法人
主分類
H02K
19/12 20060101AFI20250930BHJP(電力の発電,変換,配電)
要約
【課題】回転子に固定される導電部材の変形を防止することが可能な技術の提供。
【解決手段】モータケースに固定され、通電により磁界を発生するステータと、界磁コイルが巻回されたロータコアと、前記ロータコアが組付けられるロータシャフトと、を含み、前記ステータの内径側に配置されて前記ステータに対して相対回転可能なロータと、前記ロータシャフトと一体回転する回転子および固定子を含み、導電部材にて前記界磁コイルと電気的に接続した給電装置と、を含む巻線界磁式モータであって、前記導電部材は前記回転子の外径側に向かって延びており、前記回転子は、前記導電部材を前記回転子に対して固定する固定部と、前記固定部よりも内径側において前記回転子から離れる方向への前記導電部材の移動を規制する規制部と、を含む、巻線界磁式モータを構成する。
【選択図】図1
特許請求の範囲
【請求項1】
モータケースに固定され、通電により磁界を発生するステータと、
界磁コイルが巻回されたロータコアと、前記ロータコアが組付けられるロータシャフトと、を含み、前記ステータの内径側に配置されて前記ステータに対して相対回転可能なロータと、
前記ロータシャフトと一体回転する回転子および固定子を含み、導電部材にて前記界磁コイルと電気的に接続した給電装置と、
を含む巻線界磁式モータであって、
前記導電部材は前記回転子の外径側に向かって延びており、
前記回転子は、前記導電部材を前記回転子に対して固定する固定部と、前記固定部よりも内径側において前記回転子から離れる方向への前記導電部材の移動を規制する規制部と、を含む、
巻線界磁式モータ。
続きを表示(約 410 文字)
【請求項2】
前記導電部材は、バスバ部と、可撓性のあるケーブル部と、前記バスバ部と前記ケーブル部とを接続する接続部と、を有し、
前記ケーブル部が曲げられて前記回転子の外径側に向かって延び、
前記固定部は前記ケーブル部の被固定部を前記回転子に対して固定し、
前記規制部は前記ケーブル部の前記被固定部より内径側の部分の移動を規制する、
請求項1に記載の巻線界磁式モータ。
【請求項3】
前記回転子は、基板と前記基板を支持する回転体とを含み、前記固定部は前記導電部材を前記回転体に対して固定する、
請求項1または請求項2に記載の巻線界磁式モータ。
【請求項4】
前記給電装置は、外部から電力供給を受ける被給電部を備え、
前記基板および前記回転体は、前記被給電部と前記ロータコアとの間に存在する、
請求項3に記載の巻線界磁式モータ。
発明の詳細な説明
【技術分野】
【0001】
本発明は、巻線界磁式モータに関する。
続きを表示(約 2,000 文字)
【背景技術】
【0002】
従来、非接触式の給電装置が知られている(例えば、特許文献1参照)。また、従来、給電装置を用いてロータコイルに給電し、ロータコイルによって磁界を発生させることによって駆動される巻線界磁式モータが知られている。ロータコイルに給電する給電装置としては、種々の方式を採用し得るが、ブラシと整流子とを用いる接触式の給電装置においては、ブラシの摩耗に対する対策やメンテナンスが必要になる。一方、ロータコイルに給電する給電装置に非接触式の給電装置を用いると、接触式で必須であったブラシのメンテナンスを省略することができる。
【先行技術文献】
【特許文献】
【0003】
国際公開第2023/072539号パンフレット
【発明の概要】
【発明が解決しようとする課題】
【0004】
非接触式の給電装置を実現する際に、電磁誘導が用いられることが多く、モータに対して非接触式の給電装置を適用する場合、モータの回転を継続しつつ電磁誘導によって給電が行われる構成を採用することが想定される。このような構成においては、モータシャフトとともに回転する回転子が用いられ、回転子に導電部材が固定される構成になり得る。導電部材を回転子に固定する場合、組付けの容易性を確保するため、導電部材には余長が与えられる。しかし、回転子に導電部材が固定された状態で回転子が回転すると、遠心力が作用するため、導電部材が変形し、周辺部品との干渉や絶縁距離の不足、導電部材の破損等が発生し得る。
【0005】
本発明は、上記課題に鑑みてなされたもので、回転子に固定される導電部材の変形を防止することが可能な技術の提供を目的とする。
【課題を解決するための手段】
【0006】
上記の目的を達成するため、巻線界磁式モータは、モータケースに固定され、通電により磁界を発生するステータと、界磁コイルが巻回されたロータコアと、ロータコアが組付けられるロータシャフトと、ステータの内径側に配置されてステータに対して相対回転可能なロータと、ロータシャフトと一体回転する回転子および固定子を含み、導電部材にて界磁コイルと電気的に接続した給電装置と、を含む巻線界磁式モータであって、導電部材は回転子の外径側に向かって延びており、回転子は、導電部材を回転子に対して固定する固定部と、固定部よりも内径側において回転子から離れる方向への導電部材の移動を規制する規制部と、を含む。
【0007】
すなわち、回転子の外径側に向かって延びる導電部材を、固定部によって回転子に固定する構成においては、回転子の回転によって固定部の内径側に存在する導電部材に遠心力が作用すると、導電部材を変形させる力として作用する。導電部材には、組み付けの容易性を確保するための余長が与えられる。このため、回転子の外径側に向かって延びる導電部材が固定部で固定されていると、固定部の内径側の部分が回転子の径方向に垂直な方向、すなわち、軸方向に変形する余地がある。従って、導電部材に遠心力が作用すると、導電部材を軸方向に変形させる力として作用する。軸方向において回転子から近づく方向に導電部材が変形しても回転子と干渉して変形が阻害されるため、軸方向において回転子から離れる方向への導電部材の移動を規制部で規制すれば、回転子に固定される導電部材の変形を防止することができる。
【図面の簡単な説明】
【0008】
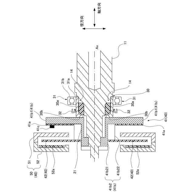
巻線界磁式モータの断面図である。
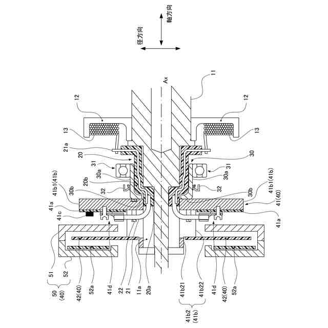
巻線界磁式モータの断面図である。
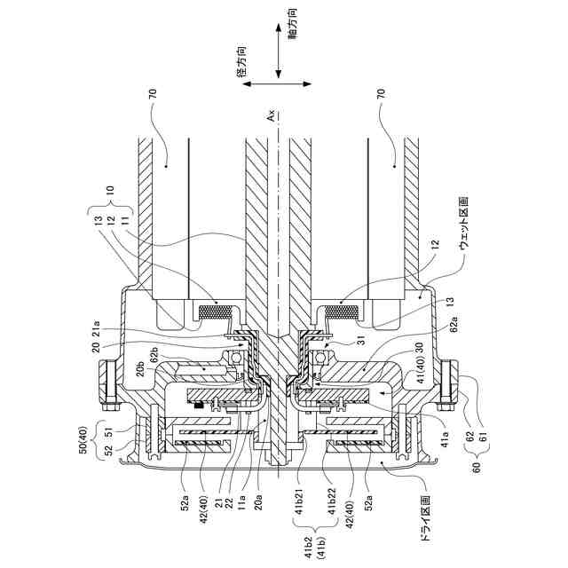
巻線界磁式モータの断面図である。
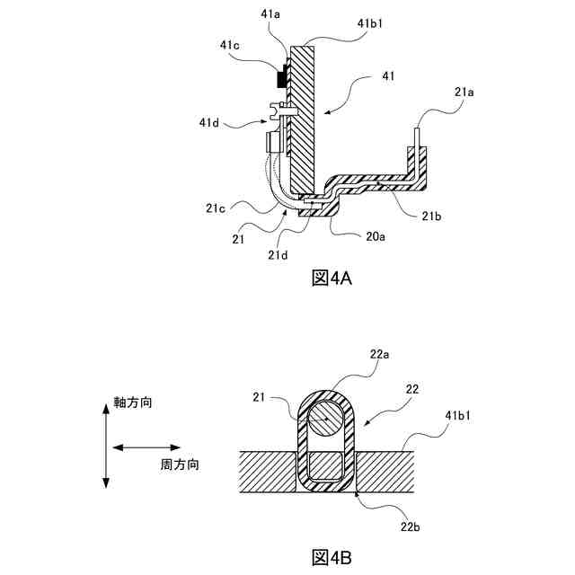
図4Aは導電部材の周辺の部材を抜き出して示す断面図であり、図4Bは規制部が、結束帯で構成された例を示す断面図である。
図5Aは導電部材の周辺の部材を抜き出して示す断面図であり、図5Bは規制部が、板状部材で構成された例を示す断面図である。
【発明を実施するための形態】
【0009】
ここでは、下記の順序に従って本発明の実施の形態について説明する。
(1)巻線界磁式モータの構成:
(2)導電部材を固定するための構成:
(3)他の実施形態等:
【0010】
(1)巻線界磁式モータの構成:
図1~図3は、巻線界磁式モータ1のロータシャフトの回転軸を含む断面で巻線界磁式モータ1を切断した状態を示す断面図である。これらの断面図においては、一部の部品(例えばベアリングやシール部材等)について、断面であることを示すハッチングを省略している。さらに、図2および図3は、一部の部品、例えば、モータケースやステータ等を省略して、モータケースの内部の部品を図1より大きく示している。さらに、図2と図3とでは、切断面が異なる。
(【0011】以降は省略されています)
この特許をJ-PlatPat(特許庁公式サイト)で参照する
関連特許
株式会社アイシン
ロータ
2日前
株式会社アイシン
空気袋
11日前
株式会社アイシン
回転電機
3日前
株式会社アイシン
制御装置
7日前
株式会社アイシン
電子機器
1日前
株式会社アイシン
回転電機
3日前
株式会社アイシン
保護装置
1日前
株式会社アイシン
駆動装置
9日前
株式会社アイシン
駆動装置
1日前
株式会社アイシン
検知装置
1日前
株式会社アイシン
車体構造
7日前
株式会社アイシン
回転電機
7日前
株式会社アイシン
制御装置
1日前
株式会社アイシン
制御装置
1日前
株式会社アイシン
制御装置
1日前
株式会社アイシン
温度調節器
21日前
株式会社アイシン
レーダ装置
1日前
株式会社アイシン
鋳ぐるみ品
11日前
株式会社アイシン
温度調節器
7日前
株式会社アイシン
温度調節器
11日前
株式会社アイシン
温度調節器
21日前
株式会社アイシン
振動発生装置
9日前
株式会社アイシン
物体検出装置
21日前
株式会社アイシン
立体構造基板
11日前
株式会社アイシン
駐車支援装置
3日前
株式会社アイシン
駐車支援装置
7日前
株式会社アイシン
ポンプケース
14日前
株式会社アイシン
駐車支援装置
14日前
株式会社アイシン
車両制御装置
7日前
株式会社アイシン
心拍検出装置
14日前
株式会社アイシン
センサ固定具
2日前
株式会社アイシン
運転支援装置
7日前
株式会社アイシン
運転支援装置
7日前
株式会社アイシン
マニホールド
9日前
株式会社アイシン
開閉システム
8日前
株式会社アイシン
超音波センサ
2日前
続きを見る
他の特許を見る