TOP特許意匠商標
特許ウォッチ Twitter
公開番号2025145297
公報種別公開特許公報(A)
公開日2025-10-03
出願番号2024045400
出願日2024-03-21
発明の名称オイルポンプ
出願人株式会社豊田中央研究所,株式会社アイシン
代理人弁理士法人YKI国際特許事務所
主分類F04C 2/10 20060101AFI20250926BHJP(液体用容積形機械;液体または圧縮性流体用ポンプ)
要約【課題】アウタロータがハウジング内で傾斜しても駆動トルクの増加を抑制できるオイルポンプを提供する。
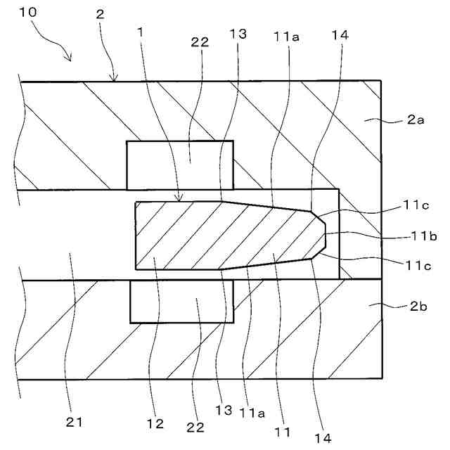
【解決手段】円環形状のリング部11から内歯12が径方向内側へ突き出たアウタロータ1と、内歯12と噛み合う外歯を有するインナロータと、インナロータに接続され、インナロータを回転駆動する入力軸と、インナロータ及びアウタロータ1を収容するギヤ室21を有するハウジング2と、を備えるトロコイド式のオイルポンプ10であって、リング部11は、軸方向端面11aと、外周面11bと、軸方向端面11aと外周面11bとの間に形成された面取り面11cと、を有し、軸方向端面11aに、径方向内側端12から径方向外側端13まで径方向に内側から外側へ向かうほどリング部11の軸方向中心からの軸方向距離が単調減少するように傾斜が設けられている。
【選択図】図2
特許請求の範囲【請求項1】
円環形状のリング部から内歯が径方向内側へ突き出たアウタロータと、
前記内歯と噛み合う外歯を有するインナロータと、
前記インナロータに接続され、前記インナロータを回転駆動する入力軸と、
前記インナロータ及び前記アウタロータを収容するギヤ室を有するハウジングと、
を備えるトロコイド式のオイルポンプであって、
前記リング部は、軸方向端面と、外周面と、前記軸方向端面と前記外周面との間に形成された面取り面と、を有し、
前記リング部の前記軸方向端面に、径方向内側端から径方向外側端まで径方向に内側から外側へ向かうほど前記リング部の軸方向中心からの軸方向距離が単調減少するように傾斜が設けられていることを特徴とするオイルポンプ。
続きを表示(約 470 文字)【請求項2】
請求項1に記載のオイルポンプであって、
前記リング部の前記軸方向端面の前記径方向内側端と前記径方向外側端との間の軸方向の高低差を、前記径方向内側端から前記径方向外側端までの径方向長さで除した値である傾斜勾配が、0.5μm/mmから4.0μm/mmまでの範囲内であることを特徴とするオイルポンプ。
【請求項3】
請求項2に記載のオイルポンプであって、
前記傾斜勾配が、0.5μm/mmから2.0μm/mmまでの範囲内であることを特徴とするオイルポンプ。
【請求項4】
請求項1~3のいずれか1項に記載のオイルポンプであって、
前記傾斜が、前記径方向内側端から前記径方向外側端まで前記径方向内側端からの径方向距離の増加に応じて直線状に前記リング部の前記軸方向中心へ近づくように形成されていることを特徴とするオイルポンプ。
【請求項5】
請求項1~3のいずれか1項に記載のオイルポンプであって、
電動オイルポンプであることを特徴とするオイルポンプ。

発明の詳細な説明【技術分野】
【0001】
本発明は、トロコイド式のオイルポンプに関する。
続きを表示(約 2,700 文字)【背景技術】
【0002】
特許文献1及び特許文献2には、内歯を有するアウタロータと、アウタロータの内歯と噛み合う外歯を有するインナロータと、インナロータに固定されてインナロータを回転駆動する入力軸と、インナロータ及びアウタロータを収容するハウジングと、を備えるトロコイド式のオイルポンプが開示されている。特許文献1に開示されたオイルポンプは、アウタロータの軸方向端面に放射状に溝を設けて、溝とハウジング内壁面との間で生じる動圧によって、アウタロータの軸方向端面のハウジング内壁面への接触を抑制して、摩擦抵抗を減少させている。特許文献2に開示されたオイルポンプは、アウタロータの外周面に螺旋溝を設けて、アウタロータがハウジングに押し付けられる側にオイルを移動させることによって、アウタロータの軸方向端面のハウジング内壁面への接近を抑制し、摩擦抵抗を減少させている。
【0003】
非特許文献1には、狭い隙間へ引き込まれた隙間内のオイルが圧力を発生させるくさび作用が記載されている。非特許文献2及び非特許文献3には、修正Reynolds方程式について開示されている。修正Reynolds方程式によって、表面粗さを考慮して摺動面の油膜圧力分布を計算することができる。非特許文献4には、固体接触モデルが開示されている。固体接触モデルを用いてクリアランスが小さい場合の固体接触圧力を計算することができる。
【先行技術文献】
【特許文献】
【0004】
特開2011-236864号公報
特開2003-176790号公報
【非特許文献】
【0005】
山本雄二,兼田もと宏著,「トライボロジー」,第2版,オーム社,2010年
Patir, N., and Cheng, H. S., An average flow model for determining effects of three-dimensional roughness on partial hydrodynamic lubrication, Transactions of the ASME, Journal of Lubrication Technology, 100, p12-17, 1978年
Patir, N., and Cheng, H. S., Application of average flow model to lubrication between rough sliding surfaces, Transactions of the ASME, Journal of Lubrication Technology, 101, p220-229, 1979年
Tomota, T.,Masuda, R.,Kondoh, Y.,Ohmori, T. and Yagi, K.,Modeling solid contact between rough surfaces with various roughnessparameters,Tribology Transactions,64,p178-192,2021年
【発明の概要】
【発明が解決しようとする課題】
【0006】
オイルポンプでは駆動トルクの低減が重要な課題となっている。特に、電気モータで駆動する電動オイルポンプでは、想定される駆動トルクによってモータ諸元に制約が生じるため、低い駆動トルクが望ましい。しかし、トロコイド式のオイルポンプの場合、入力軸を介してハウジングに回転可能に支持されたインナロータとは異なり、アウタロータは入力軸にもハウジングにも固定されていないため、油圧によってハウジング内で傾斜することがある。そのため、トロコイド式のオイルポンプでは、駆動トルクを低減させるために、アウタロータの軸方向端面がハウジング内壁面に接触する摺動面で生じる固体接触による抵抗を減らすことが必要となる。特に、直径が大きいアウタロータを用いる場合、この抵抗が大きくなるものと考えられる。
【0007】
一般的にアウタロータの軸方向端面とハウジング内壁面との間のクリアランス量は、アウタロータの内歯とインナロータの外歯の歯間からのオイル漏れを最小限とするために、十分に小さくなっている。そのため、アウタロータがハウジング内で油圧によって傾斜すると、アウタロータの軸方向端面とハウジング内壁面との固体接触を生じることになる。しかし、アウタロータが傾斜することによってアウタロータとハウジング内壁面が接近した部分では、非特許文献1に記載されているくさび作用によって圧力が発生し、アウタロータがハウジング内壁面から離れる方向に油膜による復元力が働き、固体接触を抑制するものと考えられる。
【0008】
ただし、アウタロータが大きく傾斜し過ぎると、非特許文献1で説明されているように、くさび作用による圧力が小さくなってしまう場合がある。そのため、アウタロータが大きく傾斜して、アウタロータの軸方向端面がハウジング内壁面に当たった状態となると、圧力による復元力が生じ難くなり、強い固体接触が発生して摺動抵抗が大きくなる可能性がある。このようなアウタロータの傾斜は、その大きさや方向がオイルポンプ諸元や運転条件によって変化することがあっても、完全に発生を防ぐことはできないものと考えられる。
【0009】
そこで、本発明は、アウタロータがハウジング内で傾斜しても駆動トルクの増加を抑制できるオイルポンプを提供することを目的とする。
【課題を解決するための手段】
【0010】
本発明に係るオイルポンプは、円環形状のリング部から内歯が径方向内側へ突き出たアウタロータと、前記内歯と噛み合う外歯を有するインナロータと、前記インナロータに接続され、前記インナロータを回転駆動する入力軸と、前記インナロータ及び前記アウタロータを収容するギヤ室を有するハウジングと、を備えるトロコイド式のオイルポンプであって、前記リング部は、軸方向端面と、外周面と、前記軸方向端面と前記外周面との間に形成された面取り面と、を有し、前記リング部の前記軸方向端面に、径方向内側端から径方向外側端まで径方向に内側から外側へ向かうほど前記リング部の軸方向中心からの軸方向距離が単調減少するように傾斜が設けられていることを特徴とする。
(【0011】以降は省略されています)

この特許をJ-PlatPat(特許庁公式サイト)で参照する

関連特許

個人
圧縮機
5か月前
個人
海流製造装置。
18日前
株式会社ツインバード
送風装置
16日前
ダイニチ工業株式会社
空調装置
3か月前
株式会社ツインバード
送風装置
16日前
カヤバ株式会社
電動ポンプ
1か月前
株式会社不二越
蓄圧装置
2か月前
ビッグボーン株式会社
送風装置
1か月前
株式会社酉島製作所
ポンプ
3か月前
株式会社酉島製作所
ポンプ
5か月前
株式会社ノーリツ
ロータリ圧縮機
1か月前
シャープ株式会社
送風装置
5か月前
シャープ株式会社
送風装置
5か月前
個人
携帯型扇風機用の送風ノズル
4か月前
シャープ株式会社
送風装置
5か月前
株式会社酉島製作所
ポンプ
4か月前
株式会社電業社機械製作所
ポンプ
5か月前
株式会社ニクニ
液封式ポンプ装置
4か月前
株式会社坂製作所
スクロール圧縮機
3か月前
株式会社不二越
ベーンポンプ
2か月前
リンナイ株式会社
羽根車
5か月前
株式会社不二越
油圧ユニット
4か月前
小倉クラッチ株式会社
ルーツブロア
2か月前
サンデン株式会社
スクロール圧縮機
2日前
株式会社ノーリツ
ロータリー圧縮機
3か月前
サンデン株式会社
スクロール圧縮機
2日前
サンデン株式会社
スクロール圧縮機
2日前
株式会社アイシン
ポンプケース
9日前
株式会社村田製作所
圧電ポンプ
5か月前
株式会社豊田自動織機
流体機械
1か月前
エドワーズ株式会社
真空ポンプ
10日前
株式会社島津製作所
真空ポンプ
1か月前
株式会社島津製作所
真空ポンプ
16日前
個人
連結式螺旋翼体及び流体移送装置
4か月前
株式会社チロル
送風機、送風機付衣服
1か月前
株式会社コスメック
ピストン型ポンプ
4か月前
続きを見る