TOP
|
特許
|
意匠
|
商標
特許ウォッチ
Twitter
他の特許を見る
公開番号
2025145017
公報種別
公開特許公報(A)
公開日
2025-10-03
出願番号
2024044981
出願日
2024-03-21
発明の名称
充電制御装置及び充電制御システム
出願人
大阪瓦斯株式会社
代理人
弁理士法人R&C
主分類
H02J
13/00 20060101AFI20250926BHJP(電力の発電,変換,配電)
要約
【課題】通信が途絶した場合であっても電動車両への充電を行える充電制御装置の提供。
【解決手段】充電制御装置20が、供給される電力を充電用電気配線13へ供給できる充電可能状態及び供給できない充電不能状態の何れかに切り替わる電力供給切替部12、電力供給を受けるとオン状態に切り替わり、電力供給が停止される又はオン状態に切り替わった後で所定時間経過するとオフ状態に切り替わるタイマー回路部11、及び、供給される電力をタイマー回路部11に供給する電力供給状態及び供給しない電力遮断状態の何れかに切り替わる切替スイッチ10aと、情報通信網21を介して切替スイッチ10aを電力供給状態に切り替える接続指令及び電力遮断状態に切り替える遮断指令を受け付ける指令受付部10cと、指令受付部10cが受け付けた指令に応じて切替スイッチ10aの動作を制御する制御部10bとを有する接続状態切替部10を備える。
【選択図】図1
特許請求の範囲
【請求項1】
電動車両が備える蓄電池に供給される電力を制御する充電制御装置であって、
切替用電源から供給される電力をタイマー回路部に供給する電力供給状態及び供給しない電力遮断状態の何れかに切り替わる切替スイッチと、情報通信網を介して前記切替スイッチを前記電力供給状態に切り替える接続指令及び前記電力遮断状態に切り替える遮断指令を受け付ける指令受付部と、前記指令受付部が受け付けた前記接続指令及び前記遮断指令に応じて前記切替スイッチの動作を制御する制御部とを有する接続状態切替部、
前記接続状態切替部を介して前記切替用電源から電力の供給を受けるとオン状態に切り替わり、電力の供給が停止される又は前記オン状態に切り替わった後で所定時間経過するとオフ状態に切り替わる前記タイマー回路部、及び、
前記蓄電池に電力を供給する際に当該蓄電池に対して電気的に接続される充電用電気配線に接続され、前記タイマー回路部が前記オン状態に切り替わることで前記切替用電源から電力の供給を受けると、充電用電源から供給される電力を当該充電用電気配線へ供給できない充電不能状態に切り替わり、前記タイマー回路部が前記オフ状態に切り替わることで前記切替用電源から電力の供給が停止すると、前記充電用電源から供給される電力を当該充電用電気配線へ供給できる充電可能状態に切り替わる電力供給切替部を備える充電制御装置。
続きを表示(約 330 文字)
【請求項2】
前記切替用電源から供給される電力を前記接続状態切替部に供給するか否かを切り替える手動操作式の開閉スイッチを備える請求項1に記載の充電制御装置。
【請求項3】
請求項1又は2に記載の充電制御装置と、
前記情報通信網を介して前記充電制御装置に前記接続指令及び前記遮断指令を送信する指令送信装置とを備え、
前記指令送信装置は、
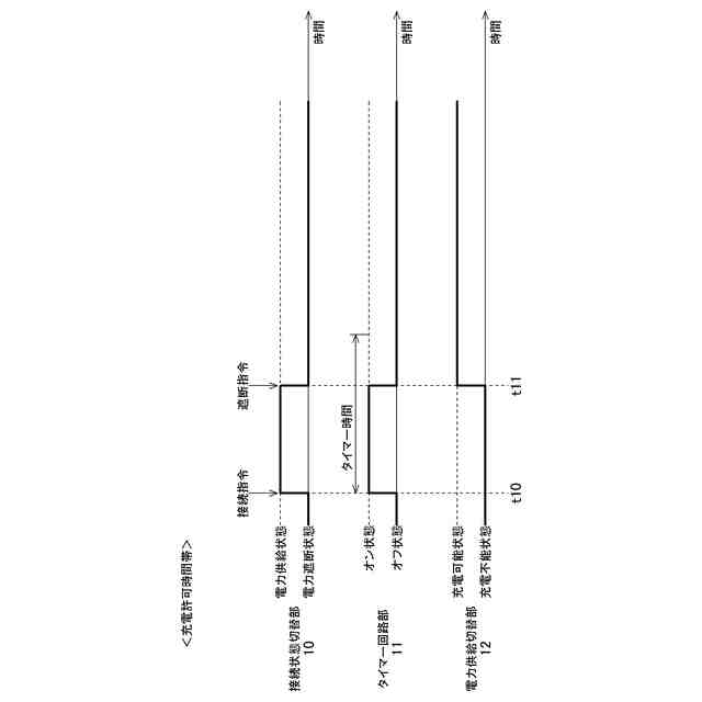
前記電動車両の前記蓄電池への充電を許可しない充電不許可時間帯の間、前記接続指令と前記遮断指令とを交互に送信し、
前記電動車両の前記蓄電池への充電を許可する充電許可時間帯の間、前記接続指令と前記遮断指令とを順に送信した後に前記接続指令を送信しない状態を継続する充電制御システム。
発明の詳細な説明
【技術分野】
【0001】
本発明は、充電制御装置及び充電制御システムに関する。
続きを表示(約 2,200 文字)
【背景技術】
【0002】
住戸や事業所などの施設で電動車両の蓄電池への充電を行う場合、例えば施設の分電盤に接続されている充電用電気配線を、電動車両の充電用端子に対して電気的に接続する。通常、充電用電気配線が電動車両の充電用端子に対して電気的に接続されるとバッテリへの充電が開始され、途中で充電が停止されることもない。
【0003】
尚、充電用電気配線に特別な制御装置が接続されている場合には、その制御装置が電動車両の蓄電池への充電を制御できる。例えば、特許文献1(特許第5635329号公報)には、EVコンセント(4)へ電動車両が接続されることで電動車両の蓄電池への充電が可能になるシステムが記載されている。また、EVコンセント(4)への給電を制御するリレー(31)及びそのリレー(31)の動作を制御するホームサーバ(1)が設けられている。そして、ホームサーバ(1)が、リレー(31)をオン・オフすることで、電動車両への充電開始時刻及び充電停止時刻などを自在に制御している。
【先行技術文献】
【特許文献】
【0004】
特許第5635329号公報
【発明の概要】
【発明が解決しようとする課題】
【0005】
特許文献1に記載のシステムでは、リレー(31)の動作を制御するためのホームサーバ(1)が必要であり、システムのコストが大きくなるという問題がある。
【0006】
尚、リレーのオン・オフを、遠隔地に設けられた充電制御用のサーバからの通信によって制御するようなシステムを構築することもできるが、充電制御用のサーバとリレーとの通信が途絶した場合、リレーの状態は通信が途絶した時点での状態で固定されることになる。そのため、例えば、リレーがオフの状態(即ち、電動車両の蓄電池に充電されない状態)のままで通信が途絶すると、電動車両の蓄電池への充電が行われない状態が継続されるという問題がある。
【0007】
本発明は、上記の課題に鑑みてなされたものであり、その目的は、簡単な構成で電動車両の蓄電池への充電タイミングを設定でき、且つ、充電が行われない事態を回避できる充電制御装置及び充電制御システムを提供する点にある。
【課題を解決するための手段】
【0008】
上記目的を達成するための本発明に係る充電制御装置の特徴構成は、電動車両が備える蓄電池に供給される電力を制御する充電制御装置であって、
切替用電源から供給される電力をタイマー回路部に供給する電力供給状態及び供給しない電力遮断状態の何れかに切り替わる切替スイッチと、情報通信網を介して前記切替スイッチを前記電力供給状態に切り替える接続指令及び前記電力遮断状態に切り替える遮断指令を受け付ける指令受付部と、前記指令受付部が受け付けた前記接続指令及び前記遮断指令に応じて前記切替スイッチの動作を制御する制御部とを有する接続状態切替部、
前記接続状態切替部を介して前記切替用電源から電力の供給を受けるとオン状態に切り替わり、電力の供給が停止される又は前記オン状態に切り替わった後で所定時間経過するとオフ状態に切り替わる前記タイマー回路部、及び、
前記蓄電池に電力を供給する際に当該蓄電池に対して電気的に接続される充電用電気配線に接続され、前記タイマー回路部が前記オン状態に切り替わることで前記切替用電源から電力の供給を受けると、充電用電源から供給される電力を当該充電用電気配線へ供給できない充電不能状態に切り替わり、前記タイマー回路部が前記オフ状態に切り替わることで前記切替用電源から電力の供給が停止すると、前記充電用電源から供給される電力を当該充電用電気配線へ供給できる充電可能状態に切り替わる電力供給切替部を備える点にある。
【0009】
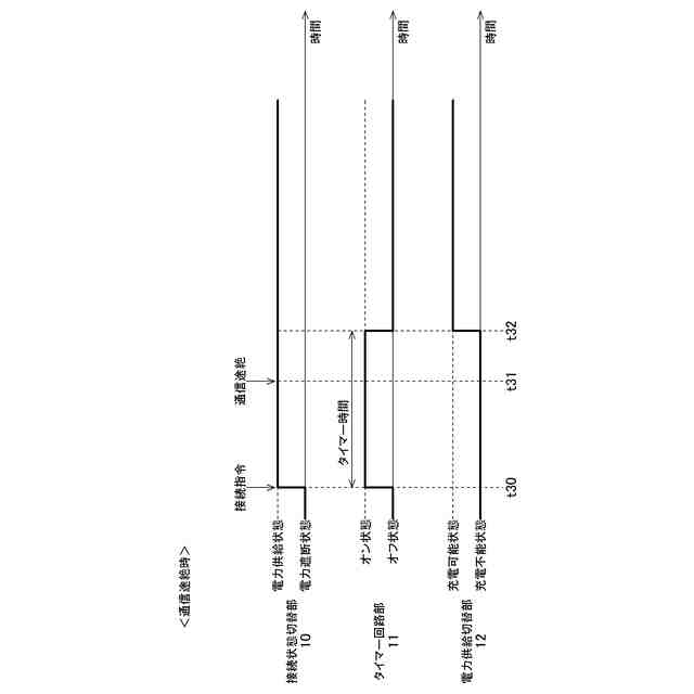
上記特徴構成によれば、接続状態切替部の指令受付部は、切替スイッチを電力供給状態に切り替える接続指令及び電力遮断状態に切り替える遮断指令を情報通信網を介して受け付けることができる。そして、切替スイッチが電力供給状態に切り替わった場合にはタイマー回路部がオン状態に切り替わり、それに応じて電力供給切替部が充電不能状態に切り替わる。それに対して、切替スイッチが電力遮断状態に切り替わった場合にはタイマー回路部がオフ状態に切り替わり、それに応じて電力供給切替部が充電可能状態に切り替わる。このように、充電制御装置は、指令受付部が受け付ける接続指令及び遮断指令に応じて、充電用電気配線に接続される蓄電池へ充電するか否かを制御できる。
また、通信不良などにより指令受付部が接続指令及び遮断指令を受け付けることができなくなったとしても、時間が経過するとタイマー回路部が自動的にオフ状態になるため、それに応じて電力供給切替部が充電可能状態に切り替わる。その結果、充電用電気配線に接続される蓄電池へ充電できる状態になる。
従って、簡単な構成で電動車両の蓄電池への充電タイミングを設定でき、且つ、充電が行われない事態を回避できる充電制御装置を提供できる。
【0010】
本発明に係る充電制御装置の別の特徴構成は、前記切替用電源から供給される電力を前記接続状態切替部に供給するか否かを切り替える手動操作式の開閉スイッチを備える点にある。
(【0011】以降は省略されています)
この特許をJ-PlatPat(特許庁公式サイト)で参照する
関連特許
個人
単極モータ
1日前
株式会社アイシン
ロータ
5日前
株式会社アイシン
ロータ
1日前
トヨタ自動車株式会社
固定子
6日前
トヨタ自動車株式会社
製造装置
6日前
株式会社ダイヘン
充電装置
5日前
株式会社アイシン
ステータ
5日前
株式会社アイシン
ステータ
5日前
株式会社アイシン
ステータ
5日前
株式会社ダイヘン
充電装置
5日前
株式会社ダイヘン
充電装置
5日前
株式会社ダイヘン
充電装置
5日前
株式会社アイシン
ステータ
5日前
個人
太陽エネルギー収集システム
6日前
株式会社kaisei
発電システム
1日前
トヨタ自動車株式会社
被膜形成装置
6日前
株式会社デンソー
電力変換装置
今日
株式会社ミツバ
回転電機
5日前
ASTI株式会社
電力変換装置
6日前
キヤノン株式会社
無線電力伝送システム
6日前
シャープ株式会社
表示装置
6日前
株式会社アイシン
駆動装置
6日前
株式会社アイシン
保護装置
6日前
株式会社ダイヘン
インバータ装置
今日
矢崎総業株式会社
ワイヤーハーネス
1日前
株式会社竹内製作所
作業用車両
5日前
本田技研工業株式会社
電気機器
6日前
株式会社デンソー
ステータ及びモータ
1日前
大阪瓦斯株式会社
動作制御装置
6日前
トヨタ自動車株式会社
スロット紙の成形装置
6日前
本田技研工業株式会社
電気機器
6日前
大阪瓦斯株式会社
蓄電制御装置
6日前
カヤバ株式会社
防水構造
5日前
本田技研工業株式会社
回転電機のロータ
7日前
株式会社富士通ゼネラル
モータ制御装置
6日前
ヨツギ株式会社
鳥害防止具
6日前
続きを見る
他の特許を見る