TOP
|
特許
|
意匠
|
商標
特許ウォッチ
Twitter
他の特許を見る
公開番号
2025149957
公報種別
公開特許公報(A)
公開日
2025-10-08
出願番号
2025050925
出願日
2025-03-26
発明の名称
回転電機のロータ
出願人
本田技研工業株式会社
代理人
個人
,
個人
主分類
H02K
1/276 20220101AFI20251001BHJP(電力の発電,変換,配電)
要約
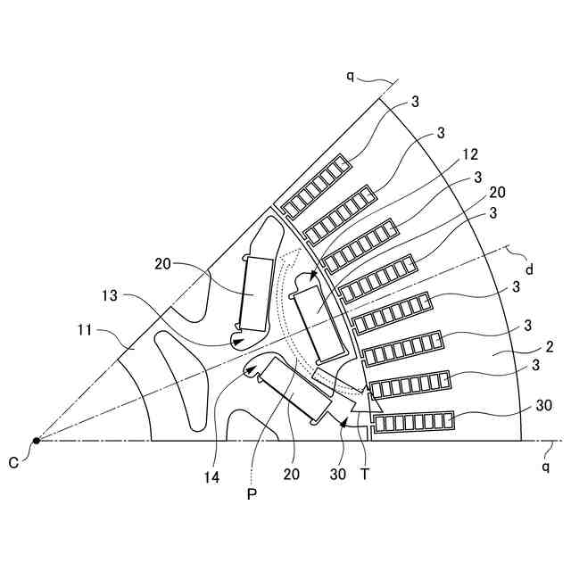
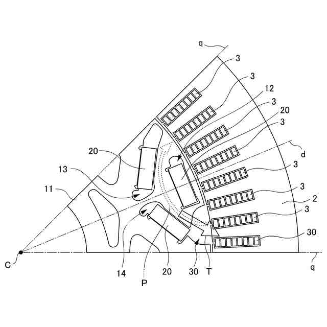
【課題】回転電機のトルクリプルを低減できるロータ構造を提供する。
【解決手段】円環状のロータコアに、永久磁石を挿入固定することで周方向に等間隔で並ぶ複数の磁極を構成するための複数の孔が形成されている、回転電機のロータにおいて、前記孔が、1つの前記磁極毎に、径方向内側に位置する2つの内側孔と、該内側孔より径方向外側に位置する1つの外側孔とによって構成する。前記2つの内側孔が、前記ロータの回転方向側に位置する第1内側孔と、該第1内側孔に対して反回転方向側に位置する第2内側孔とからなる。前記第1内側孔および前記第2内側孔が、前記磁極の中心軸をd軸とし、該d軸から電気角で90°ずれた軸をq軸としたときに、前記d軸を中心に互いに向かい合って配設する。前記ロータコアに、該ロータコアの外周部に設けられた窪みであると共に前記第2内側孔と連通する空隙部を設ける。
【選択図】図3
特許請求の範囲
【請求項1】
円環状のロータコアを有し、
前記ロータコアに、永久磁石を挿入固定することで周方向に等間隔で並ぶ複数の磁極を構成するための複数の孔が形成されている、回転電機のロータにおいて、
前記孔が、1つの前記磁極毎に、径方向内側に位置する2つの内側孔と、該内側孔より径方向外側に位置する1つの外側孔とによって構成されており、
前記2つの内側孔が、前記ロータの回転方向側に位置する第1内側孔と、該第1内側孔に対して反回転方向側に位置する第2内側孔とからなり、
前記第1内側孔および前記第2内側孔が、前記磁極の中心軸をd軸とし、該d軸から電気角で90°ずれた軸をq軸としたときに、前記d軸を中心に互いに向かい合って配設されており、
前記ロータコアに、該ロータコアの外周部に設けられた窪みであると共に前記第2内側孔と連通する空隙部が設けられていることを特徴とする回転電機のロータ。
続きを表示(約 640 文字)
【請求項2】
前記空隙部が、前記d軸に対して前記ロータの反回転方向側に位置する前記q軸の磁路上に位置することを特徴とする請求項1に記載の回転電機のロータ。
【請求項3】
前記第1内側孔および前記第2内側孔が、それぞれ、軸方向視で長方形をなす前記永久磁石を挿入可能な長尺形状とされており、前記d軸寄りの一端部より前記d軸から離間した他端部の方が径方向外側に位置するように、互いに対称をなして傾斜していることを特徴とする請求項1または2に記載の回転電機のロータ。
【請求項4】
前記空隙部の周方向寸法が、径方向外側に向かうにつれて大きくなることを特徴とする請求項1または2に記載の回転電機のロータ。
【請求項5】
前記空隙部の径方向外側寄りの周方向寸法は、前記ロータコアの1つの磁極の周方向長さの1/4以上であり、
前記空隙部の径方向寸法は、前記ロータコアの半径の1/10以上であることを特徴とする請求項4に記載の回転電機のロータ。
【請求項6】
前記第1内側孔と前記第2内側孔とが、径方向に延伸する隔壁で仕切られており、
前記隔壁は、軸方向視で、径方向内側より径方向外側の方が前記ロータの回転方向側に位置するように傾斜していることを特徴とする請求項3に記載の回転電機のロータ。
【請求項7】
前記回転電機が2相モータであることを特徴とする請求項1または2に記載の回転電機のロータ。
発明の詳細な説明
【技術分野】
【0001】
本発明は、回転電機のロータに係り、特に、回転時に生じる周期的なトルク変動であるトルクリプルを低減できる回転電機のロータに関する。
続きを表示(約 1,300 文字)
【背景技術】
【0002】
近年、低炭素社会又は脱炭素社会の実現に向けた取り組みが活発化し、車両においてもCO2排出量の削減やエネルギ効率の改善のために電動化に関する研究開発が行われている。ここで、回転電機においては、回転時に生じるトルク変動であるトルクリプルの低減が課題となる。特に、回転電機を2相モータとした場合には、電気角4次の大きなトルクリプルが発生しやすくなる。
【0003】
特許文献1には、永久磁石が挿入固定される孔が周方向に等間隔で設けられた回転電機のロータにおいて、隣り合う孔の間で径方向外側寄りの位置に、軸方向視で略半円状をなす空隙部を設けた構成が開示されている。
【先行技術文献】
【特許文献】
【0004】
特許第6435838号公報
【発明の概要】
【発明が解決しようとする課題】
【0005】
しかし、特許文献1に開示された空隙部は、永久磁石が挿入固定される孔部と空隙部とを区画する隔壁の強度を高め、回転電機の高速回転化を図ることを目的とするものであり、特に、回転電機を2相モータとした際に生じる大きな4次トルクリプルを低減することができるロータの構造が望まれていた。
【0006】
本願は上記課題の解決のため、ロータ構造の工夫により回転電機のトルクリプルの低減を目的としたものである。そして、ひいてはエネルギ効率の改善に寄与するものである。
【課題を解決するための手段】
【0007】
前記目的を達成するために、本発明は、円環状のロータコアを有し、前記ロータコアに、永久磁石を挿入固定することで周方向に等間隔で並ぶ複数の磁極を構成するための複数の孔が形成されている、回転電機のロータにおいて、前記孔が、1つの前記磁極毎に、径方向内側に位置する2つの内側孔と、該内側孔より径方向外側に位置する1つの外側孔とによって構成されており、前記2つの内側孔が、前記ロータの回転方向側に位置する第1内側孔と、該第1内側孔に対して反回転方向側に位置する第2内側孔とからなり、前記第1内側孔および前記第2内側孔が、前記磁極の中心軸をd軸とし、該d軸から電気角で90°ずれた軸をq軸としたときに、前記d軸を中心に互いに向かい合って配設されており、前記ロータコアに、該ロータコアの外周部に設けられた窪みであると共に前記第2内側孔と連通する空隙部が設けられている点に第1の特徴がある。
【0008】
また、前記空隙部が、前記d軸に対して前記ロータの反回転方向側に位置する前記q軸の磁路上に位置する点に第2の特徴がある。
【0009】
また、前記第1内側孔および前記第2内側孔が、それぞれ、軸方向視で長方形をなす前記永久磁石を挿入可能な長尺形状とされており、前記d軸寄りの一端部より前記d軸から離間した他端部の方が径方向外側に位置するように、互いに対称をなして傾斜している点に第3の特徴がある。
【0010】
また、前記空隙部の周方向寸法が、径方向外側に向かうにつれて大きくなる点に第4の特徴がある。
(【0011】以降は省略されています)
この特許をJ-PlatPat(特許庁公式サイト)で参照する
関連特許
株式会社アイシン
ロータ
1日前
西部電機株式会社
充電装置
4日前
西部電機株式会社
充電装置
4日前
日本精機株式会社
サージ保護回路
4日前
トヨタ自動車株式会社
固定子
2日前
トヨタ自動車株式会社
回転子
8日前
トヨタ自動車株式会社
製造装置
2日前
個人
連続ガウス加速器形磁力増幅装置
4日前
株式会社ダイヘン
充電装置
1日前
株式会社ダイヘン
充電装置
1日前
株式会社アイシン
ステータ
1日前
株式会社ダイヘン
充電装置
1日前
株式会社アイシン
ステータ
1日前
株式会社アイシン
ステータ
1日前
株式会社アイシン
ステータ
1日前
株式会社ダイヘン
充電装置
1日前
カヤバ株式会社
筒型リニアモータ
3日前
個人
太陽エネルギー収集システム
2日前
株式会社ミツバ
ブラシレスモータ
3日前
東京瓦斯株式会社
通信装置
3日前
トヨタ自動車株式会社
ロータ
10日前
ニチコン株式会社
AC入力検出回路
8日前
日産自動車株式会社
ステータ
9日前
トヨタ自動車株式会社
被膜形成装置
2日前
株式会社デンソー
電力変換装置
8日前
株式会社ミツバ
回転電機
1日前
株式会社大林組
可搬式充電設備
9日前
東京瓦斯株式会社
給電システム
3日前
ASTI株式会社
電力変換装置
2日前
株式会社ダイヘン
電力変換装置
4日前
株式会社ダイヘン
電力システム
4日前
株式会社アイシン
駆動装置
2日前
キヤノン株式会社
無線電力伝送システム
2日前
大和ハウス工業株式会社
システム
3日前
シャープ株式会社
表示装置
2日前
株式会社アイシン
回転電機
8日前
続きを見る
他の特許を見る