TOP
|
特許
|
意匠
|
商標
特許ウォッチ
Twitter
他の特許を見る
10個以上の画像は省略されています。
公開番号
2025144008
公報種別
公開特許公報(A)
公開日
2025-10-02
出願番号
2024043560
出願日
2024-03-19
発明の名称
プレス加工方法及びプレス加工設備
出願人
本田技研工業株式会社
代理人
弁理士法人桐朋
主分類
B21D
28/24 20060101AFI20250925BHJP(本質的には材料の除去が行なわれない機械的金属加工;金属の打抜き)
要約
【課題】抜きカスの処理工程において略平板状の抜きカスが様々な箇所に貼り付くことを抑制する。
【解決手段】プレス加工方法は、ダイ54に板材Pが支持された状態で、凸部Cを含む板材Pの穴加工領域Rをパンチ52で打ち抜くことで、板材Pにピアス穴Hを形成する第2工程を有する。第2工程は、凸部Cと凸部Cを囲むベース部R1とがパンチ52に接触するベース部接触工程と、凸部Cがパンチ52に接触した状態で、ベース部R1が弾性復元力によってパンチ52から離間するベース部離間工程とを有する。
【選択図】図11
特許請求の範囲
【請求項1】
金属製の板材にピアス穴を形成するプレス加工方法であって、
前記プレス加工方法は、前記板材の穴加工領域に、前記板材の厚さ方向に膨出した凸部を形成する第1工程と、
前記凸部が穴形成装置のパンチに向かい合い、且つ前記パンチに向けて突出するように前記穴形成装置のダイに前記板材を配置し、前記板材において前記穴加工領域を囲む部分を前記ダイで支持し、前記ダイに前記板材が支持された状態で、前記凸部を含む前記穴加工領域を前記パンチで打ち抜くことで、前記板材に前記ピアス穴を形成する第2工程と、
を有し、
前記第2工程は、
前記凸部と、前記穴加工領域のうち前記凸部を囲むベース部とが、前記パンチに接触するベース部接触工程と、
前記凸部が前記パンチに接触した状態で、前記ベース部が弾性復元力によって前記パンチから離間するベース部離間工程と、を有する、プレス加工方法。
続きを表示(約 1,000 文字)
【請求項2】
請求項1に記載のプレス加工方法において、
前記穴加工領域は、前記第2工程において前記パンチに向かい合う第1面と、前記第1面とは反対の面である第2面とを有し、
前記ベース部接触工程では、前記穴加工領域のうち前記凸部と前記ベース部とを繋ぐ連結部が、前記第2面において、前記パンチから離間する方向に凸状となる、プレス加工方法。
【請求項3】
請求項1又は2に記載のプレス加工方法において、
前記板材の厚さ方向から見たとき、前記凸部の面積が、前記ピアス穴の面積の20%~70%である、プレス加工方法。
【請求項4】
請求項1に記載のプレス加工方法において、
前記ベース部は、前記パンチの先端に向かい合う表面を有し、前記ベース部の前記表面に対する前記凸部の高さは、前記板材の板厚よりも大きい、プレス加工方法。
【請求項5】
請求項4に記載のプレス加工方法において、
前記ベース部の前記表面に対する前記凸部の高さは、前記板材の前記板厚の3倍~6倍の範囲内である、プレス加工方法。
【請求項6】
第1型及び第2型を備える金型を有し、前記第1型と前記第2型とが相対移動することで板材に対して凸部を成形するプレス成形装置と、
前記板材の穴加工領域に対してピアス穴を加工する穴形成装置と、
を備えたプレス加工設備であって、
前記プレス成形装置の前記金型は、前記板材の前記穴加工領域に対し、前記板材の厚さ方向に膨出した前記凸部を成形するための凸部成形部を有し、
前記凸部成形部は、前記第1型及び前記第2型の相対移動方向から見て前記穴加工領域よりも小さく前記凸部を形成し、
前記穴形成装置は、前記凸部を含む前記穴加工領域を打ち抜くパンチと、
前記板材において前記穴加工領域を囲む部分を支持するダイと、
を有し、
前記穴形成装置は、前記ダイに前記板材が支持された状態で、前記凸部を含む前記穴加工領域を前記パンチで打ち抜くことで前記板材に前記ピアス穴を形成する際に、前記凸部と、前記穴加工領域のうち前記凸部を囲むベース部とを、前記パンチに接触させる工程と、前記凸部を前記パンチに接触させた状態で前記ベース部を弾性復元力によって前記パンチから離間させる工程と、を行う、プレス加工設備。
発明の詳細な説明
【技術分野】
【0001】
本発明は、プレス加工方法及びプレス加工設備に関する。
続きを表示(約 2,100 文字)
【背景技術】
【0002】
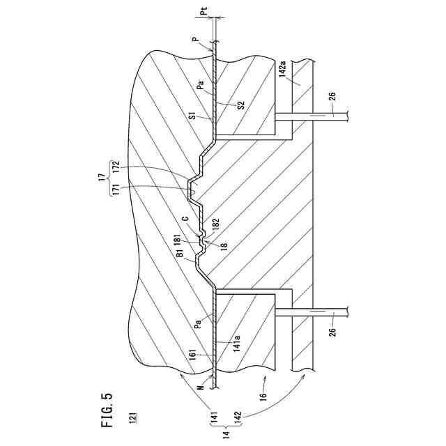
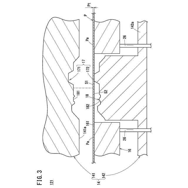
特許文献1は、板材を打ち抜いて穴を形成する穴形成装置によるプレス加工装置を開示している。このプレス加工装置では、板材の打ち抜かれる打ち抜き部位をパンチで打ち抜くことで板材にピアス穴を形成する。パンチを板材に向けて下降させてパンチの先端で打ち抜き部位を板材の厚さ方向に打ち抜く。打ち抜かれた板材の打ち抜き部位が略平板状の抜きカスとなり、抜きカスはパンチが挿入されるダイの穴部に落下する。板材にピアス穴を形成した後、パンチが上昇してダイの穴部から離脱する。
【先行技術文献】
【特許文献】
【0003】
特許第5477947号公報
【発明の概要】
【発明が解決しようとする課題】
【0004】
特許文献1のプレス加工装置では、パンチによって板材を打ち抜いた後にパンチを上昇させる際、抜きカスが落下せずにパンチの先端に抜きカスが貼り付いた状態でパンチと共に上昇することがある。パンチと共に抜きカスが上昇した場合、板材の上方でパンチから略平板状の抜きカスが板材に落下して貼り付くという問題がある。また、パンチと共に抜きカスが上昇せずに落下した場合でも、抜きカスの処理工程において略平板状の抜きカスが様々な箇所に貼り付いてしまうことが懸念される。
【0005】
本発明は、上述した課題を解決することを目的とする。
【課題を解決するための手段】
【0006】
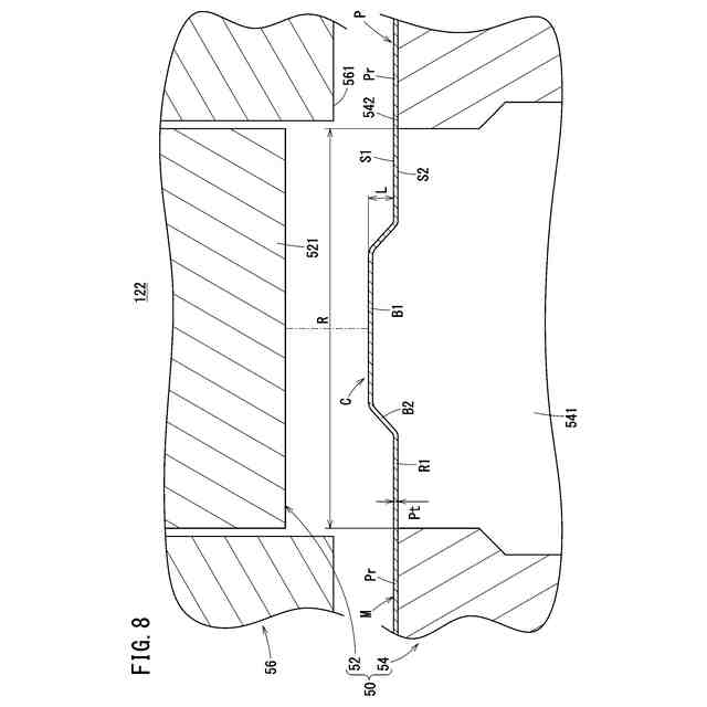
本発明の第1態様は、金属製の板材にピアス穴を形成するプレス加工方法であって、前記プレス加工方法は、前記板材の穴加工領域に、前記板材の厚さ方向に膨出した凸部を形成する第1工程と、前記凸部が穴形成装置のパンチに向かい合い、且つ前記パンチに向けて突出するように前記穴形成装置のダイに前記板材を配置し、前記板材において前記穴加工領域を囲む部分を前記ダイで支持し、前記ダイに前記板材が支持された状態で、前記凸部を含む前記穴加工領域を前記パンチで打ち抜くことで、前記板材に前記ピアス穴を形成する第2工程と、を有し、前記第2工程は、前記凸部と、前記穴加工領域のうち前記凸部を囲むベース部とが、前記パンチに接触するベース部接触工程と、前記凸部が前記パンチに接触した状態で、前記ベース部が弾性復元力によって前記パンチから離間するベース部離間工程と、を有する、プレス加工方法である。
【0007】
本加工方法によれば、板材の穴加工領域をパンチで打ち抜く際に、凸部を囲むベース部が弾性復元力によってパンチから離間することで、ベース部とパンチとの間に空間が形成される。これにより、打ち抜かれたブランク材のパンチの先端への貼り付きが効果的に抑制される。ブランク材が凸部を有しているため、様々な箇所へのブランク材の貼り付きが抑制される。
【0008】
また、本発明の第2態様は、第1型及び第2型を備える金型を有し、前記第1型と前記第2型とが相対移動することで板材に対して凸部を成形するプレス成形装置と、前記板材の穴加工領域に対してピアス穴を加工する穴形成装置と、を備えたプレス加工設備であって、前記プレス成形装置の前記金型は、前記板材の前記穴加工領域に対し、前記板材の厚さ方向に膨出した前記凸部を成形するための凸部成形部を有し、前記凸部成形部は、前記第1型及び前記第2型の相対移動方向から見て前記穴加工領域よりも小さく前記凸部を形成し、前記穴形成装置は、前記凸部を含む前記穴加工領域を打ち抜くパンチと、前記板材において前記穴加工領域を囲む部分を支持するダイと、を有し、前記穴形成装置は、前記ダイに前記板材が支持された状態で、前記凸部を含む前記穴加工領域を前記パンチで打ち抜くことで前記板材に前記ピアス穴を形成する際に、前記凸部と、前記穴加工領域のうち前記凸部を囲むベース部とを、前記パンチに接触させる工程と、前記凸部を前記パンチに接触させた状態で前記ベース部を弾性復元力によって前記パンチから離間させる工程と、を行う、プレス加工設備である。
【0009】
この構成によれば、プレス加工設備のプレス成形装置によって板材の製品形状部と共に穴加工領域に凸部を成形できる。
【発明の効果】
【0010】
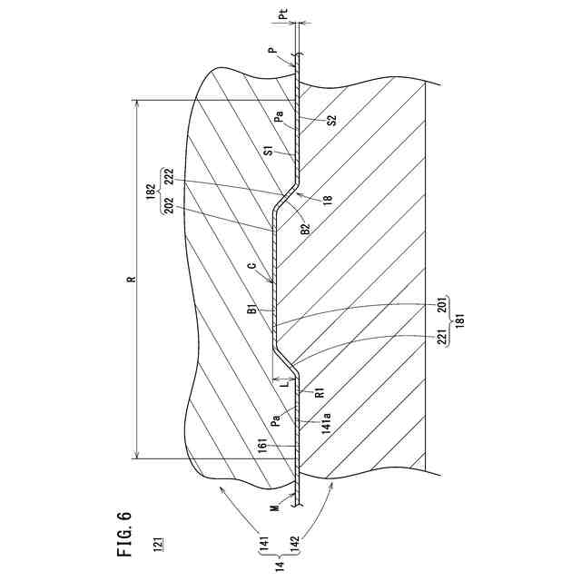
本発明によれば、凸部を含む板材の穴加工領域をパンチで打ち抜くことで、板材にピアス穴を形成する第2工程を有し、第2工程が、穴加工領域のうち凸部を囲むベース部及び凸部がパンチに接触するベース部接触工程と、凸部がパンチに接触した状態で、ベース部が弾性復元力によってパンチから離間するベース部離間工程とを有している。これにより、穴加工領域をパンチで打ち抜く際に、凸部を囲むベース部が弾性復元力によってパンチから離間し、ベース部とパンチとの間に空間が形成される。そのため、ベース部とパンチとの間の空間によって、打ち抜かれたブランク材のパンチの先端への貼り付きが効果的に抑制される。
【図面の簡単な説明】
(【0011】以降は省略されています)
この特許をJ-PlatPat(特許庁公式サイト)で参照する
関連特許
本田技研工業株式会社
車両
1か月前
本田技研工業株式会社
車両
1か月前
本田技研工業株式会社
車両
1か月前
本田技研工業株式会社
車両
1か月前
本田技研工業株式会社
車両
1か月前
本田技研工業株式会社
飛行体
1か月前
本田技研工業株式会社
二次電池
1か月前
本田技研工業株式会社
触媒装置
1か月前
本田技研工業株式会社
固体電池
1か月前
本田技研工業株式会社
内燃機関
1か月前
本田技研工業株式会社
清掃装置
1か月前
本田技研工業株式会社
排気装置
1か月前
本田技研工業株式会社
収容装置
1か月前
本田技研工業株式会社
電気機器
1か月前
本田技研工業株式会社
内燃機関
1か月前
本田技研工業株式会社
排気装置
1か月前
本田技研工業株式会社
固体電池
1か月前
本田技研工業株式会社
排気装置
1か月前
本田技研工業株式会社
電気機器
1か月前
本田技研工業株式会社
除草装置
1か月前
本田技研工業株式会社
発電セル
1か月前
本田技研工業株式会社
電気部品
1か月前
本田技研工業株式会社
制御装置
1か月前
本田技研工業株式会社
電気機器
1か月前
本田技研工業株式会社
エンジン
1か月前
本田技研工業株式会社
電極積層体
1か月前
本田技研工業株式会社
鞍乗型車両
1か月前
本田技研工業株式会社
全固体電池
1か月前
本田技研工業株式会社
樹脂成型品
1か月前
本田技研工業株式会社
鞍乗型車両
1か月前
本田技研工業株式会社
全固体電池
1か月前
本田技研工業株式会社
リアクトル
1か月前
本田技研工業株式会社
電動船外機
1か月前
本田技研工業株式会社
鞍乗型車両
1か月前
本田技研工業株式会社
始動制御装置
1か月前
本田技研工業株式会社
電池製造装置
1か月前
続きを見る
他の特許を見る