TOP
|
特許
|
意匠
|
商標
特許ウォッチ
Twitter
他の特許を見る
公開番号
2025143818
公報種別
公開特許公報(A)
公開日
2025-10-02
出願番号
2024043261
出願日
2024-03-19
発明の名称
車両固定装置
出願人
株式会社明電舎
代理人
個人
,
個人
,
個人
,
個人
主分類
G01M
17/007 20060101AFI20250925BHJP(測定;試験)
要約
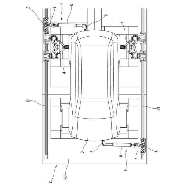
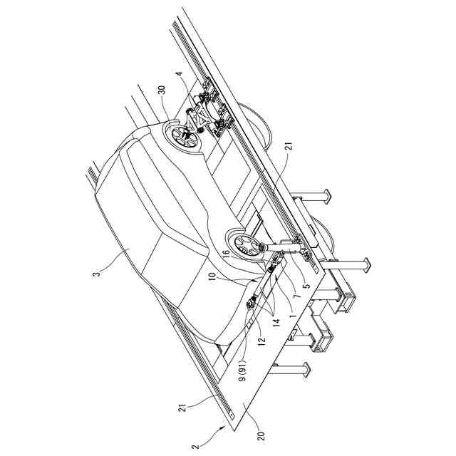
【課題】試験車両の改造を要することなく試験車両のヨーイング運動を拘束する作業性と周辺機器配置の自由度の向上を図る。
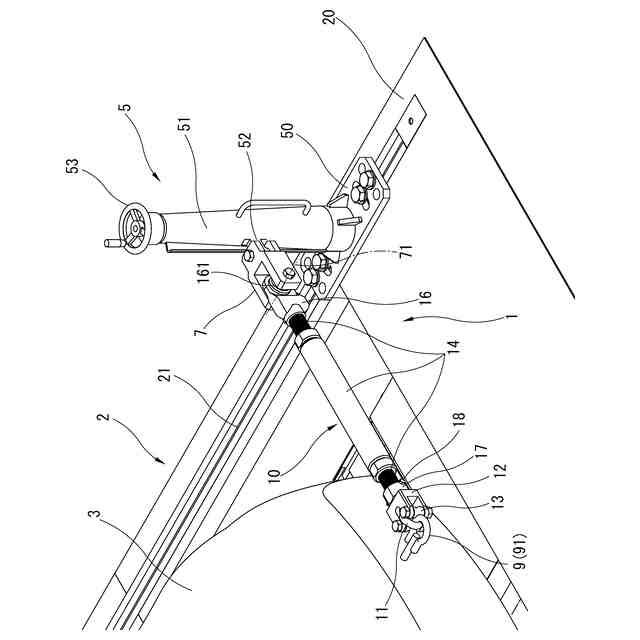
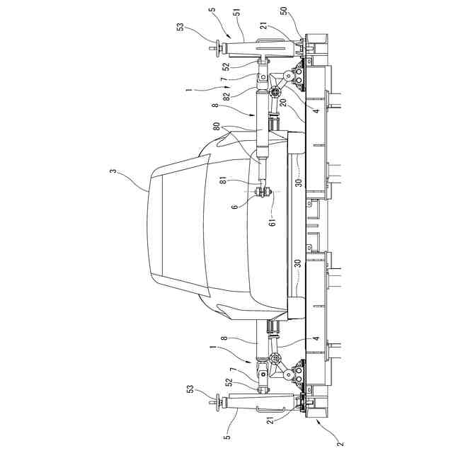
【解決手段】車両固定装置1は、車両試験装置2に供される試験車両3のヨーイングを拘束する。車両固定装置1は、支柱部5、車両側連結具6、支柱側連結具7及び連結機構8を備える。支柱部5は、車両試験装置2のスライドレール21における任意の位置に取り付け可能である。車両側連結具6は、試験車両3に取り付け可能である。支柱側連結具7は支柱部5に水平方向に回転可能に支持される。連結機構8は、車両側連結具6に水平方向に回転可能に連結されると共に支柱側連結具7に上下方向に回転可能に連結される。
【選択図】図1
特許請求の範囲
【請求項1】
車両試験装置に供される試験車両のヨーイングを拘束する車両固定装置であって、
前記車両試験装置のスライドレールにおける任意の位置に取り付け可能な支柱部と、
前記試験車両に取り付け可能な車両側連結具と、
前記支柱部に水平方向に回転可能に支持される支柱側連結具と、
前記車両側連結具及び前記支柱側連結具のうちの一方に水平方向に回転可能に連結されると共に、前記車両側連結具及び前記支柱側連結具のうち前記一方と異なる他方に上下方向に回転可能に連結される連結機構と、
を備えたことを特徴とする車両固定装置。
続きを表示(約 500 文字)
【請求項2】
前記支柱側連結具は前記支柱部の高さ方向に位置調整可能であることを特徴とする請求項1に記載の車両固定装置。
【請求項3】
前記車両側連結具は、前記試験車両の前部若しくは後部に螺着により取り付けられ、回転軸により前記連結機構の車両側連結端部を水平方向に回転可能に支持することを特徴とする請求項1に記載の車両固定装置。
【請求項4】
前記車両側連結具は、前記試験車両の前部及び後部に取り付け可能な牽引フックからなり、
前記連結機構は、
前記牽引フックに掛けられる連結フックと、
当該連結機構の車両側連結端部に固定可能な連結ナットと、
この連結ナットに螺着される前記連結フックの雄ねじ部が挿通可能なアダプタと、
このアダプタに支持されて前記牽引フックの外周面との嵌合面を有する回転治具と、
を有すること
を特徴とする請求項1に記載の車両固定装置。
【請求項5】
前記連結機構は前記車両側連結具と前記支柱側連結具の連結長さが調整可能であることを特徴とする請求項1に記載の車両固定装置。
発明の詳細な説明
【技術分野】
【0001】
本発明は、試験車両の駆動車輪をローラに載せ、ローラにダイナモメータを連結し、試験車両の駆動力およびブレーキ力をローラに介してダイナモメータに伝達し、室内で試験車両の路上走行をシミュレートする試験車両の固定装置に関する。
続きを表示(約 1,500 文字)
【背景技術】
【0002】
車両試験装置に供される試験車両の車両固定装置としては、試験車両のローリング、ヨーイング(車両の左右方向の動き)及びピッチングを可能に前後方向の動きを拘束する車両固定装置が特許文献1に開示されている。
【0003】
また、特許文献2には車両固定装置の連結用のアダプタを試験車両の底面の補強用の梁やサイドシル等に設けられたアダプタ挿入部に挿入することで試験車両の前後方向、左右方向(ヨーイング方向)、上下方向の動きを固定する車両固定装置が開示されている。
【先行技術文献】
【特許文献】
【0004】
特公平2-48854号公報
特開2011-33517号公報
【発明の概要】
【発明が解決しようとする課題】
【0005】
引用文献1の車両拘束装置は、試験車両の前後方向の動きが拘束されるが、ヨーイングが固定されないので、試験車両に何らかの異常が発生した際に、車輪がローラ上で左右に動くことで車両が振られる。これにより、タイヤがローラから逸脱若しくは逸脱防止用のサイドローラに衝突を繰り返して危険な状況になることがある。そのため、車両の前方に取り付けられた牽引フックにワイヤーロープやチェーン等を結合することで、車両のヨーイングを固定する方法が考えられるが、ワイヤーロープやチェーン等の張力管理や取付け角度調整などが必要となりセッティングや調整の作業性が悪い。
【0006】
また、車両の前方には車両冷却ファンが配置されることが多く、ワイヤーロープやチェーン等で車体を固定すると車両冷却ファンの吐出口と干渉し、車両冷却ファンの吐出口と車両前方の距離が縮められず適切な配置が困難となる場合がある。さらには、適切な風速で試験車両を冷却することができず、本来の試験や評価に支障がある。
【0007】
そして、試験車両の回転部(タイヤやハブナット)を固定した際、安全上の観点から車両に取り付いている牽引フックとワイヤーロープやチェーン等によりピット上へ結合することで張力管理や取付け角度調整などが必要となりセッティングや調整の作業性が悪い。
【0008】
引用文献2の車両固定装置は、試験車両の底面の補強用の梁やサイドシルに設置されたアダプタ挿入部に車両固定装置の連結用のアダプタを挿入させて、試験車両のヨーイングを固定するが、当該アダプタ挿入部が設置される部位は車両固定用でない場合が多い。このため、前記部位は剛性が低い部分(箇所)が多く、試験車両と車両固定装置の結合部分へ左右方向の力が加わると破損する可能性がある。
【0009】
本発明は、以上の事情を鑑みなされたもので、試験車両の改造を要することなく試験車両のヨーイング運動を拘束する作業性と周辺機器配置の自由度の向上を図ることを課題とする。
【課題を解決するための手段】
【0010】
本発明の一態様は、車両試験装置に供される試験車両のヨーイングを拘束する車両固定装置であって、前記車両試験装置のスライドレールにおける任意の位置に取り付け可能な支柱部と、前記試験車両に取り付け可能な車両側連結具と、前記支柱部に水平方向に回転可能に支持される支柱側連結具と、前記車両側連結具及び前記支柱側連結具のうちの一方に水平方向に回転可能に連結されると共に、前記車両側連結具及び前記支柱側連結具のうち前記一方と異なる他方に上下方向に回転可能に連結される連結機構と、を備える。
(【0011】以降は省略されています)
この特許をJ-PlatPat(特許庁公式サイト)で参照する
関連特許
株式会社明電舎
回転機
1か月前
株式会社明電舎
ドローン
1か月前
株式会社明電舎
回転電機
2か月前
株式会社明電舎
成膜装置
24日前
株式会社明電舎
回転電機
2か月前
株式会社明電舎
回転電機
1か月前
株式会社明電舎
電力変換装置
2か月前
株式会社明電舎
電力変換装置
2か月前
株式会社明電舎
負荷制御装置
23日前
株式会社明電舎
負荷制御装置
23日前
株式会社明電舎
車両固定装置
1か月前
株式会社明電舎
負荷制御装置
23日前
株式会社明電舎
車両固定装置
1か月前
株式会社明電舎
電力系統システム
2か月前
株式会社明電舎
電流制御システム
1か月前
株式会社明電舎
センサ固定用治具
1か月前
株式会社明電舎
ロータ及び回転機
1か月前
株式会社明電舎
電力系統システム
1か月前
株式会社明電舎
オゾン水の生成装置
1か月前
株式会社明電舎
オゾン水の生成装置
1か月前
株式会社明電舎
オゾン水の生成装置
1か月前
株式会社明電舎
電極構造,真空インタラプタ
2か月前
株式会社明電舎
軸受及びそれを備えた回転機
2か月前
株式会社明電舎
遮断器のリンク機構、遮断器
1か月前
株式会社明電舎
不良検知装置及び不良検知方法
1か月前
株式会社明電舎
電流センサおよび電力変換装置
2か月前
株式会社明電舎
半導体モジュールおよび電力変換装置
1か月前
株式会社明電舎
ロータ、回転電機及び車両駆動用装置
1か月前
株式会社明電舎
架線位置計測装置及び架線位置計測方法
1か月前
株式会社明電舎
水冷式回転機のフレーム、及びその製造方法
1か月前
株式会社明電舎
目標車速パターンデータ生成方法及び試験方法
1か月前
株式会社明電舎
電力変換装置および電力変換装置のゲート指令生成方法
1か月前
株式会社明電舎
出力調整機構、電界放射装置及び電界放射装置の出力制御方法
1か月前
株式会社明電舎
絶縁型DC/DC変換器および絶縁型DC/DC変換器の制御方法
1か月前
株式会社明電舎
部分放電測定システムおよびその測定装置、部分放電測定方法、部分放電測定プログラム
2か月前
国立大学法人長岡技術科学大学
グリッドフォーミングインバータの制御装置および制御方法
1か月前
続きを見る
他の特許を見る