TOP
|
特許
|
意匠
|
商標
特許ウォッチ
Twitter
他の特許を見る
10個以上の画像は省略されています。
公開番号
2025143799
公報種別
公開特許公報(A)
公開日
2025-10-02
出願番号
2024043238
出願日
2024-03-19
発明の名称
流路接続構造、液体吐出装置、及び流路形成方法
出願人
セイコーエプソン株式会社
代理人
個人
,
個人
,
個人
主分類
B41J
2/175 20060101AFI20250925BHJP(印刷;線画機;タイプライター;スタンプ)
要約
【課題】固定部材によって接続部材が変形したり、接続部材の姿勢が変化したりすることを抑制可能な流路接続構造、液体吐出装置、及び流路形成方法を提供する。
【解決手段】第1流路31と第2流路とを接続する流路接続構造であって、第1流路31又は第2流路を構成し、Z軸に沿って延在する筒状の流路部材70と、弾性体からなり、流路部材70に装着される筒状の接続部材80と、を備え、接続部材80の一端は、流路部材70の内面側に配置され、接続部材80の他端は、流路部材70の+Z方向側の端部において、流路部材70の外面を覆うように折り返されている。
【選択図】図4
特許請求の範囲
【請求項1】
第1流路と第2流路とを接続する流路接続構造であって、
前記第1流路又は前記第2流路を構成し、第1方向に沿って延在する筒状の流路部材と、
弾性体からなり、前記流路部材に装着される筒状の接続部材と、を備え、
前記接続部材の一端は、前記流路部材の内面側に配置され、
前記接続部材の他端は、前記流路部材の前記第1方向側の端部において、前記流路部材の外面を覆うように折り返されていることを特徴とする流路接続構造。
続きを表示(約 850 文字)
【請求項2】
前記接続部材の前記他端には、前記流路部材と係合する係合部が設けられていることを特徴とする請求項1に記載の流路接続構造。
【請求項3】
前記流路部材には、前記接続部材によって覆われる位置に、外側に突出する突縁部が設けられており、
前記係合部は、前記接続部材が前記流路部材に装着された状態において、前記突縁部よりも前記第1方向とは反対の第2方向側に位置し、前記突縁部の外面よりも内側に突出することを特徴とする請求項2に記載の流路接続構造。
【請求項4】
前記第1流路及び前記第2流路は、液体を収容する液体収容部から、前記液体を媒体に吐出する吐出ヘッドに前記液体を供給する流路であることを特徴とする請求項1~3のいずれか一項に記載の流路接続構造。
【請求項5】
液体を収容する液体収容部と、
前記液体を媒体に吐出する吐出ヘッドと、
前記液体収容部と前記吐出ヘッドとの間で直列的に接続され、前記液体収容部から前記吐出ヘッドに前記液体を供給する第1流路及び第2流路と、
前記第1流路と前記第2流路とを接続する流路接続部と、を備え、
前記流路接続部は、
前記第1流路又は前記第2流路を構成し、第1方向に沿って延在する筒状の流路部材と、
弾性体からなり、前記流路部材に装着される筒状の接続部材と、を備え、
前記接続部材の一端は、前記流路部材の内面側に配置され、
前記接続部材の他端は、前記流路部材の前記第1方向側の端部において、前記流路部材の外面を覆うように折り返されていることを特徴とする液体吐出装置。
【請求項6】
弾性体からなる筒状の接続部材の一端を、第1方向に沿って延在する筒状の流路部材の内面側に配置することと、
前記接続部材の他端を、前記流路部材の前記第1方向側の端部において、前記流路部材の外面を覆うように折り返すことと、を含む流路形成方法。
発明の詳細な説明
【技術分野】
【0001】
本発明は、流路接続構造、液体吐出装置、及び流路形成方法に関する。
続きを表示(約 1,900 文字)
【背景技術】
【0002】
特許文献1には、インクカートリッジからインク供給管を介して流路形成部材にインクが供給されるインクジェット式記録装置が記載されている。流路形成部材のインク導入口には、弾性付勢部材であるシール部材が固定部材によって固定されている。シール部材には、保持孔が形成されており、インク供給管は、保持孔に嵌合して保持される。
【先行技術文献】
【特許文献】
【0003】
特開2016-41519号公報
【発明の概要】
【発明が解決しようとする課題】
【0004】
しかしながら、上記のような構成では、固定部材によってシール部材を固定する際に、シール部材が変形したり、シール部材の姿勢が変化したりすることが起こり得る。シール部材に変形や姿勢の変化があると、インク導入口においてインクの漏洩が生じる恐れがある。
【課題を解決するための手段】
【0005】
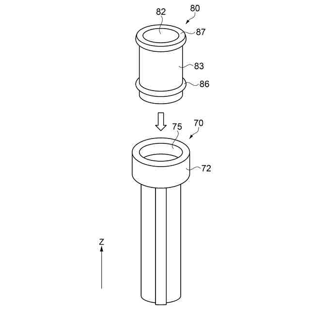
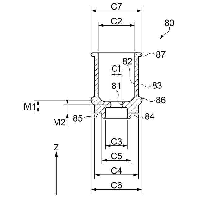
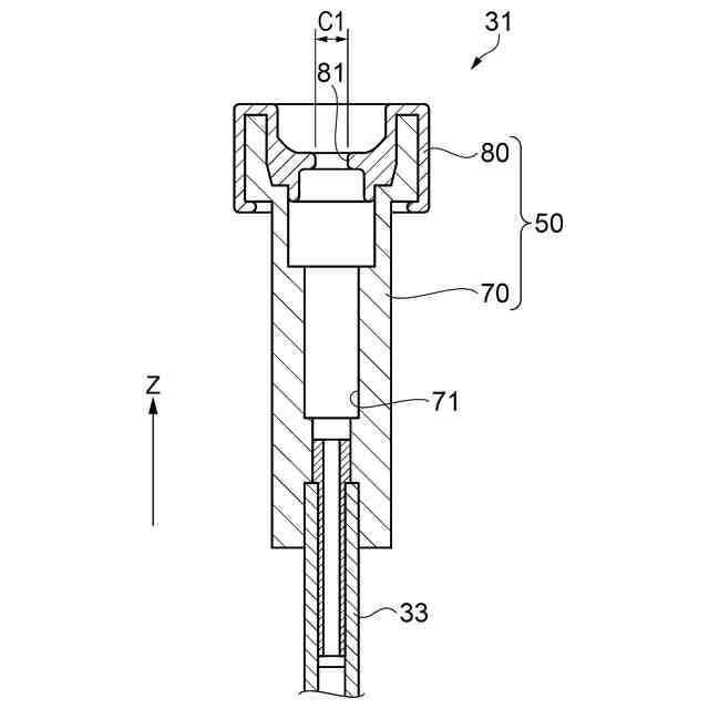
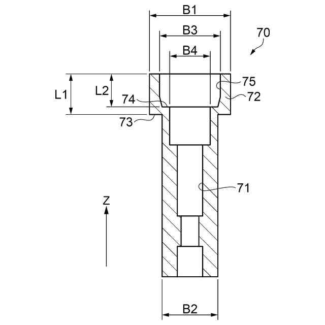
流路接続構造は、第1流路と第2流路とを接続する流路接続構造であって、前記第1流路又は前記第2流路を構成し、第1方向に沿って延在する筒状の流路部材と、弾性体からなり、前記流路部材に装着される筒状の接続部材と、を備え、前記接続部材の一端は、前記流路部材の内面側に配置され、前記接続部材の他端は、前記流路部材の前記第1方向側の端部において、前記流路部材の外面を覆うように折り返されていることを特徴とする。
【0006】
液体吐出装置は、液体を収容する液体収容部と、前記液体を媒体に吐出する吐出ヘッドと、前記液体収容部と前記吐出ヘッドとの間で直列的に接続され、前記液体収容部から前記吐出ヘッドに前記液体を供給する第1流路及び第2流路と、前記第1流路と前記第2流路とを接続する流路接続部と、を備え、前記流路接続部は、前記第1流路又は前記第2流路を構成し、第1方向に沿って延在する筒状の流路部材と、弾性体からなり、前記流路部材に装着される筒状の接続部材と、を備え、前記接続部材の一端は、前記流路部材の内面側に配置され、前記接続部材の他端は、前記流路部材の前記第1方向側の端部において、前記流路部材の外面を覆うように折り返されていることを特徴とする。
【0007】
流路形成方法は、弾性体からなる筒状の接続部材の一端を、第1方向に沿って延在する筒状の流路部材の内面側に配置することと、前記接続部材の他端を、前記流路部材の前記第1方向側の端部において、前記流路部材の外面を覆うように折り返すことと、を含む。
【図面の簡単な説明】
【0008】
液体吐出装置の概略構成を示す構成図。
中継部の内部の構成を示す側面図。
第1流路と第2流路とが接続される前の状態の中継部を示す側面図。
流路接続部の構成を示す断面図。
流路接続部が形成される前の流路部材を示す斜視図。
流路接続部が形成される前の流路部材を示す断面図。
流路接続部が形成される前の接続部材を示す斜視図。
流路接続部が形成される前の接続部材を示す断面図。
流路接続部の形成方法を説明するための斜視図。
流路接続部の形成方法を説明するための斜視図。
流路接続部の形成方法を説明するための斜視図。
流路接続部の形成方法を説明するための断面図。
流路接続部の形成方法を説明するための断面図。
流路接続部の形成方法を説明するための断面図。
【発明を実施するための形態】
【0009】
1.実施形態
以下、本実施形態の液体吐出装置1について、図面を参照して説明する。本実施形態の液体吐出装置1は、例えば、記録対象である媒体Mに対して、液体の一例であるインクを吐出することにより、媒体Mに画像を記録するインクジェット式のプリンターである。媒体Mは、紙に限定されず、布や織物等のテキスタイル、塩化ビニル樹脂等、種々の素材が対象になり得る。
【0010】
各図には、互いに交差するX軸、Y軸及びZ軸が示されている。典型的には、X軸、Y軸及びZ軸は、互いに直交する。X軸は、液体吐出装置1の設置面に平行であり、液体吐出装置1の幅方向に対応する。Y軸は、液体吐出装置1の設置面に平行であり、液体吐出装置1の奥行き方向に対応する。Z軸は、液体吐出装置1の設置面に垂直であり、液体吐出装置1の高さ方向に対応する。
(【0011】以降は省略されています)
この特許をJ-PlatPat(特許庁公式サイト)で参照する
関連特許
個人
箔熱転写装置
23日前
シヤチハタ株式会社
印判
4か月前
東レ株式会社
凸版印刷版原版
9か月前
三菱製紙株式会社
感熱記録材料
10か月前
シヤチハタ株式会社
反転式印判
8か月前
三光株式会社
感熱記録材料
5か月前
キヤノン株式会社
記録装置
16日前
独立行政法人 国立印刷局
印刷物
6か月前
日本製紙株式会社
感熱記録体
7か月前
独立行政法人 国立印刷局
貼付装置
1か月前
株式会社リコー
液体吐出装置
7か月前
株式会社リコー
液体吐出装置
3か月前
株式会社リコー
液体吐出装置
7か月前
独立行政法人 国立印刷局
貼付機構
1か月前
株式会社リコー
画像形成装置
23日前
株式会社リコー
液体吐出装置
4か月前
株式会社リコー
液体吐出装置
5か月前
株式会社リコー
画像形成装置
今日
株式会社リコー
液体吐出装置
8か月前
株式会社リコー
液体吐出装置
4か月前
株式会社リコー
画像形成装置
4日前
独立行政法人 国立印刷局
記録媒体
8か月前
株式会社リコー
液体吐出装置
1か月前
株式会社リコー
印刷システム
4日前
ブラザー工業株式会社
プリンタ
7か月前
キヤノン株式会社
画像形成装置
4か月前
キヤノン株式会社
画像形成装置
7か月前
キヤノン株式会社
画像形成装置
8か月前
キヤノン株式会社
画像形成装置
7か月前
キヤノン株式会社
画像形成装置
10か月前
理想科学工業株式会社
印刷装置
8日前
フジコピアン株式会社
中間転写シート
9か月前
ブラザー工業株式会社
プリンタ
3か月前
ブラザー工業株式会社
プリンタ
8か月前
キヤノン株式会社
画像形成装置
5か月前
キヤノン株式会社
画像処理装置
4か月前
続きを見る
他の特許を見る