TOP
|
特許
|
意匠
|
商標
特許ウォッチ
Twitter
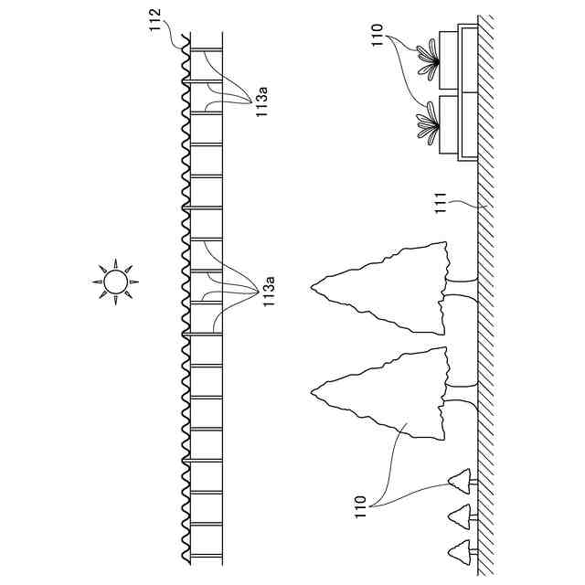
他の特許を見る
10個以上の画像は省略されています。
公開番号
2025141770
公報種別
公開特許公報(A)
公開日
2025-09-29
出願番号
2024184878
出願日
2024-10-21
発明の名称
ソーラーシェアリングシステム
出願人
ひかり屋根株式会社
代理人
主分類
H02S
40/22 20140101AFI20250919BHJP(電力の発電,変換,配電)
要約
【課題】太陽光発電パネルを屋外環境下に直接的にさらして設置することなく、充分な電力を発電可能であり、また、営農と太陽光発電とを同一の土地で行うソーラーシェアリングシステムにも効率良く適用可能な太陽光発電システムを提供する。
【解決手段】太陽光発電システムは、太陽光を拡散透過する光拡散部材と、光拡散部材の下方に固定して設けられ、光拡散部材の面から離れる方向に伸長している高い光電変換効率の複数の太陽光発電パネルとを備え、光拡散部材により拡散透過された光を太陽光発電パネルに入射させて発電を行うように構成されている。
【選択図】図1
特許請求の範囲
【請求項1】
太陽光を拡散透過する光拡散部材と、前記光拡散部材の下方に固定して設けられ、前記光拡散部材の面から離れる方向に伸長している高い光電変換効率の複数の太陽光発電パネルとを備え、前記光拡散部材により拡散透過された光を前記太陽光発電パネルに入射させて発電を行うように構成されていることを特徴とする太陽光発電システム。
続きを表示(約 910 文字)
【請求項2】
前記太陽光発電パネルが、ペロブスカイト太陽光発電膜を用いた太陽光発電パネルであることを特徴とする請求項1に記載の太陽光発電システム。
【請求項3】
前記太陽光発電パネルが、基板パネル上にペロブスカイト太陽光発電膜が積層形成された太陽光発電パネルであることを特徴とする請求項2に記載の太陽光発電システム。
【請求項4】
前記太陽光発電パネルが、シリコン太陽光発電膜とペロブスカイト太陽光発電膜とが基板パネル上に下から順次積層形成された太陽光発電パネルであることを特徴とする請求項2に記載の太陽光発電システム。
【請求項5】
前記太陽光発電パネルが、前記光拡散部材の前記面から、該面に垂直に近い角度の方向に伸長する複数の太陽光発電パネルであることを特徴とする請求項1から4のいずれか1項に記載の太陽光発電システム。
【請求項6】
前記太陽光発電パネルが、前記光拡散部材の前記面から、地平面に垂直に近い角度の方向に伸長する複数の太陽光発電パネルであることを特徴とする請求項1から4のいずれか1項に記載の太陽光発電システム。
【請求項7】
前記複数の太陽光発電パネルが、前記光拡散部材の面の一部にのみ設けられていることを特徴とする請求項1から4のいずれか1項に記載の太陽光発電システム。
【請求項8】
前記複数の太陽光発電パネルが、前記光拡散部材の面の全体に渡って設けられていることを特徴とする請求項1から4のいずれか1項に記載の太陽光発電システム。
【請求項9】
前記複数の太陽光発電パネルの少なくとも一部が、片面のみに太陽光発電膜が設けられた太陽光発電パネルであることを特徴とする請求項1から4のいずれか1項に記載の太陽光発電システム。
【請求項10】
前記複数の太陽光発電パネルの少なくとも一部が、両面に太陽光発電膜が設けられた太陽光発電パネルであることを特徴とする請求項1から4のいずれか1項に記載の太陽光発電システム。
(【請求項11】以降は省略されています)
発明の詳細な説明
【技術分野】
【0001】
本発明は、複数の太陽光発電パネルを用いて太陽光発電を行う太陽光発電システムに係り、営農(作物の育成)や他の活動と太陽光発電とを同一の土地で行うソーラーシェアリングシステムにも効果的に適用可能な太陽光発電システムに関する。
続きを表示(約 1,600 文字)
【背景技術】
【0002】
太陽光発電パネルの設置面積を国土の面積単位で換算すると、日本は世界1位であり、2位のドイツの約2倍である。このように高密度で設置されているため、最近、都市部を離れると、黒い外観を有する太陽光発電パネルが目に付くようになってきており、自然の景観を損なっているとの批判が出始めている。
【0003】
この種の太陽光発電パネルの多くは、例えば特許文献1及び2に記載されているようなシリコン系の発電モジュールを利用したものであり、太陽の直射光又はその反射光をパネル面で直接受光するように構成されている。その理由は、シリコン系の発電素子は、光電変換効率が比較的低いため、充分な強度の光を受光面に直接照射して発電する必要があるためである。
【先行技術文献】
【特許文献】
【0004】
特開2021-101478号公報
特開2022-092096号公報
【発明の概要】
【発明が解決しようとする課題】
【0005】
このように従来の太陽光発電システムでは、太陽からの直射光を直接的に受光して発電させるために、多数の太陽光パネルを野外に露出した状態で設置せざるを得なかった。その結果、自然の景観を大きく損なう結果となっていた。
【0006】
近年、太陽光発電パネルにペロブスカイト系の発電モジュールを使用することが提案され始めている。しかしながら、ペロブスカイト膜は、湿気や紫外線等に弱く、風雨や積雪、鳥の糞や鳥による破損等の鳥害にさらされる屋外環境下に設置する太陽光発電パネルにそのまま使用することは難しかった。
【0007】
従って本発明の目的は、太陽光発電パネルを屋外環境下に直接的にさらして設置することなく、充分な電力を発電可能な太陽光発電システムを提供することにある。
【0008】
本発明の他の目的は、営農や他の活動と太陽光発電とを同一の土地で行うソーラーシェアリングシステムにも効率良く適用可能な太陽光発電システムを提供することにある。
【課題を解決するための手段】
【0009】
本発明によれば、太陽光発電システムは、太陽光を拡散透過する光拡散部材と、光拡散部材の下方に固定して設けられ、この光拡散部材の面から離れる方向に伸長している高い光電変換効率の複数の太陽光発電パネルとを備え、光拡散部材により拡散透過された光を太陽光発電パネルに入射させて発電を行うように構成されている。
【0010】
光拡散部材の下方に、この光拡散部材の面から離れる方向に伸長している高い光電変換効率の複数の太陽光発電パネルが設けられており、光拡散部材により拡散された光を太陽光発電パネルに入射させることによって発電を行っている。太陽光発電パネルが光拡散部材によって覆われ、野外に露出した状態では設置されないことから、自然の景観を損なうことはなくなり、自然環境に対する耐性の乏しい太陽光発電パネルであっても問題なく設置することができる。また、太陽光発電パネルが光拡散部材の面から離れる方向に伸長しているので、光拡散部材からの拡散光を受ける光電変換面の面積が大きくなり、発電量が増大する。さらに、光拡散部材により拡散された光を通過させることによって下方の照明を行うように構成すれば、ソーラーシェアリングシステムに適用することができる。なお、本明細書における「ソーラーシェアリング」とは、太陽光発電と営農(作物の育成)とを同一の土地で行うもののみならず、太陽光発電と他の活動、例えば、種々の仕事、読書、勉学、休憩、睡眠、喫茶、食事、スポーツ、遊び、催事場、フリースペース、駐輪、駐車等のあらゆる活動とを同一の土地で行うものを含んでいる。
(【0011】以降は省略されています)
この特許をJ-PlatPat(特許庁公式サイト)で参照する
関連特許
ひかり屋根株式会社
ソーラーシェアリングシステム
15日前
個人
単極モータ
今日
株式会社アイシン
ロータ
4日前
株式会社アイシン
ロータ
今日
西部電機株式会社
充電装置
7日前
西部電機株式会社
充電装置
7日前
日本精機株式会社
サージ保護回路
7日前
トヨタ自動車株式会社
固定子
5日前
トヨタ自動車株式会社
回転子
11日前
トヨタ自動車株式会社
製造装置
5日前
個人
連続ガウス加速器形磁力増幅装置
7日前
株式会社アイシン
ステータ
4日前
個人
太陽エネルギー収集システム
5日前
株式会社ダイヘン
充電装置
4日前
株式会社アイシン
ステータ
4日前
株式会社ミツバ
ブラシレスモータ
6日前
東京瓦斯株式会社
通信装置
6日前
カヤバ株式会社
筒型リニアモータ
6日前
株式会社アイシン
ステータ
4日前
株式会社ダイヘン
充電装置
4日前
株式会社ダイヘン
充電装置
4日前
株式会社ダイヘン
充電装置
4日前
株式会社アイシン
ステータ
4日前
日産自動車株式会社
ステータ
12日前
ニチコン株式会社
AC入力検出回路
11日前
トヨタ自動車株式会社
被膜形成装置
5日前
株式会社kaisei
発電システム
今日
株式会社ダイヘン
電力システム
7日前
ASTI株式会社
電力変換装置
5日前
株式会社ダイヘン
電力変換装置
7日前
東京瓦斯株式会社
給電システム
6日前
株式会社大林組
可搬式充電設備
12日前
株式会社ミツバ
回転電機
4日前
株式会社デンソー
電力変換装置
11日前
キヤノン株式会社
無線電力伝送システム
5日前
株式会社アイシン
回転電機
7日前
続きを見る
他の特許を見る