TOP
|
特許
|
意匠
|
商標
特許ウォッチ
Twitter
他の特許を見る
10個以上の画像は省略されています。
公開番号
2025141476
公報種別
公開特許公報(A)
公開日
2025-09-29
出願番号
2024041425
出願日
2024-03-15
発明の名称
ロータ及びロータ生成方法
出願人
ニデックドライブテクノロジー株式会社
代理人
個人
,
個人
主分類
H02K
1/22 20060101AFI20250919BHJP(電力の発電,変換,配電)
要約
【課題】製造コストを削減することが可能なロータ及びロータ生成方法を提供する。
【解決手段】ロータ13は、ロータコア130と、孔131と、棒状部材とを有する。ロータコアは、環状の鋼板が積層されている。孔は、ロータコアに設けられ、環状の鋼板の積層する方向に延びる。棒状部材は、孔に位置する。棒状部材は、部材が積層されている。
【選択図】図2
特許請求の範囲
【請求項1】
環状の鋼板が積層されたロータコアと、
前記ロータコアに設けられ、前記環状の鋼板の積層する方向に延びる孔と、
前記孔に位置する棒状部材と
を有し、
前記棒状部材は、部材が積層されている、ロータ。
続きを表示(約 980 文字)
【請求項2】
前記棒状部材において積層される部材は、前記環状の鋼板と同じ材質である、請求項1に記載のロータ。
【請求項3】
前記孔は、前記ロータコアに2つ以上設けられ、
前記孔は、前記ロータコアの周方向に並べて配置される、請求項1または請求項2に記載のロータ。
【請求項4】
前記孔は、
第1径を有する第1孔と、
前記第1径より小さい第2径を有する第2孔と
を有する、請求項1または請求項2に記載のロータ。
【請求項5】
前記棒状部材は、前記第2孔に位置する、請求項4に記載のロータ。
【請求項6】
前記第2孔は、前記第1孔に対して、前記ロータコアの中心を対称点とした点対称に配置される、請求項4に記載のロータ。
【請求項7】
積層された前記環状の鋼板は、それぞれ前記第1径を有する第1開口と、前記第2径を有する第2開口とを有し、
前記第1孔は、前記第1開口が前記環状の鋼板の積層方向に繋がって形成され、
前記第2孔は、前記第2開口が前記環状の鋼板の積層方向に繋がって形成され、
前記棒状部材は、前記第1開口が形成される際に前記環状の鋼板から型抜きされた分離部材が積層されている、請求項4に記載のロータ。
【請求項8】
環状の鋼板が積層されたロータコアと、
前記ロータコアに設けられ、前記環状の鋼板の積層する方向に延びる孔と、
前記孔に位置する棒状部材と
を有し、
前記孔は、
第1径を有する第1孔と、
前記第1径より小さい第2径を有する第2孔と
を有し、
前記棒状部材は、前記第2孔に位置する、ロータ。
【請求項9】
環状の鋼板を型抜きするステップと、
前記環状の鋼板を型抜きして開口を生成するステップと、
前記環状の鋼板を積層してロータコアを生成するステップと、
前記開口を生成する際に前記環状の鋼板から型抜きされた分離部材を積層して棒状部材を生成するステップと、
前記環状の鋼板の積層方向に前記開口が繋がった孔に、前記棒状部材を配置するステップと
を含む、ロータ生成方法。
発明の詳細な説明
【技術分野】
【0001】
本開示は、ロータ及びロータ生成方法に関する。
続きを表示(約 1,300 文字)
【背景技術】
【0002】
特許文献1のロータコアは、円弧状のコアプレート片を連結して円環状のコアプレートを形成し、各コアプレート片に積層方向に揃えられた複数の貫通孔の全てに棒状部材が挿入されている。
【先行技術文献】
【特許文献】
【0003】
特開2013-143872号公報
【発明の概要】
【発明が解決しようとする課題】
【0004】
複数の貫通孔の全てに挿入する棒状部材をロータコアとは別個に形成すると、工程が増えるとともに原材料及びコストがかさみやすい。
【0005】
本開示は上記課題に鑑みてなされたものであり、その目的は、製造コストを削減することが可能なロータ及びロータ生成方法を提供することにある。
【課題を解決するための手段】
【0006】
本開示の例示的なロータは、ロータコアと、孔と、棒状部材とを有する。前記ロータコアは、環状の鋼板が積層されている。前記孔は、前記ロータコアに設けられ、前記環状の鋼板の積層する方向に延びる。前記棒状部材は、前記孔に位置する。前記棒状部材は、部材が積層されている。
【0007】
本開示の例示的な他のロータは、ロータコアと、孔と、棒状部材とを有する。前記ロータコアは、環状の鋼板が積層されている。前記孔は、前記ロータコアに設けられ、前記環状の鋼板の積層する方向に延びる。前記棒状部材は、前記孔に位置する。前記孔は、第1孔と、第2孔とを有する。前記第1孔は、第1径を有する。前記第2孔は、前記第1径より小さい第2径を有する。前記棒状部材は、前記第2孔に位置する。
【0008】
本開示の例示的なロータ生成方法は、環状の鋼板を型抜きするステップと、前記環状の鋼板を型抜きして開口を生成するステップと、前記環状の鋼板を積層してロータコアを生成するステップと、前記開口を生成する際に前記環状の鋼板から型抜きされた分離部材を積層して棒状部材を生成するステップと、前記環状の鋼板の積層方向に前記開口が繋がった孔に、前記棒状部材を配置するステップとを含む。
【発明の効果】
【0009】
例示的な本開示によれば、製造コストを削減することが可能となる。
【図面の簡単な説明】
【0010】
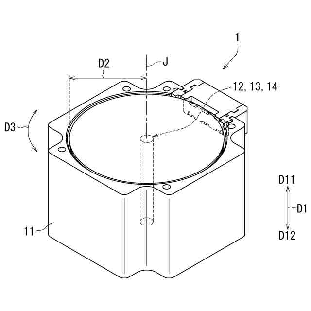
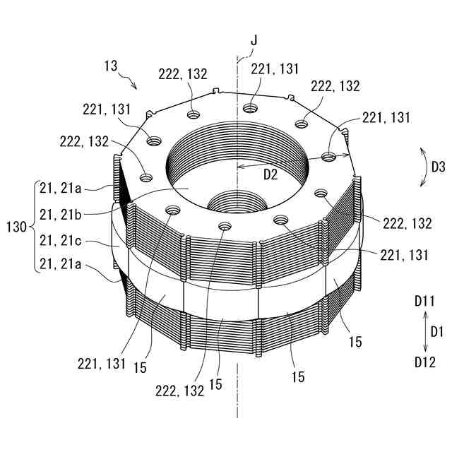
図1は、例示的な実施形態のロータを備えるモータの外観を示す図である。
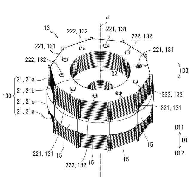
図2は、例示的な実施形態のロータを示す図である。
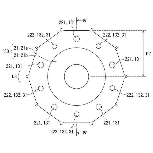
図3は、ロータを第1方向一方側から見た図である。
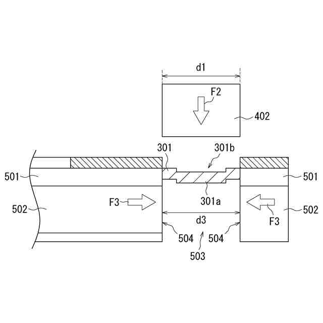
図4は、図3のIV-IV線に沿った断面図である。
図5は、図4の断面図を模式的に示す図である。
図6は、ラミネーションの形成が行われるプレス加工の工程を模式的に示す図である。
図7は、プレス加工のうちのベンド加工を模式的に示す図である。
図8は、プレス加工のうちのカット加工を模式的に示す図である。
図9は、カット加工された部品の積層を模式的に示す図である。
図10は、例示的な実施形態のロータ生成方法を示すフローチャートである。
【発明を実施するための形態】
(【0011】以降は省略されています)
この特許をJ-PlatPat(特許庁公式サイト)で参照する
関連特許
株式会社アイシン
ロータ
2日前
株式会社FUJI
制御盤
13日前
西部電機株式会社
充電装置
5日前
西部電機株式会社
充電装置
5日前
日本精機株式会社
サージ保護回路
5日前
トヨタ自動車株式会社
固定子
3日前
トヨタ自動車株式会社
回転子
9日前
個人
連続ガウス加速器形磁力増幅装置
5日前
ミサワホーム株式会社
居住設備
13日前
トヨタ自動車株式会社
製造装置
3日前
株式会社アイシン
ステータ
2日前
カヤバ株式会社
筒型リニアモータ
4日前
株式会社ミツバ
ブラシレスモータ
4日前
個人
太陽エネルギー収集システム
3日前
株式会社アイシン
ステータ
2日前
株式会社アイシン
ステータ
2日前
株式会社ダイヘン
充電装置
2日前
株式会社ダイヘン
充電装置
2日前
株式会社リコー
拡張アンテナ装置
16日前
株式会社ダイヘン
充電装置
2日前
東京瓦斯株式会社
通信装置
4日前
株式会社ダイヘン
充電装置
2日前
株式会社アイシン
ステータ
2日前
日産自動車株式会社
ステータ
10日前
ユタカ電業株式会社
ケーブルダクト
13日前
ニチコン株式会社
AC入力検出回路
9日前
トヨタ自動車株式会社
被膜形成装置
3日前
トヨタ自動車株式会社
ロータ
11日前
株式会社大林組
可搬式充電設備
10日前
NTN株式会社
モータユニット
13日前
ASTI株式会社
電力変換装置
3日前
株式会社ミツバ
回転電機
2日前
株式会社ダイヘン
電力システム
5日前
株式会社デンソー
電力変換装置
9日前
東京瓦斯株式会社
給電システム
4日前
株式会社ダイヘン
電力変換装置
5日前
続きを見る
他の特許を見る