TOP
|
特許
|
意匠
|
商標
特許ウォッチ
Twitter
他の特許を見る
公開番号
2025141466
公報種別
公開特許公報(A)
公開日
2025-09-29
出願番号
2024041411
出願日
2024-03-15
発明の名称
打刻用治具
出願人
大和ハウス工業株式会社
代理人
個人
,
個人
主分類
B41K
3/36 20060101AFI20250919BHJP(印刷;線画機;タイプライター;スタンプ)
要約
【課題】シンプルな構成で、プレートの適切な位置に打刻印で打刻することが可能な打刻用治具を提供する。
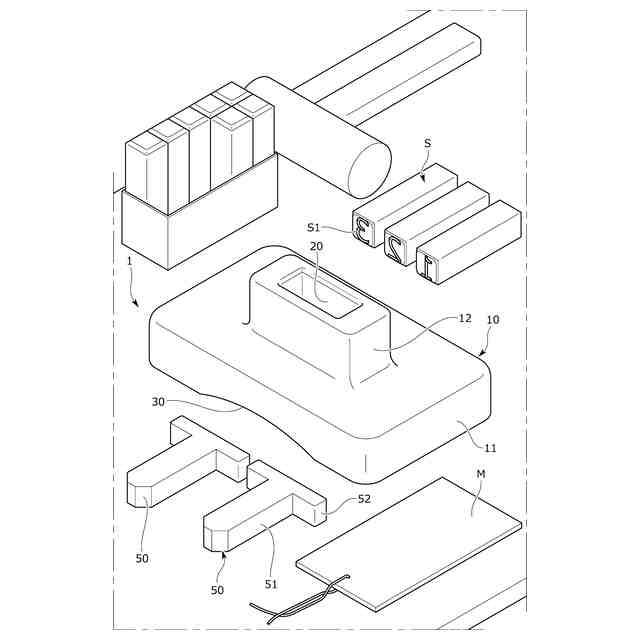
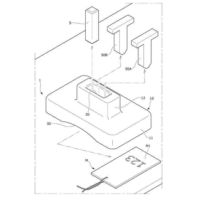
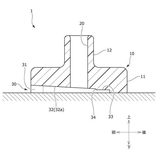
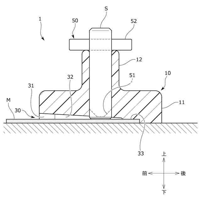
【解決手段】打刻用治具1は、治具本体10と、治具本体に着脱されるスペーサ50とを備えている。治具本体10の下方部分には、その側方からプレートMを差し込み可能な差し込み口31を有し、プレートを収容する収容凹部30が形成される。治具本体10の上面には、上下方向に貫通し、打刻印S及びスペーサ50を上方から挿通させることが可能な挿通穴20が形成される。挿通穴20は、長尺な穴であって収容凹部30に連通する。治具本体10は、収容凹部30にプレートMが収容され、挿通穴20に打刻印S及びスペーサ50が並ぶように挿通されることで、プレート、打刻印及びスペーサを支持する。スペーサ50は、挿通穴20の長尺方向に沿って打刻印Sと並んで挿通されることで、打刻印を位置決めする。
【選択図】図2
特許請求の範囲
【請求項1】
識別用のプレートの表面に打刻印によって打刻する際に用いられる打刻用治具であって、
治具本体と、
前記治具本体に着脱されるスペーサと、を備え、
前記治具本体の下方部分には、前記治具本体の側方から前記プレートを差し込み可能な差し込み口を有し、差し込まれた前記プレートを収容する収容凹部が形成され、
前記治具本体の上面には、上下方向に貫通し、前記打刻印及び前記スペーサを上方から挿通させることが可能な挿通穴が形成され、
前記挿通穴は、前記治具本体の長さ方向又は幅方向に長尺な穴として設けられ、前記収容凹部に連通するように形成され、
前記治具本体は、前記収容凹部に前記プレートが収容され、前記挿通穴に前記打刻印及び前記スペーサが並ぶように挿通されることで、前記プレート、前記打刻印及び前記スペーサを支持し、
前記スペーサは、前記挿通穴の長尺方向に沿って前記打刻印と並ぶように挿通されることで、前記打刻印を位置決めすることを特徴とする打刻用治具。
続きを表示(約 1,400 文字)
【請求項2】
前記スペーサは、前記挿通穴の長尺方向において前記打刻印に隣接し、前記打刻印と並ぶように前記挿通穴に挿通され、
前記治具本体は、前記挿通穴の長尺方向において前記打刻印及び前記スペーサの挿通位置を変更可能となるように、前記打刻印及び前記スペーサを支持することを特徴とする請求項1に記載の打刻用治具。
【請求項3】
前記治具本体は、前記収容凹部に前記プレートが収容されたとき、前記収容凹部の幅方向において前記プレートを挟むように支持し、かつ、前記プレートの差し込み方向において前記プレートの先端に当接し、前記プレートを位置決めした状態で支持することを特徴とする請求項2に記載の打刻用治具。
【請求項4】
前記収容凹部は、
前記治具本体の底面に形成され、前記差し込み口から前記治具本体の中央側に向かって延びている第1凹部と、
前記治具本体の底面に前記第1凹部から連続して設けられ、前記第1凹部よりも浅くなるように形成され、前記差し込み口とは反対側に向かって延びている第2凹部と、を有し、
前記挿通穴は、前記第1凹部に連通するように形成され、
前記治具本体は、前記第1凹部及び前記第2凹部に前記プレートを収容させた状態で、前記プレートを支持することを特徴とする請求項1乃至3のいずれか一項に記載の打刻用治具。
【請求項5】
前記収容凹部は、
前記治具本体の底面に形成され、前記治具本体の底面に沿って前記差し込み口から前記治具本体の中央側に向かって延びており、
前記差し込み口から前記治具本体の中央側に向かって浅くなるように傾斜して形成され、
前記収容凹部の傾斜している部分が、前記収容凹部のうち前記挿通穴と連通している部分を越えて延びていることを特徴とする請求項1乃至3のいずれか一項に記載の打刻用治具。
【請求項6】
前記治具本体の底面に取り付けられる永久磁石を備え、
前記永久磁石は、前記治具本体の底面のうち、前記収容凹部を挟む位置に形成された左右の格納凹部にそれぞれ格納され、前記治具本体の底面から張り出さないように配置されていることを特徴とする請求項1乃至3のいずれか一項に記載の打刻用治具。
【請求項7】
前記治具本体は、
前記プレートを支持する第1本体部と、
前記第1本体部の上面に設けられ、前記第1本体部よりも幅狭となるように形成され、前記打刻印及び前記スペーサを支持する第2本体部と、を有し、
前記収容凹部は、前記第1本体部の幅方向の側面に形成され、前記第1本体部の底面に沿って延びており、
前記挿通穴は、前記第2本体部の上面に貫通して形成され、前記収容凹部の延出方向とは交差する方向に長尺な穴として設けられ、
前記スペーサは、前記挿通穴に挿通可能なスペーサ本体部と、前記スペーサ本体部の上方部分の両側面からそれぞれ側方に突出する左右のスペーサ突出部と、を有し、
前記スペーサが前記挿通穴に挿通されたとき、
前記スペーサ突出部が、前記第2本体部の前記挿通穴の縁部分に当接し、かつ、前記第2本体部の幅方向において前記第2本体部よりも張り出すように配置されることを特徴とする請求項1乃至3のいずれか一項に記載の打刻用治具。
発明の詳細な説明
【技術分野】
【0001】
本発明は、打刻用治具に係り、特に、識別用のプレートの表面に打刻印によって打刻する際に用いられる打刻用治具に関する。
続きを表示(約 2,700 文字)
【背景技術】
【0002】
従来、識別用のプレートの表面に複数の文字や数字を刻印するために、プレートに打刻印(打刻ピン)によって打刻する作業が行われている。具体的には、作業者が、作業台の上にプレートを設置し、プレートの表面上で打刻印を把持し、ハンマー等によって打刻印を上方から叩くことで、プレートに文字や数字を刻印することが行われている。
そうしたなかで、上記打刻作業をより効率良く行うための打刻用治具が提案されている(例えば、特許文献1参照)。
【0003】
特許文献1の打刻用治具は、ワークに対して刻印ポンチで文字列を刻印するための補助治具であって、文字列の配列方向に長尺な貫通孔が形成された本体部と、文字列の配列方向に並べられ、貫通孔の内部に文字列の配列方向に移動可能に取り付けられた複数のスライド部材と、を備えている。
上記打刻用治具によれば、複数の文字列の打刻作業を行う際に、スライド部材によって刻印ポンチを支持することで、刻印ポンチを位置決めすることができる。
【先行技術文献】
【特許文献】
【0004】
特開2013-154602号公報
【発明の概要】
【発明が解決しようとする課題】
【0005】
ところで、特許文献1のような打刻用治具において、よりシンプルな構成で識別プレート及び打刻印を支持し、識別プレートの適切な位置に打刻印によって打刻することが可能な治具が求められていた。
また、識別プレートの表面に複数の文字や数字を刻印する場合であっても、シンプルな構成で異なる位置に打刻することが可能な打刻用治具が求められていた。
【0006】
本発明の目的は、従来よりもシンプルな構成で、識別用のプレートの適切な位置に打刻印によって打刻することが可能な打刻用治具を提供することにある。
また、本発明の他の目的は、識別プレートに複数の文字や数字を刻印するにあたって、シンプルな構成で異なる位置に打刻することが可能な打刻用治具を提供することにある。
【課題を解決するための手段】
【0007】
前記課題は、本発明の打刻用治具によれば、識別用のプレートの表面に打刻印によって打刻する際に用いられる打刻用治具であって、治具本体と、前記治具本体に着脱されるスペーサと、を備え、前記治具本体の下方部分には、前記治具本体の側方から前記プレートを差し込み可能な差し込み口を有し、差し込まれた前記プレートを収容する収容凹部が形成され、前記治具本体の上面には、上下方向に貫通し、前記打刻印及び前記スペーサを上方から挿通させることが可能な挿通穴が形成され、前記挿通穴は、前記治具本体の長さ方向又は幅方向に長尺な穴として設けられ、前記収容凹部に連通するように形成され、前記治具本体は、前記収容凹部に前記プレートが収容され、前記挿通穴に前記打刻印及び前記スペーサが並ぶように挿通されることで、前記プレート、前記打刻印及び前記スペーサを支持し、前記スペーサは、前記挿通穴の長尺方向に沿って前記打刻印と並ぶように挿通されることで、前記打刻印を位置決めすること、により解決される。
上記構成により、従来よりもシンプルな構成で、識別用のプレートの適切な位置に打刻印によって打刻することが可能な打刻用治具を実現できる。
詳しく述べると、上記打刻用治具は、治具本体と、治具本体に着脱されるスペーサとを備えたシンプルな構成となっている。そして、治具本体の底面には、識別プレートを差し込んで収容可能な収容凹部が形成されており、治具本体の上面には、打刻印及びスペーサを並べた状態で挿通させることが可能な挿通穴が形成されている。
上記構成により、治具本体によって識別プレートを支持し、治具本体及びスペーサによって打刻印を支持した状態で、例えばハンマーで打刻印を上方から叩くことで識別プレートの適切な位置に文字や数字を刻印することできる。
また、治具本体に対してスペーサを着脱し、スペーサの挿通位置を適宜変更することで、識別プレートに複数の文字や数字を刻印することもできる。
【0008】
このとき、前記スペーサは、前記挿通穴の長尺方向において前記打刻印に隣接し、前記打刻印と並ぶように前記挿通穴に挿通され、前記治具本体は、前記挿通穴の長尺方向において前記打刻印及び前記スペーサの挿通位置を変更可能となるように、前記打刻印及び前記スペーサを支持すると良い。
上記構成により、打刻印及びスペーサの挿通位置を変更することで、識別プレートに複数の文字や数字を正確に刻印(適切な間隔で刻印)することができる。
【0009】
このとき、前記治具本体は、前記収容凹部に前記プレートが収容されたとき、前記収容凹部の幅方向において前記プレートを挟むように支持し、かつ、前記プレートの差し込み方向において前記プレートの先端に当接し、前記プレートを位置決めした状態で支持すると良い。
上記構成により、治具本体によって識別プレートを好適に支持することができ、かつ、治具本体に対して識別プレートを適切な位置に設置できる。
【0010】
このとき、前記収容凹部は、前記治具本体の底面に形成され、前記差し込み口から前記治具本体の中央側に向かって延びている第1凹部と、前記治具本体の底面に前記第1凹部から連続して設けられ、前記第1凹部よりも浅くなるように形成され、前記差し込み口とは反対側に向かって延びている第2凹部と、を有し、前記挿通穴は、前記第1凹部に連通するように形成され、前記治具本体は、前記第1凹部及び前記第2凹部に前記プレートを収容させた状態で、前記プレートを支持すると良い。
上記構成により、治具本体の収容凹部(第1凹部)に識別プレートを容易に差し込むことができる。また、識別プレートを第2凹部まで差し込むことで識別プレートを好適に支持できる。また、第1凹部を第2凹部よりも深く形成することで、識別プレートに打刻印で打刻した後に、治具本体(収容凹部)から識別プレートを引き抜き易くできる。すなわち、識別プレートを打刻することでプレートの厚さ方向に凹凸が発生することがあるが、そのような場合であっても識別プレートを引き抜き易くするように収容凹部の形状を工夫している。
(【0011】以降は省略されています)
この特許をJ-PlatPat(特許庁公式サイト)で参照する
関連特許
個人
箔熱転写装置
1か月前
シヤチハタ株式会社
印判
4か月前
東レ株式会社
凸版印刷版原版
10か月前
シヤチハタ株式会社
反転式印判
9か月前
独立行政法人 国立印刷局
印刷物
7か月前
三光株式会社
感熱記録材料
6か月前
キヤノン株式会社
記録装置
24日前
株式会社リコー
液体吐出装置
4か月前
独立行政法人 国立印刷局
記録媒体
8か月前
独立行政法人 国立印刷局
貼付機構
1か月前
株式会社リコー
液体吐出装置
7か月前
日本製紙株式会社
感熱記録体
7か月前
株式会社リコー
印刷システム
12日前
株式会社リコー
液体吐出装置
7か月前
独立行政法人 国立印刷局
貼付装置
1か月前
株式会社リコー
画像形成装置
8日前
株式会社リコー
画像形成装置
12日前
株式会社リコー
液体吐出装置
8か月前
株式会社リコー
液体吐出装置
4か月前
株式会社リコー
液体吐出装置
6か月前
株式会社リコー
画像形成装置
1か月前
株式会社リコー
液体吐出装置
5か月前
株式会社リコー
液体吐出装置
2か月前
独立行政法人 国立印刷局
潜像形成体
8日前
キヤノン株式会社
画像記録装置
24日前
独立行政法人 国立印刷局
潜像印刷物
1か月前
ブラザー工業株式会社
プリンタ
6か月前
ブラザー工業株式会社
プリンタ
8か月前
キヤノン株式会社
画像形成装置
7か月前
ブラザー工業株式会社
プリンタ
4か月前
ブラザー工業株式会社
プリンタ
6か月前
理想科学工業株式会社
印刷装置
6か月前
キヤノン株式会社
画像形成装置
3か月前
キヤノン株式会社
画像形成装置
5か月前
キヤノン株式会社
画像形成装置
8か月前
フジコピアン株式会社
中間転写シート
9か月前
続きを見る
他の特許を見る