TOP
|
特許
|
意匠
|
商標
特許ウォッチ
Twitter
他の特許を見る
公開番号
2025141282
公報種別
公開特許公報(A)
公開日
2025-09-29
出願番号
2024041151
出願日
2024-03-15
発明の名称
発電システム
出願人
ダイキン工業株式会社
代理人
弁理士法人前田特許事務所
主分類
H02P
9/04 20060101AFI20250919BHJP(電力の発電,変換,配電)
要約
【課題】設置工事コストを抑制できる発電システムを提供する。
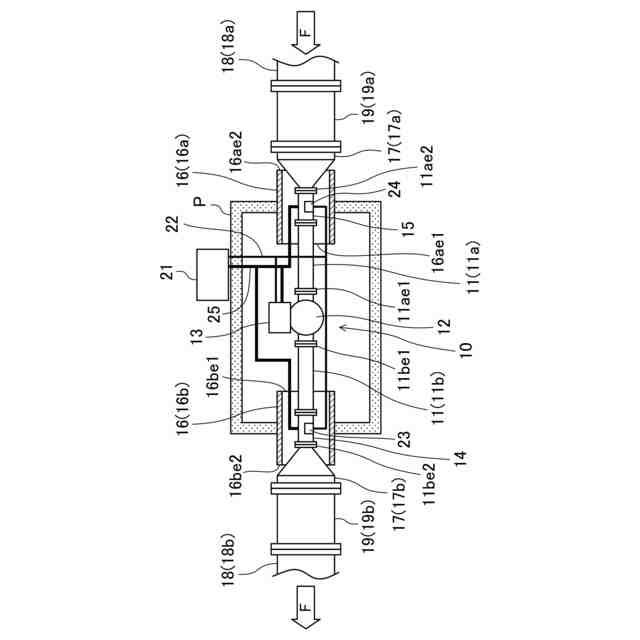
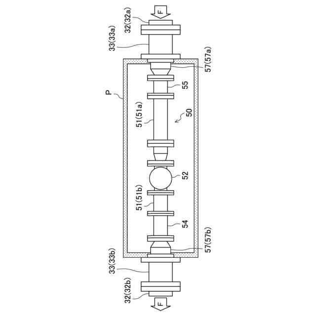
【解決手段】発電システム(1)は、流体機械(12)と、発電機(13)と、機器(14,15)とを備える。流体機械(12)は、第1管(11)と接続されて第1管(11)を流れる流体(F)により回転駆動される。発電機(13)は、流体機械(12)により回転駆動される。流体機械(12)及び発電機(13)は、機械室(P)の内部に配置される。機器(14,15)は、第1管(11)に設けられる。第1管(11)のうち機器(14,15)が設けられた部分は、機械室(P)の内部に開口端面(16ae1,16be1)を有する第2管(16)の内部に配置される。
【選択図】図1
特許請求の範囲
【請求項1】
第1管(11)と接続されて前記第1管(11)を流れる流体(F)により回転駆動され、機械室(P)の内部に配置される流体機械(12)と、
前記流体機械(12)により回転駆動され、前記機械室(P)の内部に配置される発電機(13)と、
前記第1管(11)に設けられる機器(14,15)と
を備えた発電システム(1)において、
前記第1管(11)のうち前記機器(14,15)が設けられた部分は、前記機械室(P)の内部に開口端面(16ae1,16be1)を有する第2管(16)の内部に配置される、
発電システム。
続きを表示(約 1,000 文字)
【請求項2】
請求項1の発電システムにおいて、
前記第1管(11)は、前記流体機械(12)と接続される第1端部(11ae1,11be1)と、前記第1端部(11ae1,11be1)の反対側の第2端部(11ae2,11be2)とを有し、
前記第2端部(11ae2,11be2)は、継手(17)を介して、前記第2管(16)の内径と略同一の内径を有する第3管(18)と接続される、
発電システム。
【請求項3】
請求項1の発電システムにおいて、
前記発電機(13)を制御する制御器(21)を備え、
前記機器(14,15)は、前記制御器(21)から信号を受信する、又は、前記制御器(21)に信号を送信する送受信手段(23,24)を有する、
発電システム。
【請求項4】
請求項3の発電システムにおいて、
前記機器(14,15)は、前記流体(F)の物理量を測定して測定結果を前記制御器(21)に送信する計測器(14)を含む、
発電システム。
【請求項5】
請求項3の発電システムにおいて、
前記機器(14,15)は、前記制御器(21)から受信した信号に応じて前記流体(F)の物理量を調整する弁(15)を含む、
発電システム。
【請求項6】
請求項3の発電システムにおいて、
前記送受信手段(23,24)は、前記制御器(21)と前記機器(14,15)とを接続する信号線(22)を含み、
前記信号線(22)は、前記第2管(16)の内部に配置されて、前記開口端面(16ae1,16be1)から前記第2管(16)の外側に引き出される、
発電システム。
【請求項7】
請求項1の発電システムにおいて、
前記発電機(13)を制御する制御器(21)を備え、
前記機器(14,15)は、電力が供給される電力線(25)に接続され、
前記電力線(25)は、前記第2管(16)の内部に配置されて、前記開口端面(16ae1,16be1)から前記第2管(16)の外側に引き出される、
発電システム。
【請求項8】
請求項1~7のいずれか1項の発電システムにおいて、
前記流体(F)は、水であり、
前記流体機械(12)は、水車であり、
前記発電機(13)は、水力発電を行う、
発電システム。
発明の詳細な説明
【技術分野】
【0001】
本開示は、発電システムに関するものである。
続きを表示(約 1,200 文字)
【背景技術】
【0002】
上水道施設の管水路等に存在する未利用エネルギーを活用するインライン型の発電システムが知られている。インライン型の発電システムは、発電装置と、流量調整を行う制水弁と、流量計と、配管とから構成される。
【0003】
特許文献1に開示された発電装置は、流路に配置される水車と、水車と連結する発電機とを備える。水車は、流路を流れる流体によって回転される。水車が回転すると、発電機が駆動される。駆動された発電機は、電力を発生する。
【0004】
制水弁は振動や騒音の原因となり且つ作動が不安定になりやすい観点から、また、流量計は計測精度の観点から、電動弁及び流量計の設置には所定の管路長が必要になる。
【0005】
インライン型の発電システムの導入コストの中では、設置工事コストの割合が大きい。そのため、設置工事コストを抑える目的で、既存の上水道施設である計器室や制水弁室等を利用して発電システムを設置することにより、新たな建屋を設置するコストを削減することがある。
【先行技術文献】
【特許文献】
【0006】
特開2014-214710号公報
【発明の概要】
【発明が解決しようとする課題】
【0007】
計器室や制水弁室等の既存施設は、用途によって施設規模が異なる。既存施設のスペースが発電システムの設置に不十分であると、施設の拡張工事を行うか、新たな建屋を設置する必要が生じる。その結果、設置工事コストが増大したり、発電システムの導入が見送られたりする等の問題があった。
【0008】
本開示の目的は、設置工事コストを抑制できる発電システムを提供することにある。
【課題を解決するための手段】
【0009】
本開示の第1の態様は、流体機械(12)と、発電機(13)と、機器(14,15)とを備えた発電システム(1)である。前記流体機械(12)は、第1管(11)と接続されて前記第1管(11)を流れる流体(F)により回転駆動される。前記発電機(13)は、前記流体機械(12)により回転駆動される。前記流体機械(12)及び前記発電機(13)は、機械室(P)の内部に配置される。前記機器(14,15)は、前記第1管(11)に設けられる。前記第1管(11)のうち前記機器(14,15)が設けられた部分は、前記機械室(P)の内部に開口端面(16ae1,16be1)を有する第2管(16)の内部に配置される。
【0010】
第1の態様では、機械室(P)の内部に開口端面(16ae1,16be1)を有する第2管(16)つまり既設管の内部に、発電システム(1)の一部である機器(14,15)が配置される。このため、既存の機械室(P)を拡張することなく、発電システム(1)を設置することができるので、設置工事コストを抑制することができる。
(【0011】以降は省略されています)
この特許をJ-PlatPat(特許庁公式サイト)で参照する
関連特許
個人
単極モータ
7日前
株式会社アイシン
ロータ
7日前
株式会社アイシン
ロータ
11日前
西部電機株式会社
充電装置
14日前
西部電機株式会社
充電装置
14日前
日本精機株式会社
サージ保護回路
14日前
トヨタ自動車株式会社
固定子
12日前
個人
連続ガウス加速器形磁力増幅装置
14日前
トヨタ自動車株式会社
製造装置
12日前
株式会社デンソー
回転機
5日前
株式会社ミツバ
ブラシレスモータ
13日前
株式会社ダイヘン
充電装置
11日前
株式会社ダイヘン
充電装置
11日前
株式会社ダイヘン
充電装置
11日前
カヤバ株式会社
筒型リニアモータ
13日前
株式会社アイシン
ステータ
11日前
株式会社ダイヘン
充電装置
11日前
東京瓦斯株式会社
通信装置
13日前
個人
太陽エネルギー収集システム
12日前
株式会社アイシン
ステータ
11日前
株式会社アイシン
ステータ
11日前
株式会社アイシン
ステータ
11日前
トヨタ自動車株式会社
被膜形成装置
12日前
ニチコン株式会社
AC入力検出回路
18日前
株式会社kaisei
発電システム
7日前
株式会社ミツバ
回転電機
4日前
株式会社デンソー
電力変換装置
18日前
ASTI株式会社
電力変換装置
12日前
株式会社ミツバ
回転電機
11日前
株式会社デンソー
電力変換装置
6日前
株式会社ダイヘン
電力システム
14日前
株式会社ダイヘン
電力変換装置
14日前
東京瓦斯株式会社
給電システム
13日前
シャープ株式会社
表示装置
12日前
大和ハウス工業株式会社
システム
13日前
株式会社アイシン
駆動装置
12日前
続きを見る
他の特許を見る