TOP
|
特許
|
意匠
|
商標
特許ウォッチ
Twitter
他の特許を見る
公開番号
2025139699
公報種別
公開特許公報(A)
公開日
2025-09-29
出願番号
2024038673
出願日
2024-03-13
発明の名称
EGRバルブ制御装置
出願人
本田技研工業株式会社
代理人
個人
,
個人
主分類
F02M
26/49 20160101AFI20250919BHJP(燃焼機関;熱ガスまたは燃焼生成物を利用する機関設備)
要約
【課題】EGRバルブに異物が噛み込まれた噛み込み状態を早期に検出して開閉動作を行い、安定した内燃機関の燃焼状態を維持する。
【解決手段】EGRバルブ制御装置100は、車両に搭載された内燃機関の排気再循環量を調整するEGRバルブ9と、EGRバルブ9の開度を検出する開度検出部9aと、内燃機関で燃焼が行われている燃焼時にEGRバルブ9の全閉が指令されているとき、開度検出部9aにより検出された開度が所定開度以上のときにEGRバルブに異物が噛み込まれていると判定する噛み込み判定部11と、噛み込み判定部11によりEGRバルブ9に異物が噛み込まれていると判定されると、開閉動作を行うようにEGRバルブ9を制御するバルブ制御部12と、を備える。
【選択図】図4
特許請求の範囲
【請求項1】
車両に搭載された内燃機関の排気再循環量を調整するEGRバルブと、
前記EGRバルブの開度を検出する開度検出部と、
前記内燃機関で燃焼が行われている燃焼時に前記EGRバルブの全閉が指令されているとき、前記開度検出部により検出された前記開度が所定開度以上のときに前記EGRバルブに異物が噛み込まれていると判定する噛み込み判定部と、
前記噛み込み判定部により前記EGRバルブに異物が噛み込まれていると判定されると、開閉動作を行うように前記EGRバルブを制御するバルブ制御部と、を備えることを特徴とするEGRバルブ制御装置。
続きを表示(約 750 文字)
【請求項2】
請求項1に記載のEGRバルブ制御装置において、
前記噛み込み判定部は、前記内燃機関で燃焼が行われていない非燃焼時に前記EGRバルブの全閉が指令されているとき、前記開度が第1開度以上のときに前記EGRバルブに異物が噛み込まれていると判定し、前記燃焼時に前記EGRバルブの全閉が指令されているとき、前記開度が前記第1開度より大きい第2開度以上のときに前記EGRバルブに異物が噛み込まれていると判定することを特徴とするEGRバルブ制御装置。
【請求項3】
請求項2に記載のEGRバルブ制御装置において、
前記バルブ制御部は、前記燃焼時には、前記非燃焼時よりも前記開閉動作の開閉速度が大きくなるように、または前記開度の変化量が小さくなるように、前記EGRバルブを制御することを特徴とするEGRバルブ制御装置。
【請求項4】
請求項3に記載のEGRバルブ制御装置において、
前記内燃機関の排気再循環が行われるとき、第1運転領域では前記EGRバルブの開弁が指令され、前記第1運転領域よりも低負荷の第2運転領域では前記EGRバルブの閉弁が指令され、
前記バルブ制御部は、前記燃焼時には、前記内燃機関の運転領域が前記第2運転領域であることを条件として、前記開閉動作を行うように前記EGRバルブを制御することを特徴とするEGRバルブ制御装置。
【請求項5】
請求項4に記載のEGRバルブ制御装置において、
前記バルブ制御部は、前記燃焼時には、さらに、前記内燃機関の回転数が所定回転数以下であることを条件として、前記開閉動作を行うように前記EGRバルブを制御することを特徴とするEGRバルブ制御装置。
発明の詳細な説明
【技術分野】
【0001】
本発明は、車両に搭載された内燃機関の排気再循環(EGR(Exhaust Gas Recirculation))バルブを制御するEGRバルブ制御装置に関する。
続きを表示(約 2,000 文字)
【背景技術】
【0002】
近年、EGRバルブを有する車両において、EGRバルブの健全性を確保し、車両および交通の安全性を向上させることで、持続可能な輸送システムの発展に寄与することを目的に研究開発が行われている。この種のEGRバルブに関する技術として、従来、EGRバルブの開閉動作を行うことでEGRバルブに噛み込まれた異物を除去するようにした装置が知られている(例えば特許文献1参照)。特許文献1記載の装置では、EGRバルブに異物が噛み込まれ、エンジンのアイドル回転数が規定値以下で不安定になると、エンジン回転数や充填効率の変動が規定値以下となる定常走行時あるいは規定値以上の速度や回転数での減速時にEGRバルブを開閉する。
【先行技術文献】
【特許文献】
【0003】
特開2009-287392号公報
【発明の概要】
【発明が解決しようとする課題】
【0004】
上記特許文献1記載の装置では、実際に内燃機関の燃焼状態が不安定になってからEGRバルブの開閉動作が行われるが、EGRバルブに異物が噛み込まれた噛み込み状態を早期に検出して開閉動作を行い、安定した内燃機関の燃焼状態を維持することが好ましい。
【課題を解決するための手段】
【0005】
本発明の一態様であるEGRバルブ制御装置は、車両に搭載された内燃機関の排気再循環量を調整するEGRバルブと、EGRバルブの開度を検出する開度検出部と、内燃機関で燃焼が行われている燃焼時にEGRバルブの全閉が指令されているとき、開度検出部により検出された開度が所定開度以上のときにEGRバルブに異物が噛み込まれていると判定する噛み込み判定部と、噛み込み判定部によりEGRバルブに異物が噛み込まれていると判定されると、開閉動作を行うようにEGRバルブを制御するバルブ制御部と、を備える。
【発明の効果】
【0006】
本発明によれば、EGRバルブに異物が噛み込まれた噛み込み状態を早期に検出して開閉動作を行い、安定した内燃機関の燃焼状態を維持することができる。
【図面の簡単な説明】
【0007】
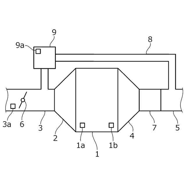
本発明の実施形態に係るEGRバルブ制御装置が適用されるエンジン周辺の構成の一例を概略的に示す図。
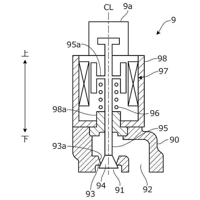
図1のEGRバルブの内部構成の一例を概略的に示す図。
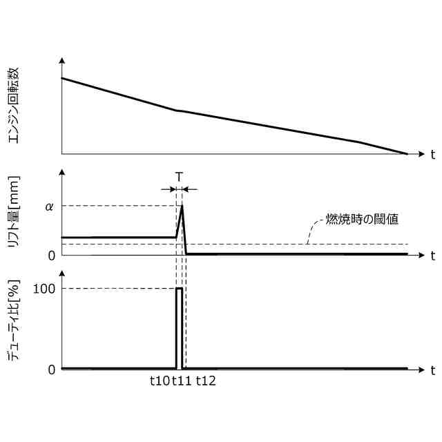
EGRバルブの動作の一例を示すタイムチャート。
本発明の実施形態に係るEGRバルブ制御装置の要部構成の一例を概略的に示すブロック図。
図1のエンジンでの燃焼時のEGRバルブの開閉動作が許可される運転領域について説明するための図。
燃焼時の開閉動作の一例を示すタイムチャート。
図4のECUにより実行される処理の一例を示すフローチャート。
【発明を実施するための形態】
【0008】
以下、図1~図7を参照して本発明の実施形態について説明する。図1は、本発明の実施形態に係るEGRバルブ制御装置が適用されるエンジン1周辺の構成の一例を概略的に示す図である。エンジン1は、不図示の車両に搭載されたガソリンエンジンやディーゼルエンジン等の内燃機関である。車両は、駆動源としてエンジン1のみが搭載されたものでもよく、エンジン1と走行用モータとが搭載されたハイブリッド車両でもよい。エンジン1には、エンジン回転数を検出する回転数センサ1aも設けられる。
【0009】
図1に示すように、エンジン1には、吸気マニホルド2を介して吸気通路3が接続されるとともに、排気マニホルド4を介して排気通路5が接続される。不図示のエアクリーナ介して吸気通路3に吸入された空気は、吸気通路3に設けられたスロットルバルブ6により流量を調整され、吸気マニホルド2を介してエンジン1に供給される。吸気通路3には、エンジン1に供給される空気の流量(吸気量)を検出する吸気量センサ3aも設けられる。
【0010】
エンジン1から排気マニホルド4を介して排気通路5に排出された排気は、排気通路5に設けられた触媒装置7により浄化されて大気中に放出される。排気通路5に排出された排気の一部は、EGR通路8を介して吸気通路3に還流される。EGR通路8を介して排気通路5から吸気通路3に還流される排気(EGRガス)の流量、すなわちエンジン1の排気再循環量は、EGR通路8に設けられたEGRバルブ9により調整される。EGRバルブ9には、EGRバルブ9の開度に相当する弁体(図2)のリフト量を検出するリフトセンサ9aが設けられる。EGRバルブ9は、車両に搭載された電子制御ユニット(ECU(Electronic Control Unit))10(図4)により制御される。
(【0011】以降は省略されています)
この特許をJ-PlatPat(特許庁公式サイト)で参照する
関連特許
本田技研工業株式会社
車両
15日前
本田技研工業株式会社
車両
16日前
本田技研工業株式会社
車両
16日前
本田技研工業株式会社
車両
8日前
本田技研工業株式会社
車両
15日前
本田技研工業株式会社
移動体
17日前
本田技研工業株式会社
飛行体
16日前
本田技研工業株式会社
排気装置
15日前
本田技研工業株式会社
二次電池
11日前
本田技研工業株式会社
電気機器
16日前
本田技研工業株式会社
固体電池
15日前
本田技研工業株式会社
電気部品
16日前
本田技研工業株式会社
触媒装置
11日前
本田技研工業株式会社
清掃装置
16日前
本田技研工業株式会社
収容装置
16日前
本田技研工業株式会社
内燃機関
15日前
本田技研工業株式会社
固体電池
11日前
本田技研工業株式会社
排気装置
15日前
本田技研工業株式会社
制御装置
15日前
本田技研工業株式会社
除草装置
15日前
本田技研工業株式会社
エンジン
16日前
本田技研工業株式会社
電気機器
17日前
本田技研工業株式会社
排気装置
15日前
本田技研工業株式会社
内燃機関
16日前
本田技研工業株式会社
電気機器
16日前
本田技研工業株式会社
発電セル
15日前
本田技研工業株式会社
電動船外機
11日前
本田技研工業株式会社
鞍乗型車両
15日前
本田技研工業株式会社
鞍乗型車両
15日前
本田技研工業株式会社
樹脂成型品
16日前
本田技研工業株式会社
リアクトル
15日前
本田技研工業株式会社
鞍乗型車両
15日前
本田技研工業株式会社
全固体電池
11日前
本田技研工業株式会社
全固体電池
17日前
本田技研工業株式会社
電極積層体
15日前
本田技研工業株式会社
全固体電池
11日前
続きを見る
他の特許を見る