TOP
|
特許
|
意匠
|
商標
特許ウォッチ
Twitter
他の特許を見る
公開番号
2025139637
公報種別
公開特許公報(A)
公開日
2025-09-29
出願番号
2024038580
出願日
2024-03-13
発明の名称
混練装置
出願人
NOK株式会社
,
NOKエラストマー株式会社
代理人
弁理士法人グローバル・アイピー東京
主分類
B29B
7/28 20060101AFI20250919BHJP(プラスチックの加工;可塑状態の物質の加工一般)
要約
【課題】検知部及び反射部のメンテナンスの要否を判断できる混練装置を提供すること。
【解決手段】反射部を有する作業者によって操作される混練装置であって、投入された材料を混練する混練部であって、作業者がアクセス可能である混練部と、検知部であって、前記混練部周りに向けて検知光を射出する射出部と、前記射出部から射出された検知光を前記反射部で反射した反射光を検知する光検知部と、を有する検知部と、前記光検知部で検知された前記反射光の光量を測定する測定部と、前記測定部で測定された前記光量が予め定められた閾値よりも小さい場合にアラートを通知する通知部と、を有する、混練装置。
【選択図】図6
特許請求の範囲
【請求項1】
反射部を有する作業者によって操作される混練装置であって、
投入された材料を混練する混練部であって、作業者がアクセス可能である混練部と、
検知部であって、
前記混練部周りに向けて検知光を射出する射出部と、
前記検知光を前記反射部で反射した反射光を検知する光検知部と、
を有する検知部と、
前記光検知部で検知された前記反射光の光量を測定する測定部と、
前記測定部で測定された前記光量が予め定められた閾値よりも小さい場合にアラートを通知する通知部と、
を有する、混練装置。
続きを表示(約 650 文字)
【請求項2】
前記混練部を制御する制御部をさらに有し、
前記閾値は、第1の閾値と、前記第1の閾値よりも小さい第2の閾値とを含み、
前記通知部は、前記光量が前記第1の閾値よりも小さい場合に第1のアラートを通知し、且つ前記光量が前記第2の閾値よりも小さい場合に前記第1のアラートとは異なる第2のアラートを通知し、
前記制御部は、前記通知部が前記第2のアラートを通知したときに前記混練部を非動作状態にする、請求項1に記載の混練装置。
【請求項3】
検知部は、前記射出部及び前記光検知部に接続される配線の状態を検知する配線検知部をさらに有し、
前記通知部は、前記配線検知部の検知結果に基づいてアラートを通知する、請求項1または請求項2に記載の混練装置。
【請求項4】
画面表示部を有し、
前記通知部は、前記アラートの内容を前記画面表示部に表示させる、請求項1~3のいずれか1項に記載の混練装置。
【請求項5】
前記混練部に対して第1の方向側に配置され、前記混練部で混練された材料を受ける受け部をさらに有し、
前記射出部及び前記光検知部は、前記混練部に対して前記受け部とは反対側に配置されている、請求項1~4の何れか1項に記載の混練装置。
【請求項6】
前記通知部は、前記混練装置の稼働前点検時に前記光量と前記閾値との比較結果に基づいてアラートを通知する、請求項1~5の何れか1項に記載の混練装置。
発明の詳細な説明
【技術分野】
【0001】
本発明は、混練装置に関する。
続きを表示(約 2,000 文字)
【背景技術】
【0002】
エラストマ等の混練作業用のロール混練装置は、特許文献1に記載されるような安全装置を設けられる場合がある。この安全装置は、少なくとも2本のロール間の周辺の領域に光を照射する投光器と、ロール混練装置の作業者の手等に装着するものであり、投光器からの光を受けて特定の性質の光のみを反射させる検出用反射体と、2本のロール間の周辺の領域を受光対象として、この受光対象からの特定の性質の光のみを受光する光電センサと、少なくとも1つの光電センサが特定の性質の光を所定量以上受光した場合に、ロール混練装置の運転を停止させる緊急停止手段とを備える。
【先行技術文献】
【特許文献】
【0003】
特開平10-83201号公報
【発明の概要】
【発明が解決しようとする課題】
【0004】
上記に記載されるような安全装置を有する混練装置は、稼働前の点検時に安全装置の投光器及び光電センサ(すなわち、検知部)と、検出用反射体(すなわち、反射部)と、を含むセンサシステムが機能するかどうかの確認作業を実施する。しかしながら、特許文献1に記載される安全装置の場合、点検時においてセンサシステムの感知レベルの劣化レベルを判断することができない。そのため、稼働前の点検時に「センサシステムは機能する」と判断されるレベルでセンサシステムが劣化しているときに混練装置を稼働させると、稼働中にセンサシステムが機能しなくなるレベルまで劣化を進行させてしまい、安全装置が機能しなくなる虞がある。
【0005】
本開示は、検知部及び反射部のメンテナンスの要否を判断できる混練装置を提供することを目的とする。
【課題を解決するための手段】
【0006】
本開示の態様は、反射部を有する作業者によって操作される混練装置であって、
投入された材料を混練する混練部であって、作業者がアクセス可能である混練部と、
検知部であって、
前記混練部周りに向けて検知光を射出する射出部と、
前記検知光を前記反射部で反射した反射光を検知する光検知部と、
を有する検知部と、
前記光検知部で検知された前記反射光の光量を測定する測定部と、
前記測定部で測定された前記光量が予め定められた閾値よりも小さい場合にアラートを通知する通知部と、
を有する、混練装置である。
【発明の効果】
【0007】
本開示の混練装置によれば、検知部及び反射部のメンテナンスの要否を判断することができる。
【図面の簡単な説明】
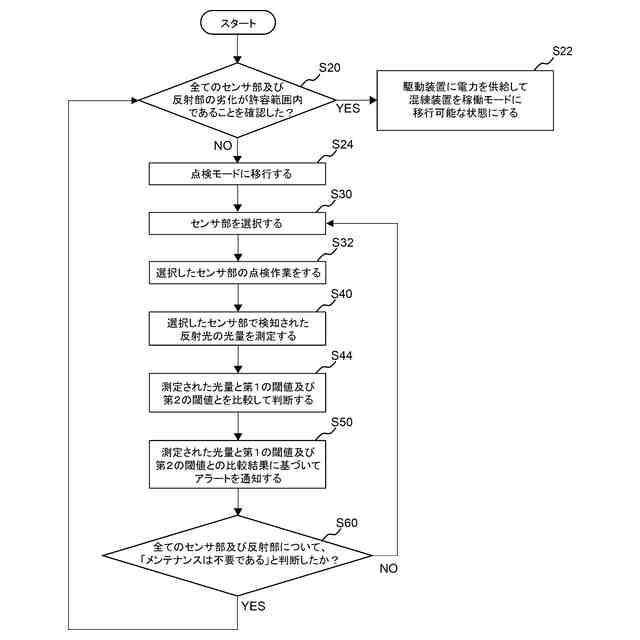
【0008】
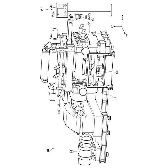
実施形態に係る混練装置の斜視図である。
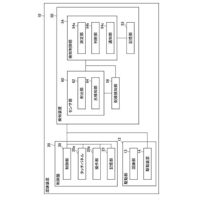
実施形態に係る混練装置のブロック図である。
実施形態に係る検知装置の斜視図である。
実施形態に係るセンサ部の斜視図である。
実施形態に係るタッチパネルに表示される画面の一例である。
実施形態に係る点検モードの流れを示すフローチャートの一例である。
【発明を実施するための形態】
【0009】
以下、本開示に係る実施形態について図面を参照しながら説明する。図面の縮尺は必ずしも正確ではなく、一部の特徴は誇張または省略されることもある。
以下に示す説明では、混練部の円柱状の部材の延在方向(横方向)と、該延在方向に直交する水平方向(前後方向)と、鉛直方向(上下方向)とを夫々、X方向と、Y方向と、Z方向として記載する。また、鉛直上方向と、鉛直下方向とを夫々、+Z側と、-Z側として記載する。
【0010】
本開示に係る混練装置10は、横方向に延びており前後方向に並列する2つの円柱状の部材の間に投入された1以上の材料を混練する、オープン型の混練装置の一例である。混練装置10は、エラストマ、補強材、加硫材等の複数の材料を混練して生地を生成する。なお、混練装置10に投入される材料は、混練工程を必要とする生地を生成するためであれば、エラストマ等に限定されない。混練装置10を使用する作業者(不図示)は、手袋GR(図1参照)を手に装着した状態で混練装置10に材料を投入する。
手袋GRには、反射部MRが設けられている。反射部MRは、後述する射出部62から射出される検知光L1を反射光L2として反射する。反射部MRについては詳細を後述する。
混練装置10は、図1に示されるように、装置本体11と、混練部13と、駆動装置14と、受け部15と、制御盤20と、検知装置50と、を有する。
装置本体11は、混練装置10の各部を支持する。
(【0011】以降は省略されています)
この特許をJ-PlatPat(特許庁公式サイト)で参照する
関連特許
NOK株式会社
密封構造
1か月前
NOK株式会社
吸音構造体
16日前
NOK株式会社
遊星歯車機構
1か月前
NOK株式会社
セルユニット
1か月前
NOK株式会社
トーショナルダンパー
1日前
NOK株式会社
密封装置および密封構造
1か月前
国立大学法人福島大学
ニトリルゴム分解菌
1日前
NOK株式会社
成形型、ガスケットの製造方法およびガスケット
1か月前
NOK株式会社
熱劣化判定方法、熱履歴推定方法、熱劣化判定装置、熱履歴推定装置
1か月前
NOK株式会社
密封装置、密封構造、密封構造の組み付け方法
1か月前
NOK株式会社
バッテリー用緩衝材、バッテリー、およびバッテリー用緩衝材の弾性部材が発生させるガスを管理する方法
1か月前
東ソー株式会社
バイオマス由来の塩素化ポリエチレン
1か月前
個人
気泡緩衝材減容装置
1か月前
東レ株式会社
吹出しノズル
11か月前
豊田鉄工株式会社
金型
3か月前
CKD株式会社
型用台車
11か月前
シーメット株式会社
光造形装置
11か月前
東レ株式会社
フィルムの製造方法
8か月前
グンゼ株式会社
ピン
11か月前
東レ株式会社
フィルムの製造方法
4か月前
株式会社 型善
射出成形型
2日前
東レ株式会社
フィルムの製造方法
4か月前
東レ株式会社
複合成形体の製造方法
1か月前
株式会社カワタ
計量混合装置
6か月前
株式会社エフピコ
賦形シート
16日前
個人
樹脂可塑化方法及び装置
10か月前
東レ株式会社
フィルムの製造方法。
4か月前
株式会社FTS
ロッド
10か月前
日機装株式会社
加圧システム
7か月前
株式会社漆原
シートの成形方法
5か月前
東レ株式会社
樹脂フィルムの製造方法
6か月前
株式会社FTS
成形装置
11か月前
NOK株式会社
樹脂ゴム複合体
2か月前
トヨタ自動車株式会社
射出装置
8か月前
東レ株式会社
炭素繊維シートの製造方法
7か月前
株式会社コスメック
射出成形装置
5か月前
続きを見る
他の特許を見る