TOP
|
特許
|
意匠
|
商標
特許ウォッチ
Twitter
他の特許を見る
10個以上の画像は省略されています。
公開番号
2025159732
公報種別
公開特許公報(A)
公開日
2025-10-22
出願番号
2022117461
出願日
2022-07-22
発明の名称
密封構造
出願人
NOK株式会社
,
株式会社ヴァレオジャパン
代理人
個人
,
個人
,
個人
主分類
F16J
15/06 20060101AFI20251015BHJP(機械要素または単位;機械または装置の効果的機能を生じ維持するための一般的手段)
要約
【課題】ガスケットが封止する対向する2面のうち一方の面にテーパ部が設けられている場合でも、ガスケットが安定してシール性を発揮し、流体の漏出を防止する。
【解決手段】密封構造は、第1の部材(10,90)と、テーパ部(25)を持つ孔部を有する第2の部材(20)と、孔部に挿入される円筒部(30)またはネジ部(92)と、第1の部材と第2の部材との間、かつ円筒部またはネジ部の径方向外側に配置されるガスケットとを備える。ガスケットは、第1の部材と第2の部材との間で圧縮される弾性部(41)を有する。弾性部は、少なくとも第2の部材側の面に形成された第1のビード(45)と第2のビード(46)を有し、少なくとも第1のビードは、テーパ部の径方向外側において、第1の部材と第2の部材との間で軸線方向に沿って圧縮される。
【選択図】図1
特許請求の範囲
【請求項1】
第1の平坦面(12,91b)を有する第1の部材(10,90)と、
前記第1の平坦面に対向する第2の平坦面(21)と、前記第2の平坦面に直交する方向に延びて断面が円形の孔部(23,26)とを有し、前記孔部には、前記孔部の軸線方向に沿って前記第2の平坦面に近いほど大きい直径を持つテーパ部(25)が形成されている第2の部材(20)と、
前記孔部に挿入される円筒部(30)またはネジ部(92)と、
前記第1の平坦面と前記第2の平坦面との間、かつ前記円筒部または前記ネジ部の径方向外側に配置されるガスケット(40,75,80)と
を備え、
前記ガスケットは、弾性材料から形成される弾性部であって前記第1の平坦面と前記第2の平坦面との間で前記軸線方向に沿って圧縮される弾性部(41)と、剛性材料から形成される剛性部であって前記弾性部の外周面に固定され、前記第1の平坦面と前記第2の平坦面とに接触させられる剛性部(50,50A,50B)とを有し、
前記弾性部(41)は、前記第1の平坦面に接触させられる第1の表面(42A)と、前記第2の平坦面に接触させられる第2の表面(42B)と、前記円筒部または前記ネジ部が挿通される挿通孔部(43d)と、少なくとも前記第2の表面に形成された円環状の第1のビード(45)と、少なくとも前記第2の表面に前記第1のビードと同心に形成された円環状の第2のビード(46)とを有し、
前記第2のビードは前記挿通孔部の径方向外側に位置し、
前記第1のビードは前記第2のビードの径方向外側に位置し、
前記弾性部が前記軸線方向に沿って圧縮されない状態で、前記第1のビード(45)と前記第2のビード(46)における前記弾性部(41)の厚さは前記剛性部(50,50A,50B)の最大厚さより大きく、
前記第1のビード(45)は、前記テーパ部(25)の径方向外側において、前記第1の平坦面(12,91b)と前記第2の平坦面(21)との間で前記軸線方向に沿って圧縮される
密封構造。
続きを表示(約 1,100 文字)
【請求項2】
前記第2のビード(46)は、前記テーパ部(25)の径方向外側において、前記第1の平坦面(12,91b)と前記第2の平坦面(21)との間で前記軸線方向に沿って圧縮される
請求項1に記載の密封構造。
【請求項3】
前記弾性部(41)は、前記第1のビードと前記第2のビードとの間に凹部(47)を有し、
前記弾性部が前記軸線方向に沿って圧縮されない状態で、前記凹部における前記弾性部の厚さは前記剛性部の最大厚さより大きく、
前記凹部は、前記テーパ部の径方向外側で、前記第1の平坦面と前記第2の平坦面との間で前記軸線方向に沿って圧縮される
請求項2に記載の密封構造。
【請求項4】
前記弾性部(41)は、前記第2のビードの径方向内側に、前記円筒部または前記ネジ部に向けて延び、少なくとも前記第1のビードが前記テーパ部の径方向外側に位置するように、前記ガスケットを位置決めする位置決め円環部(43)を有する
請求項1から3のいずれか1項に記載の密封構造。
【請求項5】
前記弾性部(41)が前記軸線方向に沿って圧縮された状態で、前記弾性部の前記位置決め円環部(43)は前記円筒部または前記ネジ部の外周面に全周にわたって接触させられる
請求項4に記載の密封構造。
【請求項6】
前記弾性部が前記軸線方向に沿って圧縮された状態で、前記位置決め円環部(43)は、前記テーパ部の内部に侵入し、前記テーパ部に接触させられる
請求項5に記載の密封構造。
【請求項7】
前記弾性部が前記軸線方向に沿って圧縮されない状態で、前記位置決め円環部は、前記挿通孔部を規定する円環部内周面(43c)と、前記第1の平坦面に対向する第1の円環面(43a)と、前記第2の平坦面に対向する第2の円環面(43b)とを有し、
前記弾性部が前記軸線方向に沿って圧縮されない状態で、前記第1の円環面と前記第2の円環面は、前記軸線方向に対して垂直であって互いに平行であるか、前記第1の円環面と前記第2の円環面との間の間隔が径方向内側に向かうほど小さくなるように傾斜している
請求項6に記載の密封構造。
【請求項8】
前記孔部(25)には前記円筒部(30)が挿入される請求項1から3のいずれか1項に記載の密封構造であって、
前記第1の部材と前記第2の部材とを締結する棒形状を有する締結具(65)をさらに備え、
前記ガスケットの前記剛性部(50)は、前記締結具が挿入される挿入孔(51)を有する
密封構造。
発明の詳細な説明
【技術分野】
【0001】
本発明は、対向する2面間を封止するガスケットを有する密封構造に関する。
続きを表示(約 2,300 文字)
【背景技術】
【0002】
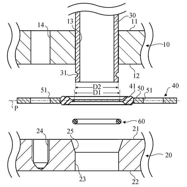
対向する2面間を封止して、2面の間の流体の漏出を防ぐシールとして、特許文献1に記載されたシールワッシャが知られている。このシールワッシャは、ネジ部材のヘッドと、ネジ部材が締結される部材との間に配置される。ネジ部材が締結される部材のネジ孔には、ネジ部材を容易に締結するためにテーパ部が形成されている。
【0003】
特許文献1に記載されたシールワッシャは、2つの部材に挿入される管を有する構造にも応用することができる。この場合、シールワッシャは、2つの部材の間、かつ管の径方向外側に配置されることになる。2つの部材の一方において管が挿入される孔には、管を容易に挿入するためにテーパ部が形成されることがありうる。
【先行技術文献】
【特許文献】
【0004】
特開2006-002894号公報
【発明の概要】
【発明が解決しようとする課題】
【0005】
このようなテーパ部が形成された孔の周囲に配置され、対向する2面間を封止するガスケットは、2面間で圧縮されると、傾斜したテーパ部に案内されて径方向内側に移動して、ガスケットが適正に圧縮されないおそれがある。特に、テーパ部の直径が製造誤差により設計値よりも大きい場合には、ガスケットが径方向内側に移動しやすい。
【0006】
そこで、本発明は、対向する2面間を封止するガスケットを有し、一方の面にテーパ部が設けられている場合でも、ガスケットの径方向の移動を抑制し安定してシール性を発揮して、流体の漏出を防止することのできる密封構造を提供する。
【課題を解決するための手段】
【0007】
本発明のある態様は密封構造を提供する。この密封構造は、第1の平坦面を有する第1の部材と、前記第1の平坦面に対向する第2の平坦面と、前記第2の平坦面に直交する方向に延びて断面が円形の孔部とを有し、前記孔部は、前記孔部の軸線方向に沿って前記第2の平坦面に近いほど大きい直径を持つテーパ部が形成されている第2の部材と、前記孔部に挿入される円筒部またはネジ部と、前記第1の平坦面と前記第2の平坦面との間、かつ前記円筒部または前記ネジ部の径方向外側に配置されるガスケットとを備える。前記ガスケットは、弾性材料から形成される弾性部であって前記第1の平坦面と前記第2の平坦面との間で前記軸線方向に沿って圧縮される弾性部と、剛性材料から形成される剛性部であって前記弾性部の外周面に固定され、前記第1の平坦面と前記第2の平坦面とに接触させられる剛性部とを有する。前記弾性部は、前記第1の平坦面に接触させられる第1の表面と、前記第2の平坦面に接触させられる第2の表面と、前記円筒部または前記ネジ部が挿通される挿通孔部と、少なくとも前記第2の表面に形成された円環状の第1のビードと、少なくとも前記第2の表面に前記第1のビードと同心に形成された円環状の第2のビードとを有する。ここで、前記第2のビードは前記挿通孔部の径方向外側に位置し、前記第1のビードは前記第2のビードの径方向外側に位置する。前記弾性部が前記軸線方向に沿って圧縮されない状態で、前記第1のビードと前記第2のビードにおける前記弾性部の厚さは前記剛性部の最大厚さより大きい。前記第1のビードは、前記テーパ部の径方向外側において、前記第1の平坦面と前記第2の平坦面との間で前記軸線方向に沿って圧縮される。
【発明の効果】
【0008】
本発明の態様においては、ガスケットの弾性部の少なくとも第2の表面に第1のビードと第2のビードが形成されている。第1のビードと第2のビードのうち、少なくとも径方向外側にある第1のビードがテーパ部の径方向外側において、第1の平坦面と第2の平坦面との間で圧縮されるので、第1のビードがテーパ部の製造誤差や傾斜の影響を受けることなく、大きな潰し代(変形量)を有して圧縮され、ガスケットが安定してシール性を発揮することができる。
【図面の簡単な説明】
【0009】
組み立て前の本発明の実施形態に係る密封構造の断面図である。
図1の密封構造の組み立て前のガスケットの一部の断面図である。
密封構造の組み立て前の図2のガスケットの平面図である。
組み立て後の実施形態に係る密封構造の断面図である。
図4の密封構造の組み立て後のガスケットの一部の断面図である。
組み立て途中の比較例に係るガスケットの断面図である。
組み立て前の実施形態の変形例に係る密封構造の断面図である。
組み立て後の図7の密封構造の断面図である。
実施形態の他の変形例に係る密封構造の組み立て前のガスケットの一部の断面図である。
実施形態のさらに他の変形例に係る密封構造の組み立て後のガスケットの一部の断面図である。
組み立て後の実施形態のさらに他の変形例に係る密封構造の断面図である。
組み立て後の実施形態のさらに他の変形例に係る密封構造の断面図である。
【発明を実施するための形態】
【0010】
以下、添付の図面を参照しながら本発明に係る実施形態を説明する。図面の縮尺は必ずしも正確ではなく、一部の特徴は誇張または省略されることもある。本発明に係る実施形態を、「上」、「下」、「右」、「左」、「横」の用語を用いて説明するが、一例を示したにすぎず、このことにより本発明の実施形態が説明された方向にのみ適用されるとして限定されるわけではない。
(【0011】以降は省略されています)
この特許をJ-PlatPat(特許庁公式サイト)で参照する
関連特許
NOK株式会社
混練装置
25日前
NOK株式会社
密封構造
2日前
NOK株式会社
吸音構造体
2か月前
NOK株式会社
ガスケット
25日前
NOK株式会社
ガスケット
28日前
NOK株式会社
動力伝達機構
1か月前
NOK株式会社
セルユニット
25日前
NOK株式会社
セルユニット
25日前
NOK株式会社
セルユニット
25日前
NOK株式会社
セルユニット
25日前
NOK株式会社
遊星歯車機構
8日前
NOK株式会社
樹脂ゴム複合体
1か月前
NOK株式会社
密封装置および密封構造
3日前
NOK株式会社
密封装置および密封構造
1か月前
NOK株式会社
成形型、ガスケットの製造方法およびガスケット
3日前
NOKクリューバー株式会社
潤滑グリース組成物
1か月前
NOK株式会社
熱劣化判定方法、熱履歴推定方法、熱劣化判定装置、熱履歴推定装置
14日前
NOK株式会社
密封装置、密封構造、密封構造の組み付け方法
2日前
NOK株式会社
導電性摺動部材、密封装置、密封装置の製造方法
2か月前
NOK株式会社
バッテリー用緩衝材、バッテリー、およびバッテリー用緩衝材の弾性部材が発生させるガスを管理する方法
21日前
東ソー株式会社
バイオマス由来の塩素化ポリエチレン
9日前
個人
留め具
10日前
個人
鍋虫ねじ
1か月前
個人
ホース保持具
6か月前
個人
回転伝達機構
2か月前
個人
紛体用仕切弁
1か月前
個人
トーションバー
6か月前
個人
差動歯車用歯形
4か月前
個人
給排気装置
17日前
個人
ジョイント
1か月前
株式会社不二工機
電磁弁
5か月前
株式会社不二工機
電磁弁
3か月前
個人
地震の揺れ回避装置
3か月前
個人
ナット
1か月前
個人
吐出量監視装置
1か月前
カヤバ株式会社
ダンパ
4か月前
続きを見る
他の特許を見る