TOP
|
特許
|
意匠
|
商標
特許ウォッチ
Twitter
他の特許を見る
10個以上の画像は省略されています。
公開番号
2025160497
公報種別
公開特許公報(A)
公開日
2025-10-22
出願番号
2025133077,2024535113
出願日
2025-08-08,2023-07-19
発明の名称
密封装置、密封構造、密封構造の組み付け方法
出願人
NOK株式会社
代理人
弁理士法人グローバル・アイピー東京
主分類
F16J
15/3232 20160101AFI20251015BHJP(機械要素または単位;機械または装置の効果的機能を生じ維持するための一般的手段)
要約
【課題】組み付け時に第2のシール部から第1のシール部に伝達される反力の径方向成分を小さくする
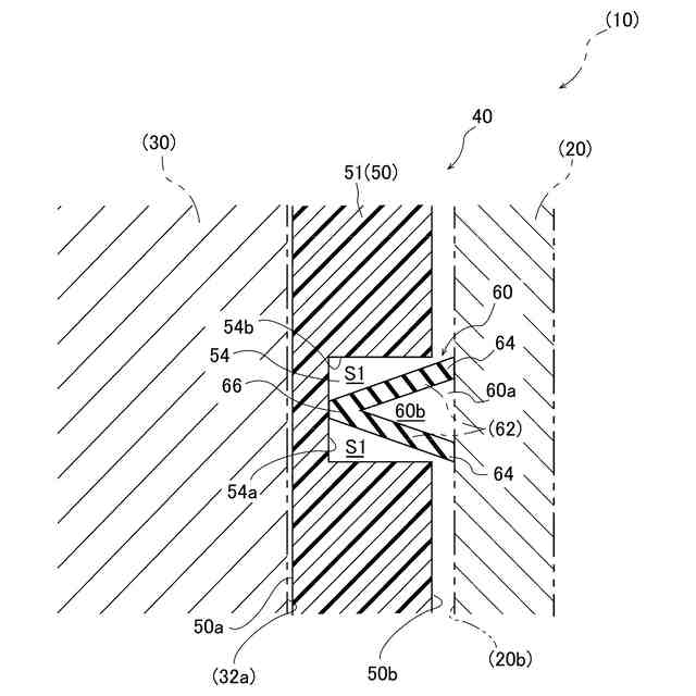
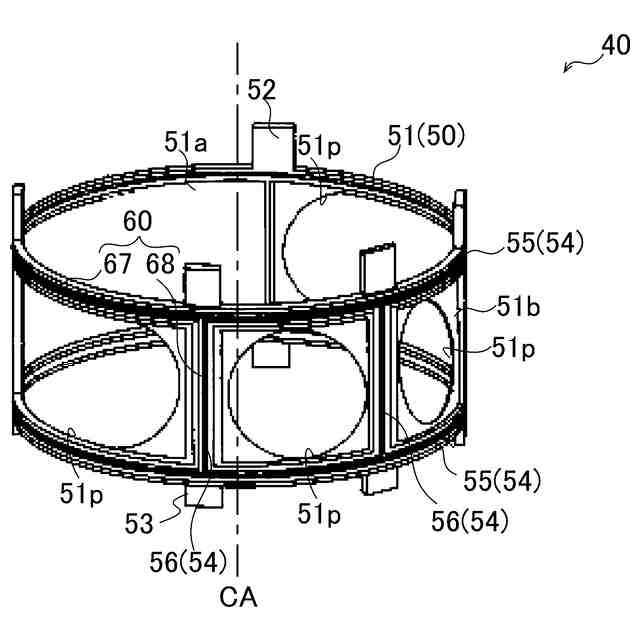
【解決手段】円筒状のハウジング20と、ハウジングの内側で同軸状に配置されて軸回りに回転するロータ30との間に組み付けられる密封装置640であって、ロータの外径部32aに沿う本体部を有する第1のシール部650であって、本体部を径方向に貫通するポート部と、径方向の外周面側から見てポート部のまわりを囲むように本体部の外周面に形成された溝部654であって、ハウジング側に向けて開く1対の傾斜面654bを有する溝部と、を有する第1のシール部と、溝部に装着されて、ハウジングと第1のシール部50との間をシールする第2のシール部660であって、1対の傾斜面と接触する第2のシール部と、を有する、密封装置。
【選択図】図14
特許請求の範囲
【請求項1】
円筒状のハウジングと、前記ハウジングの内側で同軸状に配置されて軸回りに回転するロータとの間に組み付けられる密封装置であって、
前記ロータの外径部に沿う本体部を有する第2のシール部であって、
前記本体部を径方向に貫通するポート部と、
前記径方向の外周面側から見て前記ポート部のまわりを囲むように前記本体部の外周面に形成された溝部であって、前記ハウジング側に向けて開く1対の傾斜面を有する溝部と、
を有する第2のシール部と、
前記溝部に装着されて、前記ハウジングと前記第2のシール部との間をシールする第2のシール部であって、前記1対の傾斜面と接触する第2のシール部と、
を有する、密封装置。
続きを表示(約 1,100 文字)
【請求項2】
前記溝部は、溝奥を有し、
前記溝奥と前記第2のシール部との間には、第1の間隙が形成されており、
第2のシール部は、組み付け時に前記第1の間隙に向けて変形可能である、請求項1に記載の密封装置。
【請求項3】
第2のシール部は、エラストマから形成されている、請求項2に記載の密封装置。
【請求項4】
前記1対の傾斜面は、前記第2のシール部の径方向における対称性を有する、請求項1または2に記載の密封装置。
【請求項5】
前記第2のシール部は、組み付け時に座屈可能な座屈部を有する、請求項1~3のいずれか1項に記載の密封装置。
【請求項6】
前記1対の傾斜面と前記座屈部との間には第2の間隙が形成されている、請求項5に記載の密封装置。
【請求項7】
円筒状のハウジングと、前記ハウジングの内側で同軸状に配置されて軸回りに回転するロータとの間に組み付けられる密封装置であって、
前記ロータの外径部に沿う本体部を有する第2のシール部であって、
前記本体部を径方向に貫通するポート部と、
前記径方向の外周面側から見て前記ポート部のまわりを囲むように前記本体部の外周面に形成された溝部であって、断面視で前記径方向に対して交差する方向で直線状に傾斜している1対の傾斜面と、溝奥と、を有する溝部と、
を有する第2のシール部と、
前記溝部に装着されて、前記ハウジングと前記第1のシール部との間をシールする第2のシール部であって、前記1対の傾斜面と接触する第2のシール部と、
を有し、
前記溝奥は、前記第2のシール部との間に第1の間隙を形成し、
第2のシール部は、組み付け時に前記第1の間隙に向けて変形可能である、
密封装置。
【請求項8】
円筒状のハウジングと、
前記ハウジングの内側で同軸状に配置されて軸回りに回転するロータと、
請求項1~7のいずれか1項に記載の密封装置と、
を有する、密封構造。
【請求項9】
請求項1~7のいずれか1項に記載の密封装置を円筒状のハウジングに組み付け、
前記ハウジングに組み付けられた前記密封装置の前記外周面とは反対側の内周面に、ロータを組み付ける、
密封構造の組み付け方法。
【請求項10】
請求項1~7のいずれか1項に記載の密封装置をロータに組み付け、
前記ロータに組み付けられた前記密封装置に円筒状のハウジングを組み付ける、
密封構造の組み付け方法。
発明の詳細な説明
【技術分野】
【0001】
本開示は、密封装置、密封構造、密封構造の組み付け方法に関する。
続きを表示(約 4,400 文字)
【背景技術】
【0002】
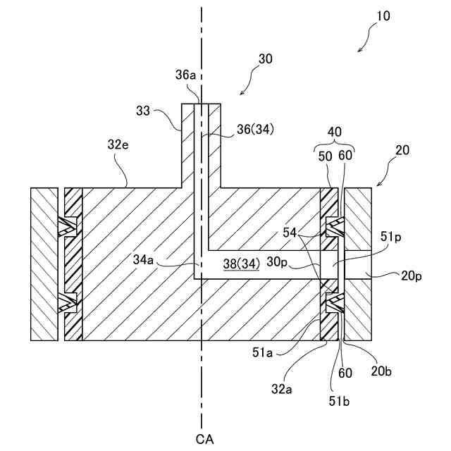
1つの機械システムに設けられた複数の流路を流れる流体の流通状態を切り替える装置として、ロータリー型の弁装置が知られている。例えば、図1に示される電気自動車の熱マネジメントシステムTMは、冷却液が流れる4つの循環流路CF1,CF2,CF3,CF4と、ロータリー型の弁装置の一例としての多ポート弁V10と、を有する。
循環流路CF1は、バッテリー部BTのまわりに設けられている。循環流路CF2は、熱交換器R1のまわりに設けられており、ポンプP1を有する。循環流路CF3は、熱交換器R2及びコンデンサC2のまわりに設けられており、タンクRTを有する。循環流路CF4は、電子部品ED及びアクスルAXのまわりに設けられており、ポンプP2を有する。
【0003】
多ポート弁V10は、各循環流路CF1~4を互いに合流可能に設けられる。多ポート弁V10は、ハウジングV2と、ロータV3と、密封装置V4と、を有する。ハウジングV2は、各循環流路CF1~4と接続する複数のポート部V2aを有する。
ロータV3は、ハウジングV2の内側で中心軸OVまわりに回転可能に設けられる。ロータV3は、ポート部V2aと接続可能な複数のポート部V3aと、複数のポート部V3aのうち2つのポート部V3aを接続する複数の流路V3bと、を有する。
密封装置V4は、ポート部V2aとポート部V3aとの間で冷却液を流通可能な状態で、ハウジングV2とロータV3との間をシールする。
ロータV3を回転させることで、多ポート弁V10は、循環流路CF1~4の相互の接続状態及び循環流路CF1~4を流れる冷却液の流通状態を切り替える。なお、熱交換器R2及びコンデンサC2のまわりには、エバポレータERと、アキュムレータARと、コンプレッサCPと、コンデンサC1と、を有する他の循環流路が設けられている。
【0004】
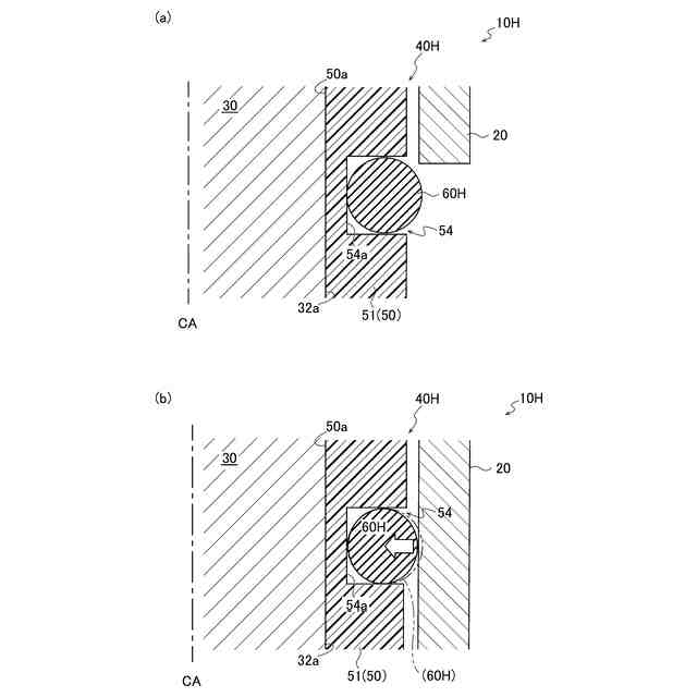
ロータリー型の弁装置の構造として、特開2018-96543号公報(以下、特許文献1)に記載されるような、弁室を有する弁本体(すなわち、ハウジング)と、弁室内に配置されて弁軸を介して回転する弁体(すなわち、ロータ)と、弁体と弁本体との間に配置されるシール部材であって、円筒体(すなわち、第1のシール部)と、外側リブ(すなわち、第2のシール部)と、を有するシール部材と、を有するものが知られている。
【発明の概要】
【発明が解決しようとする課題】
【0005】
特許文献1に記載されるシール部材は、円筒体と外側リブとが一体に成形されており、合成ゴム等の弾性材料から形成されている。弾性材料から形成された外側リブは、中実断面を有する。外側リブは、弁装置として組み込まれるときに弁本体から付与されて円筒体の中心軸方向に向かう嵌合力に応じた反力を発生させて円筒体に伝達させる。外側リブに発生する反力は、弾性材料に起因する弾性力である。外側リブによる反力は、円筒体に対して嵌合力と同じ方向に向けて作用し、円筒体の内周部による軸方向への力を増加させる。円筒体の内周部は弁体と接触しているため、円筒体による力の増加は、シール部材の弁体に対する摺動性を悪化させる虞がある。また、円筒体による力が増加すると、弁装置におけるシール部材の組み付け性を悪化させる虞がある。
【0006】
本開示は、組み付け時に第2のシール部から第1のシール部に伝達される反力の径方向成分を小さくすることを目的とする。
【課題を解決するための手段】
【0007】
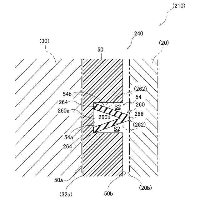
本開示の第1の態様は、円筒状のハウジングと、前記ハウジングの内側で同軸状に配置されて軸回りに回転するロータとの間に組み付けられる密封装置である。当該密封装置は、
前記ロータの外径部に沿う本体部を有する第1のシール部であって、
前記本体部を径方向に貫通するポート部と、
前記本体部の外周面に形成された溝部であって、前記外周面に平行な溝底を有し、前記径方向の前記外周面側から見て前記ポート部のまわりを囲むように形成された溝部と、
を有する第1のシール部と、
前記溝底と接触するように前記溝部に装着されて、前記ハウジングと前記第1のシール部との間をシールする第2のシール部であって、組み付け時に屈曲可能な屈曲部を有する第2のシール部と、
を有する。
本開示の第2の態様は、円筒状のハウジングと、前記ハウジングの内側で同軸状に配置されて軸回りに回転するロータとの間に組み付けられる密封装置である。当該密封装置は、
前記ロータの外径部に沿う本体部を有する第1のシール部であって、
前記本体部を径方向に貫通するポート部と、
前記本体部の外周面に形成された溝部であって、前記外周面に平行な溝底を有し、前記径方向の前記外周面側から見て前記ポート部のまわりを囲むように形成された溝部と、
を有する第1のシール部と、
前記溝底と接触するように前記溝部に装着されて、前記ハウジングと前記第1のシール部との間をシールする第2のシール部であって、組み付け時に前記径方向と交差する方向に屈曲可能な屈曲部を有する第2のシール部と、
を有する。
【0008】
本開示の第3の態様は、円筒状のハウジングと、前記ハウジングの内側で同軸状に配置されて軸回りに回転するロータとの間に組み付けられる密封装置である。当該密封装置は、
前記ロータの外径部に沿う本体部を有する第1のシール部であって、
前記本体部を径方向に貫通するポート部と、
前記本体部の外周面に形成された溝部であって、前記外周面に平行な溝底を有し、前記径方向の前記外周面側から見て前記ポート部のまわりを囲むように形成された溝部と、
を有する第1のシール部と、
前記溝底と接触するように前記溝部に装着されて、前記ハウジングと前記第1のシール部との間をシールする第2のシール部であって、組み付け時に屈曲可能な第2のシール部と、
を有する。
本開示の第4の態様は、円筒状のハウジングと、前記ハウジングの内側で同軸状に配置されて軸回りに回転するロータとの間に組み付けられる密封装置である。当該密封装置は、
前記ロータの外径部に沿う本体部を有する第1のシール部であって、
前記本体部を径方向に貫通するポート部と、
前記本体部の外周面に形成された溝部であって、前記外周面に平行な溝底を有し、前記径方向の前記外周面側から見て前記ポート部のまわりを囲むように形成された溝部と、
を有する第1のシール部と、
前記溝底と接触するように前記溝部に装着されて、前記ハウジングと前記第1のシール部との間をシールする第2のシール部であって、組み付け時に前記径方向と交差する方向に屈曲可能な第2のシール部と、
を有する。
【0009】
本開示の第5の態様は、密封構造である。当該密封構造は、
円筒状のハウジングと、
前記ハウジングの内側で同軸状に配置されて軸回りに回転するロータと、
前記ロータの外径部に沿う本体部を有する第1のシール部であって、
前記本体部を径方向に貫通するポート部と、
前記本体部の外周面に形成された溝部であって、前記外周面に平行な溝底を有し、前記径方向の前記外周面側から見て前記ポート部のまわりを囲むように形成された溝部と、
を有する第1のシール部と、
前記溝底と接触するように前記溝部に装着されて、前記ハウジングと前記第1のシール部との間を屈曲した状態でシールする第2のシール部と、
を有する。
本開示の第6の態様は、密封構造である。当該密封構造は、
円筒状のハウジングと、
前記ハウジングの内側で同軸状に配置されて軸回りに回転するロータと、
前記ロータの外径部に沿う本体部を有する第1のシール部であって、
前記本体部を径方向に貫通するポート部と、
前記本体部の外周面に形成された溝部であって、前記外周面に平行な溝底を有し、前記径方向の前記外周面側から見て前記ポート部のまわりを囲むように形成された溝部と、
を有する第1のシール部と、
前記溝底と接触するように前記溝部に装着されて、前記ハウジングと前記第1のシール部との間を前記径方向と交差する方向に屈曲した状態でシールする第2のシール部と、
を有する。
【0010】
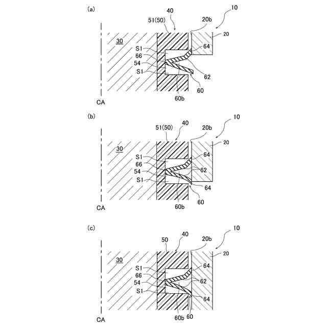
本開示の第7の態様は、円筒状のハウジングと、前記ハウジングの内側で同軸状に配置されて軸回りに回転するロータとの間に組み付けられる密封装置である。当該密封装置は、
前記ロータの外径部に沿う本体部を有する第1のシール部であって、
前記本体部を径方向に貫通するポート部と、
前記径方向の前記外周面側から見て前記ポート部のまわりを囲むように前記本体部の外周面に形成された溝部であって、前記ハウジング側に向けて開く1対の傾斜面を有する溝部と、
を有する第1のシール部と、
前記溝部に装着されて、前記ハウジングと前記第1のシール部との間をシールする第2のシール部であって、前記1対の傾斜面と接触する第2のシール部と、
を有する。
本開示の第8の態様は、円筒状のハウジングと、前記ハウジングの内側で同軸状に配置されて軸回りに回転するロータとの間に組み付けられる密封装置である。当該密封装置は、
前記ロータの外径部に沿う本体部を有する第1のシール部であって、
前記本体部を径方向に貫通するポート部と、
前記径方向の前記外周面側から見て前記ポート部のまわりを囲むように前記本体部の外周面に形成された溝部であって、断面視で前記径方向に対して交差する方向で直線状に傾斜している1対の傾斜面と、溝奥と、を有する溝部と、
を有する第1のシール部と、
前記溝部に装着されて、前記ハウジングと前記第1のシール部との間をシールする第2のシール部であって、前記1対の傾斜面と接触する第2のシール部と、
を有し、
前記溝奥は、前記第2のシール部との間に第1の間隙を形成し、
第2のシール部は、組み付け時に前記第1の間隙に向けて変形可能である。
(【0011】以降は省略されています)
この特許をJ-PlatPat(特許庁公式サイト)で参照する
関連特許
NOK株式会社
密封構造
26日前
NOK株式会社
吸音構造体
12日前
NOK株式会社
遊星歯車機構
1か月前
NOK株式会社
セルユニット
1か月前
NOK株式会社
密封装置および密封構造
27日前
NOK株式会社
成形型、ガスケットの製造方法およびガスケット
27日前
NOK株式会社
熱劣化判定方法、熱履歴推定方法、熱劣化判定装置、熱履歴推定装置
1か月前
NOK株式会社
密封装置、密封構造、密封構造の組み付け方法
26日前
NOK株式会社
バッテリー用緩衝材、バッテリー、およびバッテリー用緩衝材の弾性部材が発生させるガスを管理する方法
1か月前
東ソー株式会社
バイオマス由来の塩素化ポリエチレン
1か月前
個人
留め具
1か月前
個人
鍋虫ねじ
2か月前
個人
ホース保持具
7か月前
個人
回転伝達機構
3か月前
個人
紛体用仕切弁
2か月前
個人
トーションバー
7か月前
個人
差動歯車用歯形
4か月前
個人
ジョイント
1か月前
個人
給排気装置
1か月前
株式会社不二工機
電磁弁
6か月前
個人
ナット
12日前
株式会社不二工機
電磁弁
4か月前
個人
ナット
2か月前
個人
地震の揺れ回避装置
3か月前
個人
吐出量監視装置
2か月前
柿沼金属精機株式会社
分岐管
3か月前
兼工業株式会社
バルブ
13日前
カヤバ株式会社
緩衝器
4か月前
カヤバ株式会社
ダンパ
4か月前
カヤバ株式会社
緩衝器
4か月前
カヤバ株式会社
ダンパ
4か月前
カヤバ株式会社
緩衝器
1か月前
株式会社ノーリツ
分配弁
6か月前
アズビル株式会社
回転弁
1か月前
株式会社ノーリツ
分配弁
6か月前
株式会社不二工機
電磁弁
2か月前
続きを見る
他の特許を見る