TOP
|
特許
|
意匠
|
商標
特許ウォッチ
Twitter
他の特許を見る
10個以上の画像は省略されています。
公開番号
2025159596
公報種別
公開特許公報(A)
公開日
2025-10-21
出願番号
2024062295
出願日
2024-04-08
発明の名称
密封装置および密封構造
出願人
NOK株式会社
代理人
弁理士法人旺知国際特許事務所
主分類
F16J
15/10 20060101AFI20251014BHJP(機械要素または単位;機械または装置の効果的機能を生じ維持するための一般的手段)
要約
【課題】配線等の長尺状の対象物を被覆する密封装置を設置する作業を簡素化する。
【解決手段】密封装置30は、長尺状の対象物の外周面を被覆する管状の弾性部材40を含み、弾性部材40は、軸方向の全長にわたりスリット50が形成された一体の部材である。
【選択図】図3
特許請求の範囲
【請求項1】
長尺状の対象物の外周面を被覆する管状の弾性部材を含み、
前記弾性部材は、軸方向の全長にわたりスリットが形成された一体の部材である
密封装置。
続きを表示(約 1,000 文字)
【請求項2】
前記弾性部材は、
前記対象物を包囲する管状部を含む
請求項1の密封装置。
【請求項3】
前記管状部の外周面は、前記軸方向に対して所定の角度で傾斜する傾斜面である
請求項2の密封装置。
【請求項4】
前記弾性部材は、
前記管状部の外周面から突出する1以上の突起を含み、
前記1以上の突起は、前記弾性部材の周方向に延在し、両端部が前記スリットを挟んで相互に接触する
請求項2の密封装置。
【請求項5】
前記管状部は、軸方向において相互に反対側に位置する第1端および第2端を含み、
前記1以上の突起は、
前記管状部の軸方向における中央部と前記第1端との間に位置する第1突起と、
前記中央部と前記第2端との間に位置する第2突起とを含む
請求項4の密封装置。
【請求項6】
前記1以上の突起は、さらに、
前記軸方向において前記第1突起と前記第2突起との間に位置する第3突起を含む
請求項5の密封装置。
【請求項7】
前記弾性部材は、
前記管状部の外周面から突出する第1軸突起および第2軸突起を含み、
前記第1軸突起および前記第2軸突起は、前記軸方向に沿って延在し、前記スリットを挟んで相互に接触する
請求項2から請求項6の何れかの密封装置。
【請求項8】
前記対象物は、
配線と、
前記配線の端部に固定された端子とを含む接続ケーブルであり、
前記管状部の内周面は、
第1内径の第1区間と、
前記第1内径を下回る第2内径の第2区間と、
前記第1区間と前記第2区間との間の段差面とを含み、
前記端子のうち前記配線側に位置する基端部は、前記段差面に接触する
請求項2の密封装置。
【請求項9】
長尺状の対象物と、
前記対象物を収容する収容空間が形成された筐体と、
前記対象物の外周面と前記収容空間の内周面との隙間を密封する密封装置と
を具備し、
前記密封装置は、前記対象物の外周面を被覆する管状の弾性部材を含み、
前記弾性部材は、軸方向の全長にわたりスリットが形成された一体の部材である
密封構造。
発明の詳細な説明
【技術分野】
【0001】
本発明は、密封装置および密封構造に関する。
続きを表示(約 1,900 文字)
【背景技術】
【0002】
各種の配線の端部には端子が固定される。特許文献1には、熱収縮チューブにより配線を被覆することで、配線に対する水分の付着等を抑制する構成が開示されている。
【先行技術文献】
【特許文献】
【0003】
特開2008-108684号公報
【発明の概要】
【発明が解決しようとする課題】
【0004】
しかし、全周にわたり連続する円筒状の熱収縮チューブにより配線を被覆するには煩雑な工程が必要である。具体的には、(1)配線を事前に熱収縮チューブに挿入する工程、(2)配線に端子を固定する工程、(3)配線と端子との接続部分に熱収縮チューブを移動させる工程、(4)配線と端子との接続部分に接着剤を塗布する工程、および、(5)熱収縮チューブを加熱して収縮させる工程が必要である。以上の事情を考慮して、本開示のひとつの態様は、配線等の長尺状の対象物を被覆する密封装置を設置する作業を簡素化することを目的とする。
【課題を解決するための手段】
【0005】
以上の課題を解決するために、本開示のひとつの態様に係る密封装置は、長尺状の対象物の外周面を被覆する管状の弾性部材を含み、前記弾性部材は、軸方向の全長にわたりスリットが形成された一体の部材である。
【0006】
本開示のひとつの態様に係る密封構造は、長尺状の対象物と、前記対象物を収容する収容空間が形成された筐体と、前記対象物の外周面と前記収容空間の内周面との隙間を密封する密封装置とを具備し、前記密封装置は、前記対象物の外周面を被覆する管状の弾性部材を含み、前記弾性部材は、軸方向の全長にわたりスリットが形成された一体の部材である。
【図面の簡単な説明】
【0007】
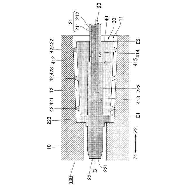
第1実施形態に係る密封構造の側面図である。
密封構造の断面図である。
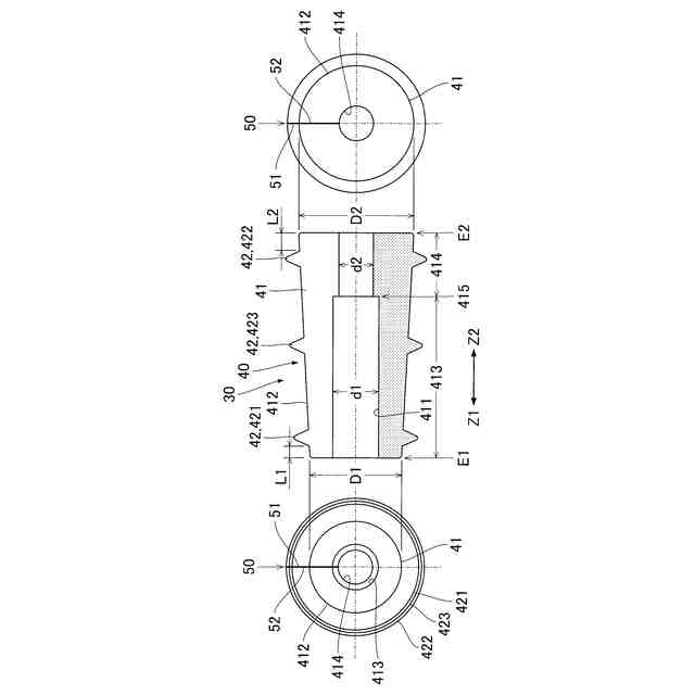
密封装置の斜視図である。
密封装置の断面図および平面図である。
スリットの形成方法に関する説明図である。
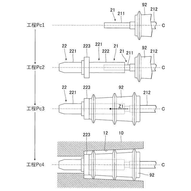
密封構造の組立手順を例示する工程図である。
弾性部材の内側に接続ケーブルを収容する工程の説明図である。
対比例1に係る密封構造の組立手順を例示する工程図である。
対比例2に係る密封構造の組立手順を例示する工程図である。
第2実施形態における密封装置の構成を例示する視図である。
第2実施形態における密封装置の平面図である。
第2実施形態の効果に関する説明図である。
変形例における密封装置の側面図である。
変形例における密封装置の側面図である。
変形例における密封装置の側面図である。
変形例における密封装置の側面図である。
変形例における密封装置の側面図である。
変形例における密封装置の側面図である。
【発明を実施するための形態】
【0008】
本開示を実施するための形態について図面を参照して説明する。なお、各図面においては、各要素の寸法および縮尺が実際の製品とは相違する場合がある。また、以下に説明する形態は、本開示を実施する場合に想定される例示的な一形態である。したがって、本開示の範囲は、以下に例示する形態には限定されない。
【0009】
A:第1実施形態
図1は、本開示の第1実施形態に係る密封構造100の側面図である。図2は、密封構造100の断面図である。第1実施形態の密封構造100は、例えば電気自動車に搭載される電源装置等の複数の電気機器を電気的に接続するための構造に適用される。ただし、密封構造100の用途は任意であり、以上の例示に限定されない。図1および図2に例示される通り、密封構造100は、筐体10と接続ケーブル20と密封装置30とを具備する。
【0010】
図1および図2には、密封装置30の軸線Cが図示されている。軸線Cは、密封装置30の中心軸である。以下の説明においては、軸線Cに沿う方向を「軸方向」と表記する。軸方向は、相互に反対を向くZ1方向とZ2方向とに区別される。また、軸線Cを中心とした任意径の仮想円の円周の方向を「周方向」と表記し、当該仮想円の半径の方向を「径方向」と表記する。径方向において軸線Cに向かう方向を「内側」と表記し、軸線Cとは反対に向かう方向を「外側」と表記する。
(【0011】以降は省略されています)
この特許をJ-PlatPat(特許庁公式サイト)で参照する
関連特許
NOK株式会社
密封構造
26日前
NOK株式会社
吸音構造体
12日前
NOK株式会社
遊星歯車機構
1か月前
NOK株式会社
密封装置および密封構造
27日前
NOK株式会社
成形型、ガスケットの製造方法およびガスケット
27日前
NOK株式会社
熱劣化判定方法、熱履歴推定方法、熱劣化判定装置、熱履歴推定装置
1か月前
NOK株式会社
密封装置、密封構造、密封構造の組み付け方法
26日前
NOK株式会社
バッテリー用緩衝材、バッテリー、およびバッテリー用緩衝材の弾性部材が発生させるガスを管理する方法
1か月前
東ソー株式会社
バイオマス由来の塩素化ポリエチレン
1か月前
個人
留め具
1か月前
個人
鍋虫ねじ
2か月前
個人
回転伝達機構
3か月前
個人
ホース保持具
7か月前
個人
紛体用仕切弁
2か月前
個人
差動歯車用歯形
4か月前
個人
トーションバー
7か月前
個人
給排気装置
1か月前
個人
ジョイント
1か月前
個人
ナット
2か月前
個人
ナット
12日前
個人
地震の揺れ回避装置
3か月前
株式会社不二工機
電磁弁
6か月前
株式会社不二工機
電磁弁
4か月前
個人
吐出量監視装置
2か月前
柿沼金属精機株式会社
分岐管
3か月前
カヤバ株式会社
緩衝器
1か月前
カヤバ株式会社
ダンパ
4か月前
カヤバ株式会社
ダンパ
4か月前
カヤバ株式会社
緩衝器
4か月前
カヤバ株式会社
緩衝器
4か月前
兼工業株式会社
バルブ
13日前
株式会社ノーリツ
分配弁
6か月前
日東電工株式会社
断熱材
7か月前
株式会社三五
ドライブシャフト
26日前
株式会社不二工機
電磁弁
2か月前
株式会社ノーリツ
分配弁
6か月前
続きを見る
他の特許を見る