TOP
|
特許
|
意匠
|
商標
特許ウォッチ
Twitter
他の特許を見る
10個以上の画像は省略されています。
公開番号
2025145817
公報種別
公開特許公報(A)
公開日
2025-10-03
出願番号
2024046256
出願日
2024-03-22
発明の名称
バッテリー用緩衝材、バッテリー、およびバッテリー用緩衝材の弾性部材が発生させるガスを管理する方法
出願人
NOK株式会社
代理人
個人
,
個人
主分類
H01M
50/262 20210101AFI20250926BHJP(基本的電気素子)
要約
【課題】商品価値を高めたバッテリー用緩衝材を提供する。
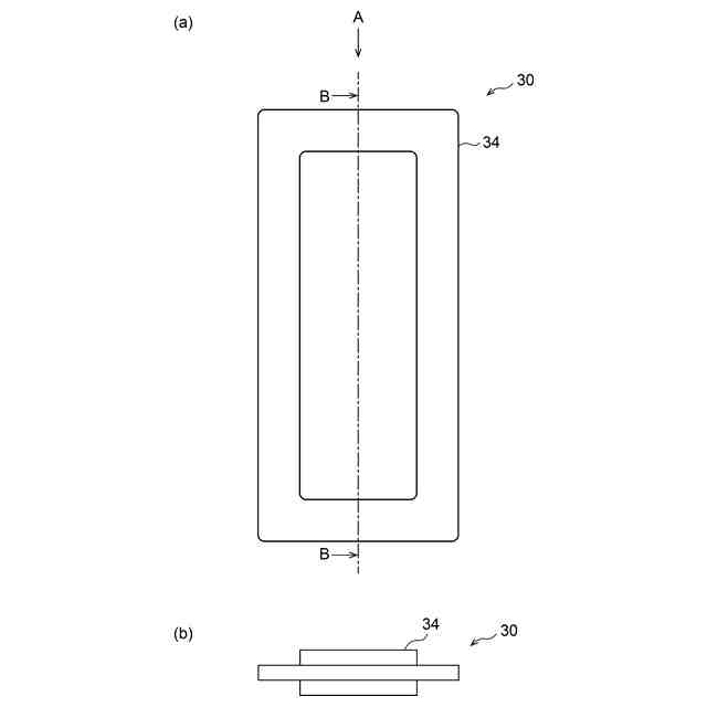
【解決手段】バッテリー用緩衝材30は、隣接するバッテリーセル20の間に配置される。バッテリー用緩衝材30は、弾性部材32と、弾性部材32を包む耐熱袋34と、を備え、耐熱袋34は、弾性部材32がガスを発生させた場合に、所定濃度を超える当該ガスをセルに接触させない。
【選択図】図3
特許請求の範囲
【請求項1】
隣接するバッテリーセルの間に配置されるバッテリー用緩衝材であって、
弾性部材と、
前記弾性部材を包む耐熱袋と、
を備え、
前記耐熱袋は、前記弾性部材がガスを発生させた場合に、所定濃度を超える当該ガスを前記セルに接触させない、バッテリー用緩衝材。
続きを表示(約 1,000 文字)
【請求項2】
前記耐熱袋は、所定濃度を超える前記ガスを前記セルに接触させないために、前記弾性部材を密封する、請求項1に記載のバッテリー用緩衝材。
【請求項3】
前記耐熱袋は膨らみ代を有し、前記弾性部材がガスを発生させた場合に当該ガスによって前記耐熱袋が膨らむことにより、隣接するバッテリーセルの間の距離は、前記耐熱袋が膨らんでいないときよりも長くなる、請求項2に記載のバッテリー用緩衝材。
【請求項4】
前記耐熱袋は、排出口を有するとともに、当該排出口以外からはガスが排出されないように前記弾性部材を密封し、
前記耐熱袋は、所定濃度を超える前記ガスを前記セルに接触させないために、前記排出口から排出された前記ガスの濃度が前記セルに接触するまでに前記所定濃度を下回る位置に前記排出口を有する請求項1に記載のバッテリー用緩衝材。
【請求項5】
前記耐熱袋は、排出口を有するとともに、当該排出口以外からガスが排出されないように前記弾性部材を密封し、
前記耐熱袋は、所定濃度を超える前記ガスを前記セルに接触させないために、前記排出口から排出された前記ガスが前記セルに接触しない位置に前記排出口を有する請求項1に記載のバッテリー用緩衝材。
【請求項6】
前記排出口は、当該バッテリー用緩衝材が積層されるべき方向に当該バッテリ用緩衝材を見たときに、前記耐熱袋の周縁部に位置する請求項4または5に記載のバッテリー用緩衝材。
【請求項7】
前記耐熱袋は金属製である、請求項1に記載のバッテリー用緩衝材。
【請求項8】
前記耐熱袋の耐熱温度は、前記弾性部材が分解反応を起こしてガスを発生する下限温度よりも高い、請求項1に記載のバッテリー用緩衝材。
【請求項9】
複数のバッテリーセルと、
隣接するバッテリーセルの間に配置される請求項1から5のいずれかに記載のバッテリー用緩衝材と、
を備えるバッテリー。
【請求項10】
隣接するバッテリーセルの間に配置されるバッテリー用緩衝材の弾性部材が発生させるガスを管理する方法であって、
前記弾性部材がガスを発生させた場合に前記弾性部材を包む耐熱袋が前記ガスを閉じ込めることを備える、方法。
(【請求項11】以降は省略されています)
発明の詳細な説明
【技術分野】
【0001】
本発明は、バッテリー用緩衝材、バッテリー、およびバッテリー用緩衝材の弾性部材が発生させるガスを密封する方法に関する。
続きを表示(約 1,200 文字)
【背景技術】
【0002】
特許文献1は、複数のバッテリーセルを備えるバッテリーにおいて、隣接するバッテリーセルの間に配置されるバッテリー用緩衝材を開示する。バッテリー用緩衝材が間に配置されることにより、充放電に伴うバッテリーセルの体積変化を吸収できる。
【先行技術文献】
【特許文献】
【0003】
国際公開第2023/199820号
【発明の概要】
【発明が解決しようとする課題】
【0004】
本発明はこうした状況に鑑みてなされたものであり、そのある態様の例示的な目的のひとつは、商品価値を高めたバッテリー用緩衝材を提供することにある。
【課題を解決するための手段】
【0005】
上記課題を解決するために、本発明のある態様のバッテリー用緩衝材は、隣接するバッテリーセルの間に配置されるバッテリー用緩衝材であって、弾性部材と、弾性部材を包む耐熱袋と、を備える。耐熱袋は、弾性部材がガスを発生させた場合に、所定濃度を超える当該ガスをセルに接触させない。
【0006】
本発明の別の態様は、バッテリーである。このバッテリーは、複数のバッテリーセルと、隣接するバッテリーセルの間に配置される上述のバッテリー用緩衝材と、を備える。
【0007】
本発明のさらに別の態様は、バッテリー用緩衝材の弾性部材が発生させるガスを管理する方法である。この方法は、隣接するバッテリーセルの間に配置されるバッテリー用緩衝材の弾性部材が発生させるガスを管理する方法であって、弾性部材がガスを発生させた場合に弾性部材を包む耐熱袋がガスを閉じ込めることを備える。
【0008】
本発明のさらに別の態様もまた、バッテリー用緩衝材の弾性部材が発生させるガスを管理する方法である。この方法は、隣接するバッテリーセルの間に配置されるバッテリー用緩衝材の弾性部材が発生させるガスを管理する方法であって、バッテリー用緩衝材は、弾性部材と、弾性部材を包む耐熱袋と、を備え、弾性部材がガスを発生させた場合に、所定濃度を超えるガスがセルに接触しない位置にガスを排出することを備える。
【0009】
本発明のさらに別の態様もまた、バッテリー用緩衝材の弾性部材が発生させるガスを管理する方法である。この方法は、隣接するバッテリーセルの間に配置されるバッテリー用緩衝材の弾性部材が発生させるガスを管理する方法であって、バッテリー用緩衝材は、弾性部材と、弾性部材を包む耐熱袋と、を備え、弾性部材がガスを発生させた場合に、ガスがセルに接触しない位置にガスを排出することを備える。
【発明の効果】
【0010】
本発明によれば、商品価値を高めたバッテリー用緩衝材を提供することができる。
【図面の簡単な説明】
(【0011】以降は省略されています)
この特許をJ-PlatPat(特許庁公式サイト)で参照する
関連特許
NOK株式会社
密封構造
15日前
NOK株式会社
吸音構造体
1日前
NOK株式会社
遊星歯車機構
21日前
NOK株式会社
密封装置および密封構造
16日前
NOK株式会社
成形型、ガスケットの製造方法およびガスケット
16日前
NOK株式会社
熱劣化判定方法、熱履歴推定方法、熱劣化判定装置、熱履歴推定装置
27日前
NOK株式会社
密封装置、密封構造、密封構造の組み付け方法
15日前
東ソー株式会社
バイオマス由来の塩素化ポリエチレン
22日前
APB株式会社
蓄電セル
13日前
東ソー株式会社
絶縁電線
15日前
個人
フレキシブル電気化学素子
27日前
ローム株式会社
半導体装置
14日前
株式会社ユーシン
操作装置
27日前
ローム株式会社
半導体装置
29日前
日新イオン機器株式会社
イオン源
23日前
株式会社東芝
端子台
7日前
マクセル株式会社
電源装置
7日前
株式会社GSユアサ
蓄電設備
27日前
株式会社GSユアサ
蓄電装置
8日前
株式会社GSユアサ
蓄電装置
8日前
株式会社GSユアサ
蓄電装置
今日
株式会社GSユアサ
蓄電設備
27日前
株式会社ホロン
冷陰極電子源
21日前
太陽誘電株式会社
コイル部品
27日前
オムロン株式会社
電磁継電器
28日前
サクサ株式会社
電池の固定構造
27日前
日新イオン機器株式会社
基板処理装置
10日前
トヨタ自動車株式会社
バッテリ
13日前
トヨタ自動車株式会社
冷却構造
15日前
ノリタケ株式会社
熱伝導シート
27日前
トヨタ自動車株式会社
バッテリ
28日前
トヨタ自動車株式会社
蓄電装置
8日前
日本特殊陶業株式会社
保持装置
16日前
トヨタ自動車株式会社
蓄電装置
27日前
日東電工株式会社
積層体
28日前
北道電設株式会社
配電具カバー
13日前
続きを見る
他の特許を見る