TOP
|
特許
|
意匠
|
商標
特許ウォッチ
Twitter
他の特許を見る
公開番号
2025171401
公報種別
公開特許公報(A)
公開日
2025-11-20
出願番号
2024076713
出願日
2024-05-09
発明の名称
トーショナルダンパー
出願人
NOK株式会社
代理人
弁理士法人旺知国際特許事務所
主分類
F16F
15/126 20060101AFI20251113BHJP(機械要素または単位;機械または装置の効果的機能を生じ維持するための一般的手段)
要約
【課題】シャフトの捩り振動および曲げ振動を簡便な構成で低減する。
【解決手段】トーショナルダンパーは、シャフトに固定されるハブと、ハブの外周に沿う円環状の振動リングと、ハブと振動リングとの間に嵌め合わされる複数の弾性部と、を備え、複数の弾性部は、周方向に互いに間隔をあけて配置されており、ハブと振動リングとの間には、当該間隔による複数の空隙部が設けられる。
【選択図】図1
特許請求の範囲
【請求項1】
シャフトに固定されるハブと、
前記ハブの外周に沿う円環状の振動リングと、
前記ハブと前記振動リングとの間に嵌め合わされる複数の弾性部と、を備え、
前記複数の弾性部は、周方向に互いに間隔をあけて配置されており、
前記ハブと前記振動リングとの間には、前記間隔による複数の空隙部が設けられる、
トーショナルダンパー。
続きを表示(約 720 文字)
【請求項2】
前記複数の弾性部の周方向での長さが互いに等しい、
請求項1に記載のトーショナルダンパー。
【請求項3】
前記複数の空隙部のそれぞれは、中心角が10°以上110°以下である円弧状の空間である、
請求項1に記載のトーショナルダンパー。
【請求項4】
前記複数の弾性部は、前記間隔をあけて配置される複数のダンパーゴムで構成される、
請求項1に記載のトーショナルダンパー。
【請求項5】
前記複数の弾性部は、前記ハブと前記振動リングとの間に嵌め合わされる環状のダンパーゴムの複数の部分で構成されており、
前記ダンパーゴムの前記複数の弾性部以外の部分の横断面積は、前記複数の弾性部のそれぞれの横断面積よりも小さい、
請求項1に記載のトーショナルダンパー。
【請求項6】
前記複数の弾性部および前記複数の空隙部は、前記シャフトの中心軸に沿う方向にみて、第1軸に関して線対称に配置される、
請求項1に記載のトーショナルダンパー。
【請求項7】
前記複数の弾性部および前記複数の空隙部は、前記中心軸に沿う方向にみて、前記第1軸に直交する第2軸に関して線対称に配置される、
請求項6に記載のトーショナルダンパー。
【請求項8】
前記ハブの内周面には、前記シャフトの中心軸に沿って延びるキー溝が設けられており、
前記複数の弾性部および前記複数の空隙部の周方向での位置は、前記キー溝を基準とした位置である、
請求項1から7のいずれか1項に記載のトーショナルダンパー。
発明の詳細な説明
【技術分野】
【0001】
本開示は、トーショナルダンパーに関する。
続きを表示(約 1,300 文字)
【背景技術】
【0002】
従来、内燃機関に設けられるクランクシャフト等のシャフトに発生する振動を低減するトーショナルダンパーが知られている。例えば、特許文献1には、クランクシャフトの捩り振動を低減するトーショナルダンパーと、クランクシャフトの曲げ振動を低減するベンディングダンパーと、を備えるダンパー装置が開示される。
【先行技術文献】
【特許文献】
【0003】
特開2019-108911号公報
【発明の概要】
【発明が解決しようとする課題】
【0004】
しかし、特許文献1に記載の技術では、トーショナルダンパーとベンディングダンパーとが別個に設置されるので、構成の複雑化を招いてしまうという課題がある。
【0005】
以上の事情を考慮して、本開示は、シャフトの捩り振動および曲げ振動を簡便な構成で低減することを目的とする。
【課題を解決するための手段】
【0006】
以上の課題を解決するために、本開示のトーショナルダンパーの一態様は、シャフトに固定されるハブと、前記ハブの外周に沿う円環状の振動リングと、前記ハブと前記振動リングとの間に嵌め合わされる複数の弾性部と、を備え、前記複数の弾性部は、周方向に互いに間隔をあけて配置されており、前記ハブと前記振動リングとの間には、前記間隔による複数の空隙部が設けられる。
【発明の効果】
【0007】
本開示では、シャフトの捩り振動および曲げ振動の双方を簡便な構成で低減することができる。
【図面の簡単な説明】
【0008】
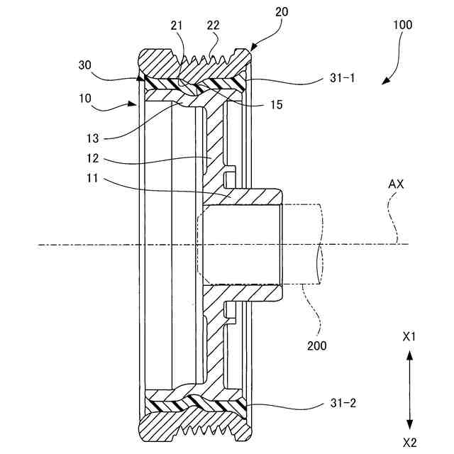
第1実施形態に係るトーショナルダンパーの平面図である。
図1中のA-A線断面図である。
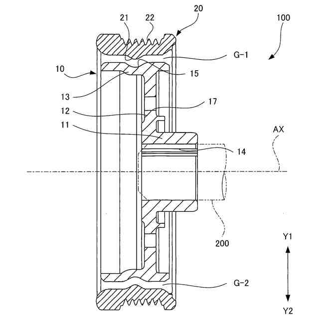
図1中のB-B線断面図である。
第2実施形態に係るトーショナルダンパーの断面図である。
変形例1に係るトーショナルダンパーの断面図である。
変形例2に係るトーショナルダンパーの平面図である。
【発明を実施するための形態】
【0009】
以下、添付図面を参照しながら本開示に係る好適な実施形態を説明する。なお、図面において各部の寸法および縮尺は実際と適宜に異なり、理解を容易にするために模式的に示す部分もある。また、本開示の範囲は、以下の説明において特に本開示を限定する旨の記載がない限り、これらの形態に限られない。
【0010】
1.第1実施形態
図1は、第1実施形態に係るトーショナルダンパー100の平面図である。図2は、図1中のA-A線断面図である。図3は、図1中のB-B線断面図である。トーショナルダンパー100は、レシプロエンジン等の内燃機関に設けられるクランクシャフト等のシャフト200に発生する振動を低減する動吸振器である。シャフト200は、中心軸AXまわりに回転する。シャフト200には、中心軸AXまわりの捩り振動および曲げ振動が発生し得る。なお、図1から図3では、シャフト200が二点鎖線で簡略的に図示される。
(【0011】以降は省略されています)
この特許をJ-PlatPat(特許庁公式サイト)で参照する
関連特許
NOK株式会社
密封構造
1か月前
NOK株式会社
吸音構造体
16日前
NOK株式会社
遊星歯車機構
1か月前
NOK株式会社
トーショナルダンパー
1日前
NOK株式会社
密封装置および密封構造
1か月前
国立大学法人福島大学
ニトリルゴム分解菌
1日前
NOK株式会社
成形型、ガスケットの製造方法およびガスケット
1か月前
NOK株式会社
熱劣化判定方法、熱履歴推定方法、熱劣化判定装置、熱履歴推定装置
1か月前
NOK株式会社
密封装置、密封構造、密封構造の組み付け方法
1か月前
NOK株式会社
バッテリー用緩衝材、バッテリー、およびバッテリー用緩衝材の弾性部材が発生させるガスを管理する方法
1か月前
東ソー株式会社
バイオマス由来の塩素化ポリエチレン
1か月前
個人
留め具
1か月前
個人
鍋虫ねじ
2か月前
個人
紛体用仕切弁
2か月前
個人
回転伝達機構
3か月前
個人
差動歯車用歯形
4か月前
個人
ジョイント
2か月前
個人
給排気装置
1か月前
株式会社不二工機
電磁弁
4か月前
個人
ナット
2か月前
株式会社不二工機
電磁弁
6か月前
個人
ナット
16日前
個人
地震の揺れ回避装置
4か月前
個人
ゲート弁バルブ
1日前
個人
吐出量監視装置
2か月前
カヤバ株式会社
ダンパ
5か月前
カヤバ株式会社
緩衝器
4か月前
カヤバ株式会社
緩衝器
4か月前
カヤバ株式会社
緩衝器
1か月前
兼工業株式会社
バルブ
17日前
カヤバ株式会社
ダンパ
5か月前
柿沼金属精機株式会社
分岐管
3か月前
株式会社不二工機
電磁弁
2か月前
株式会社ノーリツ
分配弁
1か月前
株式会社フジキン
ボールバルブ
5か月前
個人
固着具と固着具の固定方法
6か月前
続きを見る
他の特許を見る