TOP
|
特許
|
意匠
|
商標
特許ウォッチ
Twitter
他の特許を見る
10個以上の画像は省略されています。
公開番号
2025139241
公報種別
公開特許公報(A)
公開日
2025-09-26
出願番号
2024038067
出願日
2024-03-12
発明の名称
通知装置
出願人
本田技研工業株式会社
代理人
弁理士法人クシブチ国際特許事務所
主分類
B60R
21/015 20060101AFI20250918BHJP(車両一般)
要約
【課題】補助具の使用を促す通知を適切に行うこと。
【解決手段】通知装置1は、車両内の乗員Mcを検出可能な乗員検出部11aと、乗員Mcに対して通知を行う通知部23と、乗員Mcが補助具5を使用しているか否かを判定する判定部11bと、を備える。乗員検出部11aは、乗員Mcから補助具5に関わる識別情報を取得し、判定部11bは、識別情報に基づき、乗員Mcが補助具5の使用対象か否かを判定し、通知部23は、乗員Mcが補助具5の使用対象と判定された場合、補助具5の使用を促す通知処理を行う。
【選択図】図1
特許請求の範囲
【請求項1】
車両内の乗員を検出可能な乗員検出部と、
前記乗員に対して通知を行う通知部と、
前記乗員が補助具を使用しているか否かを判定する判定部と、を備える通知装置において、
前記乗員検出部は、前記乗員から前記補助具に関わる識別情報を取得し、
前記判定部は、前記識別情報に基づき、前記乗員が前記補助具の使用対象か否かを判定し、
前記通知部は、前記乗員が前記補助具の使用対象と判定された場合、前記補助具の使用を促す通知処理を行う
通知装置。
続きを表示(約 1,200 文字)
【請求項2】
前記乗員検出部は、前記乗員の高さを検出可能な乗員高さ検出部を備え、
前記識別情報は、前記補助具に関わる情報のうち、前記乗員の高さ以外の情報であり、
前記判定部は、前記乗員の高さに基づき前記乗員が前記補助具の使用対象か否かを更に判定し、
前記通知部は、前記乗員が前記補助具の使用対象でないと判定され、且つ、前記乗員の高さに基づき前記乗員が前記補助具の使用対象と判定された場合、前記補助具の使用を促す通知処理を行う
請求項1に記載の通知装置。
【請求項3】
前記乗員検出部は、前記乗員に対するシートベルトの装着位置を検出可能であり、
前記判定部は、前記装着位置に基づき、前記シートベルトが前記乗員に適切か否かを判定し、前記乗員に適切でないと判定した場合、前記乗員が前記シートベルト以外の前記補助具の使用対象と判定する
請求項1に記載の通知装置。
【請求項4】
前記通知部は、前記判定部により、前記識別情報に基づき前記乗員が前記補助具の使用対象と判定された場合、第1の通知処理を行い、
前記判定部により、前記乗員が前記補助具の使用対象でないと判定され、且つ、前記乗員の高さが所定高さ未満と判定された場合、前記第1の通知処理と異なる第2の通知処理を行う
請求項2に記載の通知装置。
【請求項5】
前記第1の通知処理は、第1の補助具の利用を促す通知処理であり、
前記第2の通知処理は、前記乗員の高さが所定高さ以下の場合に適した第2の補助具の利用を促す通知処理である
請求項4に記載の通知装置。
【請求項6】
前記通知部は、前記第1の通知処理を、前記第2の通知処理よりも高い通知強度で実行する
請求項5に記載の通知装置。
【請求項7】
前記乗員検出部は、前記補助具を含む前記乗員の重量を検出可能な重量検出部を更に備え、
前記判定部は、前記重量が所定重量以上か否かを判定し、
前記重量が前記所定重量以上と判定された場合、前記通知部は、前記補助具の使用を促す通知処理を行わない
請求項1に記載の通知装置。
【請求項8】
前記乗員検出部は、前記補助具の使用有無に応じて変化する前記乗員の高さを検出可能な乗員高さ検出部を更に備え、
前記通知部は、前記判定部により、前記高さが所定高さ以上と判定された場合、前記補助具の使用を促す通知処理を行わない
請求項1に記載の通知装置。
【請求項9】
前記乗員の高さは、車内の座席を基準にした前記乗員の頭部の高さである請求項8に記載の通知装置。
【請求項10】
前記車両は、個人利用の運転状態か商用利用の運転状態かを設定可能であり、
前記判定部は、前記個人利用の運転状態の場合に、前記乗員が前記補助具の使用対象か否かを判定する
請求項1に記載の通知装置。
発明の詳細な説明
【技術分野】
【0001】
本発明は、通知装置に関する。
続きを表示(約 1,900 文字)
【背景技術】
【0002】
従来、車内を撮影した画像から、車内の各シートのそれぞれに対して、乗員の有無、乗員の体格及びシートベルト(Child Restraint System;CRS)の装着状態を判定し、判定結果に応じて乗員にシートベルトの装着を促す通知装置が知られている(例えば、特許文献1参照)。また、特許文献1記載の通知装置は、チャイルドシートが設置されているシートを検出すると、そのシートのプリテンショナを作動させないように作動条件を変更する。
【先行技術文献】
【特許文献】
【0003】
特開2016-222145号公報
【発明の概要】
【発明が解決しようとする課題】
【0004】
ところで、身体の小さい子供の場合、チャイルドシート等の補助具を利用することが望まれており、近年、各国でチャイルドシートの着用義務が拡大している。
しかし、従来の技術は、チャイルドシートが設置されていないシートに子供が着座している場合に、チャイルドシートの装着を促すような通知を行うことはできない。
本願は上記課題の解決のため、補助具の使用を促す通知を適切に行うことを目的としたものである。そして、延いては交通の安全性をより一層改善して持続可能な輸送システムの発展に寄与するものである。
【課題を解決するための手段】
【0005】
本開示の一態様は、車両内の乗員を検出可能な乗員検出部と、前記乗員に対して通知を行う通知部と、前記乗員が補助具を使用しているか否かを判定する判定部と、を備える通知装置において、前記乗員検出部は、前記乗員から前記補助具に関わる識別情報を取得し、前記判定部は、前記識別情報に基づき、前記乗員が前記補助具の使用対象か否かを判定し、前記通知部は、前記乗員が前記補助具の使用対象と判定された場合、前記補助具の使用を促す通知処理を行う通知装置である。
【発明の効果】
【0006】
本発明の一態様によれば、補助具の使用を促す通知を適切に行うことができる。
【図面の簡単な説明】
【0007】
図1は、本発明の第1実施形態に係る通知装置を搭載した車両の概要構成を示すである。
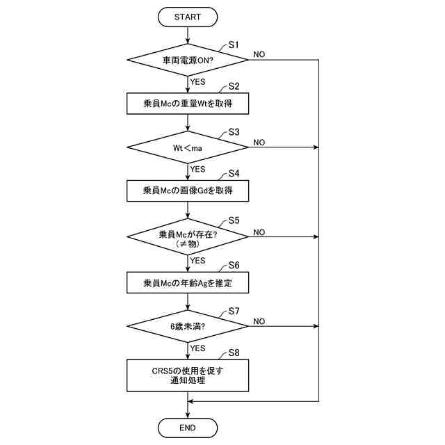
図2は、通知装置の基本動作を示すフローチャートである。
図3は、図2のステップS3の説明に供する図である。
図4は、図2のフローチャートの説明に供する図である。
図5は、第2実施形態に係る通知装置を搭載した車両の概要構成を示す図である。
図6は、第2実施形態に係る通知装置の基本動作を示すフローチャートである。
図7は、時6のステップS7aの説明に供する図である。
図8は、通知装置の基本動作の一部の変形例を示す図である。
図9は、通知装置1の基本動作の一部の変形例を示す図である。
図10は、図9のフローチャートの説明に供する図である。
【発明を実施するための形態】
【0008】
図1は、本発明の第1実施形態に係る通知装置1を搭載した車両100の概要構成を示す図である。
通知装置1は、車両100に備えられたECU10(Electronic Control Unit)の機能の一部と、車内を撮影する撮影装置21と、座席に取り付けられた重量センサ22と、車内の乗員に情報を通知する通知部23と、を備えている。車内には、前席を構成する前シート2Fと、後席を構成する後シート2Rからなる座席が設けられる。
【0009】
撮影装置21は、乗員を撮影するカメラであり、車内の乗員を撮影可能である。本実施形態の撮影装置21は、室内天井に取り付けられ、後シート2R上の乗員(以下、乗員Mcと表記する)を撮影可能である。なお、撮影装置21の位置や数等は適宜に変更してもよい。
【0010】
重量センサ22は、後シート2R上の乗員Mcの重量を検出可能なセンサである。図1に示すように、乗員Mcが身体の小さい子供の場合、子供だけが後シート2R上に存在するケースと、チャイルドシート等の補助具5と子供が後シート2R上に存在するケースがある。重量センサ22は、子供だけが後シート2R上に存在する場合は子供だけの重量を検出し、補助具5と子供が後シート2R上に存在する場合は補助具5と子供の合計重量を検出する。
(【0011】以降は省略されています)
この特許をJ-PlatPat(特許庁公式サイト)で参照する
関連特許
本田技研工業株式会社
装置
26日前
本田技研工業株式会社
車両
12日前
本田技研工業株式会社
車両
12日前
本田技研工業株式会社
車両
5日前
本田技研工業株式会社
車両
27日前
本田技研工業株式会社
車両
13日前
本田技研工業株式会社
車両
13日前
本田技研工業株式会社
飛行体
13日前
本田技研工業株式会社
移動体
14日前
本田技研工業株式会社
モータ
23日前
本田技研工業株式会社
電気機器
13日前
本田技研工業株式会社
排気装置
12日前
本田技研工業株式会社
送電装置
21日前
本田技研工業株式会社
発電セル
12日前
本田技研工業株式会社
ステータ
19日前
本田技研工業株式会社
固体電池
14日前
本田技研工業株式会社
収容装置
13日前
本田技研工業株式会社
会話装置
19日前
本田技研工業株式会社
内燃機関
13日前
本田技研工業株式会社
保持装置
20日前
本田技研工業株式会社
電気機器
13日前
本田技研工業株式会社
断続装置
21日前
本田技研工業株式会社
排気装置
12日前
本田技研工業株式会社
電気部品
13日前
本田技研工業株式会社
除草装置
12日前
本田技研工業株式会社
排気装置
12日前
本田技研工業株式会社
通知装置
26日前
本田技研工業株式会社
固体電池
21日前
本田技研工業株式会社
固体電池
12日前
本田技研工業株式会社
内燃機関
12日前
本田技研工業株式会社
電気機器
14日前
本田技研工業株式会社
バッテリ
20日前
本田技研工業株式会社
バッテリ
20日前
本田技研工業株式会社
内燃機関
26日前
本田技研工業株式会社
内燃機関
26日前
本田技研工業株式会社
保管装置
21日前
続きを見る
他の特許を見る