TOP
|
特許
|
意匠
|
商標
特許ウォッチ
Twitter
他の特許を見る
10個以上の画像は省略されています。
公開番号
2025139718
公報種別
公開特許公報(A)
公開日
2025-09-29
出願番号
2024038702
出願日
2024-03-13
発明の名称
モータ
出願人
本田技研工業株式会社
代理人
弁理士法人クシブチ国際特許事務所
主分類
H02K
1/08 20060101AFI20250919BHJP(電力の発電,変換,配電)
要約
【課題】コイルに過大な負荷が加わることが抑制されたモータを提供する。
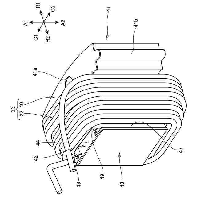
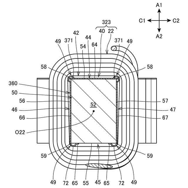
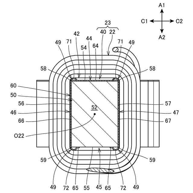
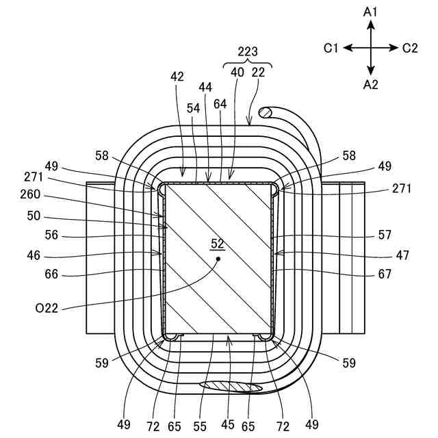
【解決手段】モータは、周囲にコイル(22)が巻回されるコア部(42)を有するステータ(20)を備えるモータにおいて、前記コア部(42)は、前記モータの回転軸方向に指向する面である第1面(44,45、64)と、前記第1面(44,45、64)に連続し前記モータの周方向に指向する面である第2面(46、47、66、67)と、を有し、前記第1面(44,45、64)と前記第2面(46、47、66、67)との境界部に前記コイル(22)側に膨出して前記コイル(22)に接するR部(49、71、72)が形成される。
【選択図】図5
特許請求の範囲
【請求項1】
周囲にコイル(22)が巻回されるコア部(42)を有するステータ(20)を備えるモータにおいて、
前記コア部(42)は、前記モータの回転軸方向に指向する面である第1面(44,45、64)と、前記第1面(44,45、64)に連続し前記モータの周方向に指向する面である第2面(46、47、66、67)と、を有し、
前記第1面(44,45、64)と前記第2面(46、47、66、67)との境界部に前記コイル(22)側に膨出して前記コイル(22)に接するR部(49、71、72、271、371、572)が形成されることを特徴とする、
モータ。
続きを表示(約 770 文字)
【請求項2】
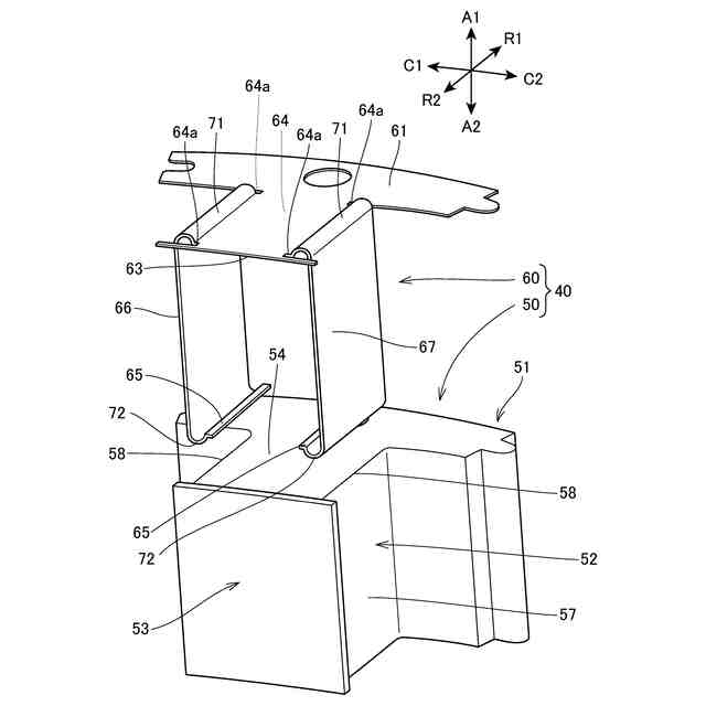
前記コア部(42)は、前記コイル(22)の巻回軸(O22)側に位置する主コア部(52)と、前記主コア部(52)と前記コイル(22)との間に介在する介在部材(60、260、360、460、560)と、を有し、
前記介在部材(60、260、360、460、560)は、前記主コア部(52)の前記回転軸方向の一方の面(54)に接する前記第1面(64)と、前記第1面(64)から連続し前記モータ(1)の前記周方向に指向する面である前記第2面(66、67)と、前記R部(49、71、72、271、371、572)と、を有することを特徴とする、
請求項1に記載のモータ。
【請求項3】
前記第1面(44、45、64)は、前記第2面(46、47、66、67)よりも前記コイル(22)の巻線方向の長さが短く、
前記R部(49、71、72、371)が、前記第1面(44,45、64)で前記回転軸方向に膨出することを特徴とする、
請求項1または2に記載のモータ。
【請求項4】
前記R部(49、271、371、572)が、前記第2面(46、47、66、67)で前記モータ(1)の周方向に膨出することを特徴とする、
請求項1または2に記載のモータ。
【請求項5】
2つの前記R部(49、71、72、271、371、572)の間に、前記コイル(22)側に膨出して前記コイル(22)に接する第2R部(473、573、574、575)が形成されることを特徴とする、
請求項1または2に記載のモータ。
【請求項6】
前記介在部材(60、260、360、460、560)が、磁性体であることを特徴とする、
請求項2に記載のモータ。
発明の詳細な説明
【技術分野】
【0001】
本発明は、モータに関する。
続きを表示(約 1,700 文字)
【背景技術】
【0002】
近年、低炭素社会又は脱炭素社会の実現に向けた取り組みが活発化し、車両においてもCO2排出量の削減やエネルギー効率の改善のために、電動化技術としてのモータに関する研究開発が行われている。
特許文献1には、電磁鋼板を積層することで形成されるモータのステータに関する技術が記載されている。特許文献1は、電磁鋼板を積層方向に束ねる部材を設け、電磁鋼板の積層状態を維持する技術を開示する。具体的には、特許文献1は、ステータのバックヨーク部の軸方向の両面上にそれぞれ配置された加圧部と、バックヨーク部の外周側及び内周側の少なくとも一方を経由して加圧部同士を接続する接続部と、を有する鋼板締結部材を開示する。
特許文献2には、モータのステータとコイルとの間に樹脂製のインシュレータを介在させる技術が記載されている。すなわち、特許文献2は、ステータのティース部とインシュレータとにより、コイルが巻回されるステータのコア部が構成された技術を開示する。
【先行技術文献】
【特許文献】
【0003】
特開2022-55556号公報
特開2013-172478号公報
【発明の概要】
【発明が解決しようとする課題】
【0004】
ところで、モータに関する技術においては、ステータのコア部にはコイルが巻回されるが、コア部の角部とコイルとが接触して角部からコイルが局所的に過大な負荷を受けることが課題である。
本発明は、上述した事情に鑑みてなされたものであり、コイルに過大な負荷が加わることが抑制されたモータを提供することを目的とする。そして、延いてはエネルギー効率の改善に寄与するものである。
【課題を解決するための手段】
【0005】
モータは、周囲にコイルが巻回されるコア部を有するステータを備えるモータにおいて、前記コア部は、前記モータの回転軸方向に指向する面である第1面と、前記第1面に連続し前記モータの周方向に指向する面である第2面と、を有し、前記第1面と前記第2面との境界部に前記コイル側に膨出して前記コイルに接するR部が形成されることを特徴とする。
【発明の効果】
【0006】
コイルに過大な負荷が加わることが抑制されたモータを提供することができる。そして、延いてはエネルギー効率の改善に寄与することができる。
【図面の簡単な説明】
【0007】
本発明の第1の実施の形態に係る電動モータを示す図である。
ステータセグメントの軸方向視を示す図である。
ステータセグメントの斜視図である。
ステータコア部の斜視図である。
図2のV-V線断面図である。
ステータコア部の分解斜視図である。
ステータセグメントの組み付け方法の一例を示す図である。
本発明の第2の実施の形態に係るステータセグメントの断面図である。
本発明の第3の実施の形態に係るステータセグメントの断面図である。
本発明の第4の実施の形態に係るステータセグメントの断面図である。
本発明の第5の実施の形態に係るステータセグメントの断面図である。
【発明を実施するための形態】
【0008】
以下、図面を参照して本発明の実施の形態について説明する。
【0009】
[第1の実施の形態]
図1は、本発明の第1の実施の形態に係る電動モータ1を示す図である。
電動モータ(モータ)1は、ケーシング10と、ケーシング10に収容されたステータ20と、ケーシング10に回転可能に支持されたロータ30と、を備える。
【0010】
ステータ20は、略円筒状のステータコア21を有する。ステータコア21には、周方向に所定の角度間隔でコイル22が巻回されている。本実施の形態では、ステータコア21は、周方向に分割された構造を有する。ステータコア21は、コイル22を有するステータセグメント23が周方向に連なることにより構成される。
(【0011】以降は省略されています)
この特許をJ-PlatPat(特許庁公式サイト)で参照する
関連特許
本田技研工業株式会社
飛行体
2日前
本田技研工業株式会社
回転電機
4日前
本田技研工業株式会社
灯火器構造
2日前
本田技研工業株式会社
冷却液タンク
9日前
本田技研工業株式会社
蓄電システム
11日前
本田技研工業株式会社
回転電機用ロータ
18日前
本田技研工業株式会社
加水分解処理装置
2日前
本田技研工業株式会社
金属シリコンの製造方法
18日前
本田技研工業株式会社
非接触電力伝送システム
11日前
本田技研工業株式会社
水素同位体分離システム
2日前
本田技研工業株式会社
電力変換装置、および車両
10日前
本田技研工業株式会社
積層体、積層体の製造方法
10日前
本田技研工業株式会社
情報処理方法及びプログラム
1か月前
本田技研工業株式会社
軟磁性鋼板およびその製造方法
2日前
本田技研工業株式会社
有機物処理装置および有機物処理方法
2日前
本田技研工業株式会社
有機物処理装置および有機物処理方法
2日前
本田技研工業株式会社
電解システムの制御装置および電解システム
3日前
本田技研工業株式会社
音声認識装置、音声認識方法、及びプログラム
4日前
本田技研工業株式会社
情報処理装置、情報処理方法、およびプログラム
1か月前
本田技研工業株式会社
三次元モデル生成装置及び三次元モデル評価システム
2日前
株式会社ダイセル
アルミニウム合金製摺動部材用潤滑剤
2日前
本田技研工業株式会社
移動体の制御装置、移動体の制御方法、およびプログラム
25日前
本田技研工業株式会社
作動装置
1か月前
本田技研工業株式会社
車両、制御方法、プログラム、記憶媒体、及び情報処理装置
1か月前
本田技研工業株式会社
有機物処理装置、有機物処理方法、および燃料ガスの製造方法
2日前
本田技研工業株式会社
電池の充電状態の補正方法、電池均等化方法、端末機器及び車両
17日前
タイガースポリマー株式会社
二次電池用加圧袋およびその製造方法
2日前
本田技研工業株式会社
熱媒体組み合わせ最適化装置、熱媒体組み合わせ最適化方法、および、熱媒体組み合わせ最適化プログラム
18日前
個人
高圧電気機器の開閉器
18日前
個人
電気を重力で発電装置
1か月前
キヤノン電子株式会社
モータ
1か月前
キヤノン電子株式会社
モータ
1か月前
日星電気株式会社
ケーブル組立体
1か月前
コーセル株式会社
電源装置
1か月前
トヨタ自動車株式会社
モータ
1か月前
株式会社アイドゥス企画
減反モータ
18日前
続きを見る
他の特許を見る