TOP
|
特許
|
意匠
|
商標
特許ウォッチ
Twitter
他の特許を見る
10個以上の画像は省略されています。
公開番号
2025143831
公報種別
公開特許公報(A)
公開日
2025-10-02
出願番号
2024043283
出願日
2024-03-19
発明の名称
バッテリ
出願人
本田技研工業株式会社
代理人
弁理士法人クシブチ国際特許事務所
主分類
H01M
50/291 20210101AFI20250925BHJP(基本的電気素子)
要約
【課題】部品回収時の手間や工数を低減でき、バッテリの部品の再利用が容易なバッテリを提供する。
【解決手段】バッテリは、複数のバッテリセル(21)と、複数の前記バッテリセル(21)を収容する筐体(3)であって複数の前記バッテリセル(21)が固定された固定面(11a)を備える筐体(3)と、を有するバッテリにおいて、前記バッテリセル(21)の間に配置され、前記固定面(11a)から前記バッテリセル(21)の長手方向に延びるセパレータ(40、50、240、250、340、350)を備え、前記固定面(11a)に沿った平面方向に、前記セパレータ(40、50、240、250、340、350)を溶解する溶剤(100)が通過可能な溶剤通過部(S)が形成されている。
【選択図】図12
特許請求の範囲
【請求項1】
複数のバッテリセル(21)と、複数の前記バッテリセル(21)を収容する筐体(3)であって複数の前記バッテリセル(21)が固定された固定面(11a)を備える筐体(3)と、を有するバッテリにおいて、
前記バッテリセル(21)の間に配置され、前記固定面(11a)から前記バッテリセル(21)の長手方向に延びるセパレータ(40、50、240、250、340、350)を備え、
前記固定面(11a)に沿った平面方向に、前記セパレータ(40、50、240、250、340、350)を溶解する溶剤(100)が通過可能な溶剤通過部(S)が形成されていることを特徴とする、
バッテリ。
続きを表示(約 660 文字)
【請求項2】
前記セパレータ(40、50、240、250、340、350)の高さ(H2)は、前記バッテリセル(21)の高さ(H1)よりも低く、
前記溶剤通過部(S)は、前記セパレータ(40、50、240、250、340、350)よりも上方に形成される上側溶剤通過部(S2)を含むことを特徴とする、
請求項1に記載のバッテリ。
【請求項3】
前記溶剤通過部(S)は、前記セパレータ(40、50、240、250、340、350)と前記筐体(3)との間に形成される固定側溶剤通過部(S1)を含むことを特徴とする、
請求項1または2に記載のバッテリ。
【請求項4】
前記溶剤通過部(S)は、前記セパレータ(240、250)を貫通する孔部(S3)を含むことを特徴とする、
請求項1または2に記載のバッテリ。
【請求項5】
前記セパレータ(340、350)は、前記セパレータ(340、350)の長手方向に間隔(S4)をあけて配置され、
前記溶剤通過部(S)は、前記間隔(S4)を含むことを特徴とする、
請求項1または2に記載のバッテリ。
【請求項6】
前記セパレータ(40、50、240、250、340、350)の長手方向の幅内に、前記筐体(3)に固定されて前記セパレータ(40、50、240、250、340、350)を支持する柱部材(60)が設けられることを特徴とする、
請求項1または2に記載のバッテリ。
発明の詳細な説明
【技術分野】
【0001】
本発明は、バッテリに関する。
続きを表示(約 2,400 文字)
【背景技術】
【0002】
近年、廃棄物の発生防止、削減、再生利用及び再利用により、廃棄物の発生の大幅な削減に向けた取り組みが活発化している。この実現に向けて、バッテリの部品の再利用に関する研究開発が行われている。
このようなバッテリの部品の再利用に関する技術として、特許文献1には、バッテリセルが底板に接着剤によって接着されたバッテリにおいて、底板に取り付けられた冷却路にヒータで熱せられた熱媒油を流すことにより、バッテリセルと底板との間の接着剤を軟化させてバッテリセルを取り出すことが開示される。
【先行技術文献】
【特許文献】
【0003】
中国特許出願公開第116487739号明細書
【発明の概要】
【発明が解決しようとする課題】
【0004】
ところで、バッテリの部品の再利用に関する技術においては、バッテリは、底板とバッテリセルとを接続する接着剤以外にも、バッテリセル同士の接触を防止してバッテリセル間の絶縁状態を保つために設けられるセルホルダなど、様々な部品が含まれている。バッテリの分解の方法として、バッテリを溶剤に漬けることにより、セルホルダ等の溶解対象部品を溶解させることで、バッテリセル等の回収したい部品を取り出すことが検討されている。しかしながら、セルホルダでは、溶解の手間や工数を低減できず、バッテリの部品の再利用が容易でないことが課題である。
本発明は、上述した事情に鑑みてなされたものであり、部品回収時の手間や工数を低減でき、バッテリの部品の再利用が容易なバッテリを提供することを目的とする。そして、延いては廃棄物の発生の大幅な削減に寄与するものである。
【課題を解決するための手段】
【0005】
バッテリは、複数のバッテリセルと、複数の前記バッテリセルを収容する筐体であって複数の前記バッテリセルが固定された固定面を備える筐体と、を有するバッテリにおいて、前記バッテリセルの間に配置され、前記固定面から前記バッテリセルの長手方向に延びるセパレータを備え、前記固定面に沿った平面方向に、前記セパレータを溶解する溶剤が通過可能な溶剤通過部が形成されていることを特徴とする。
【発明の効果】
【0006】
部品回収時の手間や工数を低減でき、バッテリの部品の再利用が容易なバッテリを提供することができる。そして、延いては廃棄物の発生の大幅な削減に寄与することができる。
【図面の簡単な説明】
【0007】
第1の実施の形態に係るバッテリユニットの斜視図である。
第1の実施の形態に係るバッテリユニットの平面図である。
第1の実施の形態に係るバッテリ本体のセルコンプの模式図である。
バッテリケースの底面部と格子セパレータとの斜視図である。
バッテリケースの底面部と格子セパレータとの分解斜視図である。
第1セパレータの側面図である。
第1セパレータの第1セパレータ要素の側面図である。
第2セパレータの側面図である。
第2セパレータの第2セパレータ要素の側面図である。
格子セパレータのセパレータ係合部とセパレータ差込溝の周辺部を示す斜視図である。
格子セパレータの柱部材の周辺部を示す要部斜視断面図である。
第1の実施の形態に係る格子セパレータとセルと底面部との関係を示す図である。
バッテリユニットの分解時の説明図である。
従来のセルコンプの説明図である。
第2の実施の形態に係る格子セパレータとセルと底面部との関係を示す図である。
第3の実施の形態に係る格子セパレータとセルと底面部との関係を示す図である。
【発明を実施するための形態】
【0008】
以下、図面を参照して本発明の実施の形態について説明する。図において、符号FRは前方を示し、符号UPは上方を示し、符号LHは左方を示す。
【0009】
[第1の実施の形態]
図1は、第1の実施の形態に係るバッテリユニット1の斜視図である。図2は、第1の実施の形態に係るバッテリユニット1の平面図である。図3は、第1の実施の形態に係るバッテリ本体2のセルコンプ20の模式図である。
バッテリユニット(バッテリ)1は、バッテリ本体2と、バッテリ本体2を収容するバッテリケース3と、バッテリケース3を閉塞するバッテリカバー4と、を有する。
バッテリケース3は、矩形板状の底面部11(図2参照)と、底面部11の前後左右に設けられた略板状の前面部12、後面部13、左面部14、右面部15、を有する。
【0010】
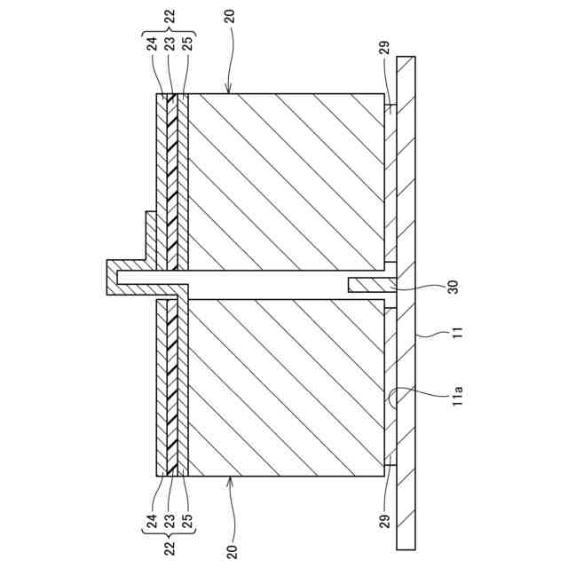
底面部11には、複数のセルコンプ20が固定される。セルコンプ20は、所定個数のセル(バッテリセル)21がユニット化された部材である。セル21は、円柱状である。本実施の形態では、セル21の長手方向を軸方向と称する。セル21は、軸方向一端に正極(正の電極)21a(図12参照)と、負極(負の電極)21b(図12参照)と、を有する。より詳細には、セル21は、軸方向一端において軸中心に正極21aが設けられる。また、セル21は、正極21aから径方向に離間した周囲に負極21bが設けられる。本実施の形態では、セル21は、軸方向が上下方向となるように配置される。セル21は、上下方向に直交する方向に隣り合って配置される。セル21は、上下方向(軸方向)に直交する前後方向(第1方向)および左右方向(第2方向)に隣り合って配置される。第二方向は、第一方向に交差する方向である。
(【0011】以降は省略されています)
この特許をJ-PlatPat(特許庁公式サイト)で参照する
関連特許
本田技研工業株式会社
車両
23日前
本田技研工業株式会社
車両
1か月前
本田技研工業株式会社
車両
1か月前
本田技研工業株式会社
二次電池
26日前
本田技研工業株式会社
触媒装置
26日前
本田技研工業株式会社
固体電池
26日前
本田技研工業株式会社
発電セル
1か月前
本田技研工業株式会社
排気装置
1か月前
本田技研工業株式会社
電動船外機
26日前
本田技研工業株式会社
全固体電池
26日前
本田技研工業株式会社
電極積層体
1か月前
本田技研工業株式会社
鞍乗型車両
1か月前
本田技研工業株式会社
全固体電池
26日前
本田技研工業株式会社
燃料電池装置
1か月前
本田技研工業株式会社
鞍乗り型車両
1か月前
本田技研工業株式会社
始動制御装置
1か月前
本田技研工業株式会社
始動制御装置
1か月前
本田技研工業株式会社
差圧式電解装置
17日前
本田技研工業株式会社
電池モジュール
26日前
本田技研工業株式会社
電池モジュール
26日前
本田技研工業株式会社
電動無段変速装置
19日前
本田技研工業株式会社
回転電機のロータ
16日前
本田技研工業株式会社
駆動装置ユニット
20日前
本田技研工業株式会社
電気部品冷却構造
1か月前
本田技研工業株式会社
スポット溶接方法
3日前
本田技研工業株式会社
燃料電池スタック
1か月前
本田技研工業株式会社
バッテリシステム
26日前
本田技研工業株式会社
バッテリシステム
26日前
本田技研工業株式会社
可変ファンネル装置
1か月前
本田技研工業株式会社
固体電池の製造方法
26日前
本田技研工業株式会社
固体電池の製造方法
26日前
本田技研工業株式会社
固体電池の製造方法
26日前
本田技研工業株式会社
コンデンサユニット
1か月前
本田技研工業株式会社
固体電池の製造方法
26日前
本田技研工業株式会社
二酸化炭素回収装置
26日前
本田技研工業株式会社
再生正極の製造方法
26日前
続きを見る
他の特許を見る