TOP
|
特許
|
意匠
|
商標
特許ウォッチ
Twitter
他の特許を見る
10個以上の画像は省略されています。
公開番号
2025143832
公報種別
公開特許公報(A)
公開日
2025-10-02
出願番号
2024043284
出願日
2024-03-19
発明の名称
バッテリ
出願人
本田技研工業株式会社
代理人
弁理士法人クシブチ国際特許事務所
主分類
H01M
50/569 20210101AFI20250925BHJP(基本的電気素子)
要約
【課題】負荷が抑制された状態で配線部材が固定されたバッテリを提供する。
【解決手段】バッテリは、隣り合って配置される複数のセル(13)と、前記セル(13)に電気的に接続され前記セル(13)の情報に関する信号が導通される配線部材(21)と、を備えるバッテリにおいて、前記配線部材(21)は、前記セル(13)に対して間隔を空けた状態で前記セル(13)が隣り合う方向に配索され、前記セル(13)の間に挿入され前記セル(13)に対して摺動可能な状態で配置される挿入部(23b)と、前記挿入部(23b)に支持されて前記配線部材(21)を支持する支持部(23a)と、を備える土台(23)を有する。
【選択図】図6
特許請求の範囲
【請求項1】
隣り合って配置される複数のセル(13)と、前記セル(13)に電気的に接続され前記セル(13)の情報に関する信号が導通される配線部材(21)と、を備えるバッテリにおいて、
前記配線部材(21)は、前記セル(13)に対して間隔を空けた状態で前記セル(13)が隣り合う方向に配索され、
前記セル(13)の間に挿入され前記セル(13)に対して摺動可能な状態で配置される挿入部(23b)と、前記挿入部(23b)に支持されて前記配線部材(21)を支持する支持部(23a)と、を備える土台(23)を有することを特徴とする、
バッテリ。
続きを表示(約 660 文字)
【請求項2】
前記配線部材(21)の前記セル(13)側には、耐熱部材(22)が重ねられることを特徴とする、
請求項1に記載のバッテリ。
【請求項3】
複数の前記セル(13)は、所定の第1方向および前記第1方向に交差する第2方向に隣り合い、
前記挿入部(23b)は、挿入方向に対して前記第1方向に延出する第1延出部(23b1)と、前記第2方向に延出する第2延出部(23b2)と、を備えることを特徴とする、
請求項1または2に記載のバッテリ。
【請求項4】
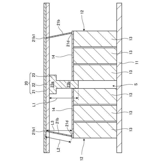
前記配線部材(21)は、前記セル(13)が隣り合う方向に沿って配索される本体部(21a)と、前記本体部(21a)から前記セル(13)に向かって延び、前記セル(13)の電極に接続されるバスバー(14)に、または、前記セル(13)に接続される複数の延出部(21b)と、を有し、
前記土台(23)の挿入方向の長さ(L1)は、前記挿入方向に交差する方向視で前記土台(23)を挟む前記延出部(21b)が伸びきった状態における前記延出部(21b)の前記本体部(21a)との接続部(21b1)と前記バスバー(14)または前記セル(13)との距離(L3)よりも長いことを特徴とする、
請求項1または2に記載のバッテリ。
【請求項5】
前記延出部(21b)の長さ(L2)は、前記土台(23)の挿入方向の長さ(L1)よりも短いことを特徴とする、
請求項4に記載のバッテリ。
発明の詳細な説明
【技術分野】
【0001】
本発明は、バッテリに関する。
続きを表示(約 1,900 文字)
【背景技術】
【0002】
近年、より多くの人々が手ごろで信頼でき、持続可能かつ先進的なエネルギーへのアクセスを確保できるようにするため、エネルギーの効率化に貢献する二次電池に関する研究開発が行われている。
このような二次電池に関する技術として、特許文献1には、電池パックに、セルの温度や電圧を監視するための信号を収集する信号収集ハーネスを固定する技術が記載されている。特許文献1では、セル防爆弁上に配索される信号収集ハーネスの収集線に対して、収集線の下側に支持板を設け、この支持板に収集線を束ねる保護カバーを固定すると共に、支持板を電池パック上に貼り付けることにより、信号収集ハーネスの電池パックへの固定実装を実現している。
【先行技術文献】
【特許文献】
【0003】
中国実用新案第217848253号明細書
【発明の概要】
【発明が解決しようとする課題】
【0004】
ところで、二次電池に関する技術においては、セルの取り付け公差等の影響でセル毎にセルの表面の位置が異なる場合がある。このため、特許文献1に記載の技術においては、支持板が、セルにより構成される電池パック上に十分に固定できない可能性があったり、信号収集ハーネスが屈曲して信号収集ハーネスの一部に負荷が加わる可能性があったりすることが課題である。
本発明は、上述した事情に鑑みてなされたものであり、負荷が抑制された状態で配線部材が固定されたバッテリを提供することを目的とする。そして、延いてはエネルギーの効率化に寄与するものである。
【課題を解決するための手段】
【0005】
バッテリは、隣り合って配置される複数のセルと、前記セルに電気的に接続され前記セルの情報に関する信号が導通される配線部材と、を備えるバッテリにおいて、前記配線部材は、前記セルに対して間隔を空けた状態で前記セルが隣り合う方向に配索され、前記セルの間に挿入され前記セルに対して摺動可能な状態で配置される挿入部と、前記挿入部に支持されて前記配線部材を支持する支持部と、を備える土台を有することを特徴とする。
【発明の効果】
【0006】
負荷が抑制された状態で配線部材が固定されたバッテリを提供することができる。そして、延いてはエネルギーの効率化に寄与するものである。
【図面の簡単な説明】
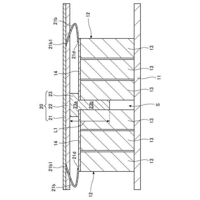
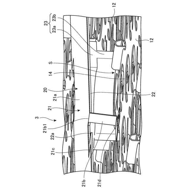
【0007】
実施の形態に係るバッテリユニットの斜視図である。
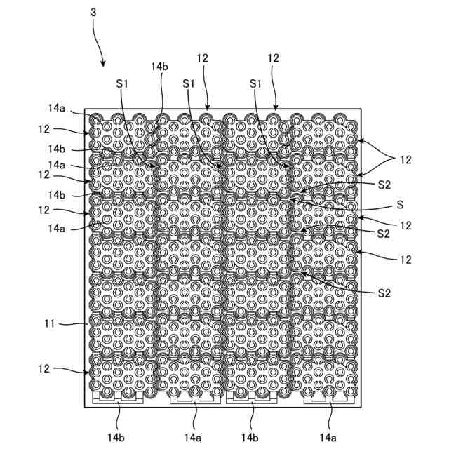
実施の形態に係るバッテリ本体の平面図である。
実施の形態に係る帯状体の分解斜視図である。
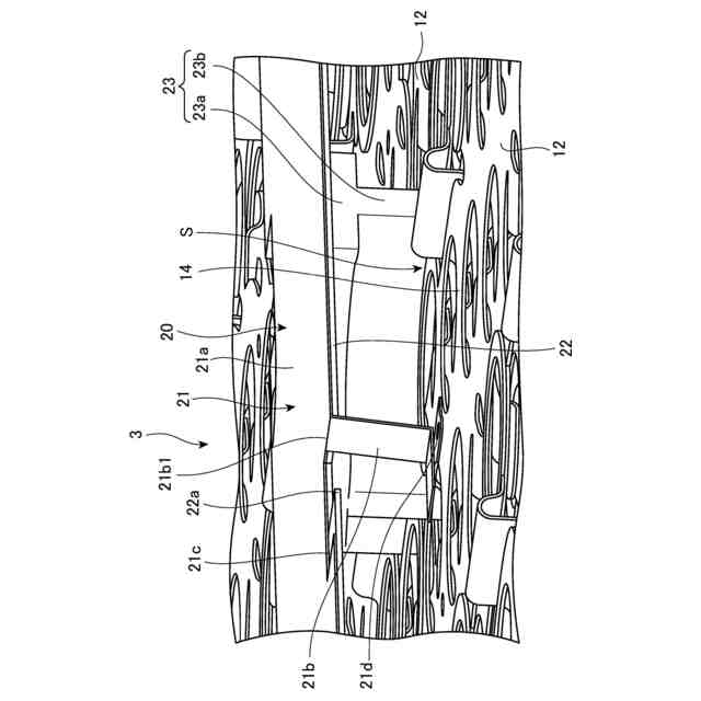
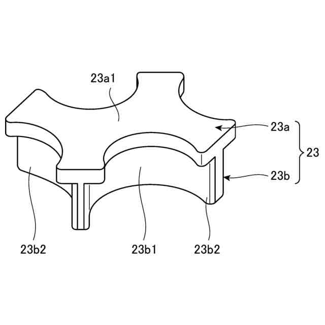
実施の形態に係る土台の斜視図である。
セルコンプの間の隙間と土台との関係を模式的に示す図である。
バッテリ本体の土台の周辺の拡大斜視図である。
土台が挿入位置にある場合の帯状体とセルコンプとの位置関係を示す模式図である。
土台が規制位置にある場合の帯状体とセルコンプとの位置関係を示す模式図である。
本実施の形態の帯状体とセルコンプとの位置関係を示す模式図である。
比較例の帯状体とセルコンプとの位置関係を示す模式図である。
【発明を実施するための形態】
【0008】
以下、図面を参照して本発明の実施の形態について説明する。
【0009】
[実施の形態]
図1は、実施の形態に係るバッテリユニット1の斜視図である。
バッテリユニット(バッテリ)1は、外観直方体状のハウジング2を有する。ハウジング2の内部には、バッテリ本体3が収容される。
【0010】
バッテリ本体3は、矩形板状のベース板11を有する。ベース板11には、複数のセルコンプ12が固定される。
セルコンプ12は、所定個数のセル13がユニット化された部材である。セル13は、円柱状である。本実施の形態では、セル13の長手方向を軸方向と称する。セル13は、軸方向一端に正極(正の電極)と、負極(負の電極)と、を有する。より詳細には、セル13は、軸方向一端において軸中心に正極が設けられる。また、セル13は、正極から径方向に離間した周囲に負極が設けられる。本実施の形態では、セル13は、軸方向が上下方向となるように配置される。セル13は、上下方向に直交する方向に隣り合って配置される。セル13は、上下方向(軸方向)に直交する前後方向(第1方向)および左右方向(第2方向)に隣り合って配置される。第二方向は、第一方向に交差する方向である。
(【0011】以降は省略されています)
この特許をJ-PlatPat(特許庁公式サイト)で参照する
関連特許
本田技研工業株式会社
配車装置及び配車方法
1日前
本田技研工業株式会社
制御装置、及び車両
1日前
個人
安全なNAS電池
29日前
東レ株式会社
多孔質炭素シート
24日前
日本発條株式会社
積層体
5日前
エイブリック株式会社
半導体装置
26日前
ローム株式会社
半導体装置
3日前
キヤノン株式会社
電子機器
24日前
ローム株式会社
半導体装置
24日前
ローム株式会社
半導体装置
3日前
エイブリック株式会社
半導体装置
26日前
ローム株式会社
半導体装置
3日前
ローム株式会社
半導体装置
1日前
個人
防雪防塵カバー
5日前
株式会社GSユアサ
蓄電装置
1日前
東レ株式会社
ガス拡散層の製造方法
24日前
株式会社GSユアサ
蓄電装置
5日前
株式会社ティラド
面接触型熱交換器
16日前
株式会社ホロン
冷陰極電子源
1日前
ニチコン株式会社
コンデンサ
17日前
ニチコン株式会社
コンデンサ
17日前
個人
半導体パッケージ用ガラス基板
4日前
太陽誘電株式会社
全固体電池
1日前
TDK株式会社
電子部品
1日前
日本特殊陶業株式会社
保持装置
3日前
日本特殊陶業株式会社
保持装置
1か月前
ローム株式会社
電子装置
5日前
日本特殊陶業株式会社
保持装置
5日前
マクセル株式会社
配列用マスク
16日前
日本特殊陶業株式会社
保持装置
1日前
日本特殊陶業株式会社
保持装置
1日前
株式会社ヨコオ
コネクタ
26日前
トヨタ自動車株式会社
二次電池
5日前
東レエンジニアリング株式会社
実装装置
1日前
日本特殊陶業株式会社
電極
1日前
住友電装株式会社
コネクタ
5日前
続きを見る
他の特許を見る