TOP
|
特許
|
意匠
|
商標
特許ウォッチ
Twitter
他の特許を見る
公開番号
2025146491
公報種別
公開特許公報(A)
公開日
2025-10-03
出願番号
2024047312
出願日
2024-03-22
発明の名称
配車装置及び配車方法
出願人
本田技研工業株式会社
代理人
弁理士法人クシブチ国際特許事務所
主分類
G08G
1/123 20060101AFI20250926BHJP(信号)
要約
【課題】利用者の利便性を向上させた配車装置及び配車方法を提供する。
【解決手段】配車サーバ500は、乗車地点と、車両30の車内で利用するコンテンツ情報と、を少なくとも含む配車要求を端末装置100から受信する配車通信部510と、車両30の運行スケジュールを管理し、配車要求に基づいて配車可能な車両30を抽出する管理部553と、配車通信部510を制御して、抽出した車両30に関する車両情報を含む配車情報を端末装置100に送信する通信制御部551と、を備える。
【選択図】図2
特許請求の範囲
【請求項1】
乗車地点と、車両の車内で利用するコンテンツ情報と、を少なくとも含む配車要求を端末装置から受信する通信部と、
前記車両の運行スケジュールを管理し、前記配車要求に基づいて配車可能な前記車両を抽出する管理部と、
前記通信部を制御して、抽出した前記車両に関する車両情報を含む配車情報を前記端末装置に送信する通信制御部と、
を備える、配車装置。
続きを表示(約 1,900 文字)
【請求項2】
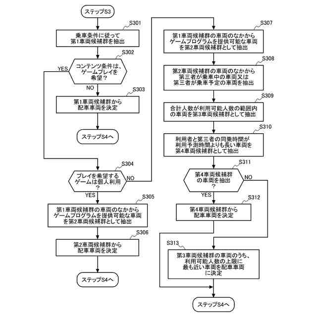
前記管理部は、前記コンテンツ情報に基づいて、個人で利用する個人用コンテンツと、複数人で利用する複数人用コンテンツと、を区別し、
前記コンテンツ情報のコンテンツが前記個人用コンテンツである場合、前記コンテンツ情報に対応する個人用コンテンツが使用可能であり、第三者が使用していないことを条件として前記車両を抽出し、
前記コンテンツ情報のコンテンツが前記複数人用コンテンツである場合、前記コンテンツ情報に対応する複数人用コンテンツが使用可能であることを条件として前記車両を抽出する、
請求項1記載の配車装置。
【請求項3】
前記管理部は、前記コンテンツ情報に基づいて、個人で利用する個人用コンテンツと、複数人で利用する複数人用コンテンツと、を区別し、
前記コンテンツ情報のコンテンツが前記複数人用コンテンツである場合、第三者が乗車している車両又は前記第三者が乗車予定の車両を、前記端末装置の利用者が単独で使用可能な車両より優先して抽出する、
請求項1記載の配車装置。
【請求項4】
前記管理部は、前記コンテンツ情報に基づいて、個人で利用する個人用コンテンツと、複数人で利用する複数人用コンテンツと、を区別し、
前記コンテンツ情報のコンテンツが前記複数人用コンテンツである場合、第三者が乗車している車両又は前記第三者が乗車予定の車両であって、前記端末装置の利用者と前記第三者の前記車両への乗車時間が、前記複数人用コンテンツの利用予測時間より長いことを条件として前記車両を抽出する、
請求項1記載の配車装置。
【請求項5】
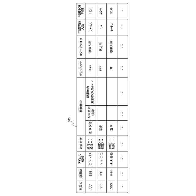
前記複数人用コンテンツは、利用可能人数の情報を含み、
前記管理部は、前記コンテンツ情報に基づいて、個人で利用する個人用コンテンツと、複数人で利用する複数人用コンテンツと、を区別し、前記コンテンツ情報のコンテンツが前記複数人用コンテンツである場合、第三者が乗車している車両又は前記第三者が乗車予定の車両であって、前記端末装置の利用者と前記第三者との合計人数が、前記利用可能人数以内である前記車両を抽出し、
前記合計人数が前記利用可能人数の上限に一致する前記車両を優先して抽出する、
請求項1記載の配車装置。
【請求項6】
前記配車要求は、前記端末装置の利用者を識別する利用者識別情報を含み、
前記配車装置は、前記利用者識別情報と、前記利用者に関する利用者情報と、を対応づけて記憶する記憶部を備え、
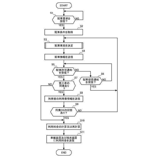
前記管理部は、前記配車情報を送信した前記端末装置から、前記車両情報に対応する前記車両の配車を許可する許可情報を受信した場合であって、前記端末装置の利用者と、第三者とが前記車両に同乗する場合、前記第三者の前記端末装置に前記利用者情報を送信する、
請求項1記載の配車装置。
【請求項7】
前記記憶部は、コンテンツの利用履歴を含む前記利用者情報を記憶し、
前記管理部は、前記第三者の端末装置に前記利用履歴を含む前記利用者情報を送信する、
請求項6記載の配車装置。
【請求項8】
前記配車装置は、利用金額を算出する料金算出部を備え、
前記料金算出部は、前記車両に、前記端末装置の利用者と第三者とが同乗する場合に、前記利用者及び前記第三者の利用金額をそれぞれ算出し、
前記通信制御部は、算出した前記利用金額を前記利用者の前記端末装置と、前記第三者の端末装置とにそれぞれ送信し、
前記第三者が前記車両に乗車済みである場合、前記第三者の利用金額を前記車両に送信する、
請求項6記載の配車装置。
【請求項9】
前記料金算出部は、前記利用者と前記第三者とが同乗する同乗区間の運賃と、前記コンテンツ情報が示すコンテンツの利用料と、を前記車両に同乗する前記利用者及び前記第三者の人数に基づいて算出する、
請求項8記載の配車装置。
【請求項10】
配車装置が備えるプロセッサが、
乗車地点と、車両の車内で利用するコンテンツ情報と、を少なくとも含む配車要求を端末装置から受信する受信ステップと、
前記車両の運行スケジュールを管理し、前記配車要求に基づいて配車可能な前記車両を抽出する抽出ステップと、
抽出した前記車両に関する車両情報を含む配車情報を前記端末装置に送信する送信ステップと、
を実行する、配車方法。
発明の詳細な説明
【技術分野】
【0001】
本発明は、配車装置及び配車方法に関する。
続きを表示(約 1,500 文字)
【背景技術】
【0002】
近年、交通参加者の中でも脆弱な立場にある人々にも配慮した持続可能な輸送システムへのアクセスを提供する取り組みが活発化している。この実現に向けて配車サービスに関する研究開発を通して交通の安全性や利便性をより一層改善する研究開発に注力している。
【0003】
例えば、特許文献1では、相乗りする乗客同士のコミュニケーションを促進する配車サーバ装置が開示されている。特許文献1に開示の配車サーバは、乗車予定位置が所定条件を満たし、かつ、利用目的情報が一致すると判断された端末装置に対して、相乗り可能であることを含む配車情報を通信部から送信させる制御部を備えている。
【先行技術文献】
【特許文献】
【0004】
特開2022-138417号公報
【発明の概要】
【発明が解決しようとする課題】
【0005】
ところで、配車サービスにおいては、映画やゲーム等のさまざまなコンテンツの提供が可能になってきており、これらのコンテンツの提供を通じて利用者の車内での快適性を如何に向上させるかという課題がある。
本願は上記課題の解決のため、車内での快適性を高め、利用者の利便性を高めることを目的としたものである。そして、延いては持続可能な輸送システムの発展に寄与するものである。
【課題を解決するための手段】
【0006】
上記目的を達成するための第1態様として、乗車地点と、車両の車内で利用するコンテンツ情報と、を少なくとも含む配車要求を端末装置から受信する通信部と、前記車両の運行スケジュールを管理し、前記配車要求に基づいて配車可能な前記車両を抽出する管理部と、前記通信部を制御して、抽出した前記車両に関する車両情報を含む配車情報を前記端末装置に送信する通信制御部と、を備える配車装置が挙げられる。
【0007】
上記配信装置において、前記コンテンツ情報は、個人で利用する個人用コンテンツと、複数人で利用する複数人用コンテンツと、を識別する識別情報を含み、前記管理部は、前記識別情報が前記個人用コンテンツを示す場合、前記コンテンツ情報が示す個人用コンテンツが使用可能であり、第三者が使用していないことを条件として前記車両を抽出し、前記識別情報が複数人用コンテンツを示す場合、前記コンテンツ情報が示す複数人用コンテンツが使用可能であることを条件として前記車両を抽出する構成としてもよい。
【0008】
上記配信装置において、前記管理部は、前記識別情報が前記複数人用コンテンツを示す場合、第三者が乗車している車両又は前記第三者が乗車予定の車両を、前記端末装置の利用者が単独で使用可能な車両より優先して抽出する構成としてもよい。
【0009】
上記配信装置において、前記管理部は、前記識別情報が前記複数人用コンテンツを示す場合、第三者が乗車している車両又は前記第三者が乗車予定の車両であって、前記端末装置の利用者と前記第三者の前記車両への乗車時間が、前記複数人用コンテンツの利用予測時間より長いことを条件として前記車両を抽出する構成としてもよい。
【0010】
上記配信装置において、前記複数人用コンテンツは、利用可能人数の情報を含み、前記管理部は、前記識別情報が複数人用コンテンツを示す場合、第三者が乗車している車両又は前記第三者が乗車予定の車両であって、前記端末装置の利用者と前記第三者との合計人数が、前記利用可能人数以内である前記車両を抽出し、前記合計人数が前記利用可能人数の上限に一致する前記車両を優先して抽出する構成としてもよい。
(【0011】以降は省略されています)
この特許をJ-PlatPat(特許庁公式サイト)で参照する
関連特許
日本精機株式会社
警報システム
1か月前
個人
自動電動車椅子
16日前
エムケー精工株式会社
車両誘導装置
1か月前
スズキ株式会社
運転支援装置
1か月前
ニッタン株式会社
検知器
24日前
ニッタン株式会社
検知器
24日前
株式会社国際電気
防災システム
1か月前
ニッタン株式会社
検知器
26日前
個人
磁気路上での車両の路線離脱防御
5日前
ニッタン株式会社
検知器
2日前
大阪瓦斯株式会社
音声出力システム
1日前
株式会社SUBARU
運転支援装置
3日前
株式会社小糸製作所
移動体検出装置
26日前
日本信号株式会社
異常走行検出装置
9日前
トヨタ自動車株式会社
サーバ
9日前
株式会社CCT
通信装置及び表示方法
2日前
三菱自動車工業株式会社
制御システム
1日前
日本精機株式会社
報知装置及び報知システム
15日前
株式会社小糸製作所
車両検出システム
26日前
能美防災株式会社
火災感知器
29日前
本田技研工業株式会社
物体検出装置
1か月前
能美防災株式会社
非常伝達装置
1か月前
ヨシモトポール株式会社
接近報知システム
29日前
株式会社豊田中央研究所
注意喚起装置
17日前
シャープ株式会社
駐車制御装置
8日前
パイオニア株式会社
情報処理装置
5日前
株式会社アイシン
運転支援装置
1日前
古野電気株式会社
航路計画システム及び航路計画方法
1か月前
株式会社 ミックウェア
追従移動支援装置、端末装置
8日前
愛知製鋼株式会社
マーカシステム及び制御方法
1か月前
パイオニア株式会社
情報処理装置
5日前
ALSOK株式会社
警備システム及び警備方法
16日前
トヨタ自動車株式会社
方法
1か月前
株式会社京三製作所
横断歩道誘導システム
29日前
能美防災株式会社
炎検知器
1か月前
四国計測工業株式会社
計測システム
9日前
続きを見る
他の特許を見る