TOP
|
特許
|
意匠
|
商標
特許ウォッチ
Twitter
他の特許を見る
10個以上の画像は省略されています。
公開番号
2025147010
公報種別
公開特許公報(A)
公開日
2025-10-03
出願番号
2025129507,2023059050
出願日
2025-08-01,2023-03-31
発明の名称
制御装置、及び車両
出願人
本田技研工業株式会社
代理人
弁理士法人大塚国際特許事務所
主分類
B60W
50/02 20120101AFI20250926BHJP(車両一般)
要約
【課題】走行中における運転支援機能の更新を禁止すること。
【解決手段】運転支援機能を有する車両の制御装置は、サーバと通信する通信部と、有効化された運転支援機能に基づいて車両を制御する制御部と、車両の走行状態を検出する検出部と、を備える。通信部が、車両の走行中に、サーバから運転支援機能を無効にする更新情報を受信した場合に、制御部は、有効化された運転支援機能の無効化を禁止する。
【選択図】図9
特許請求の範囲
【請求項1】
運転支援機能を有する車両の制御装置であって、
サーバと通信する通信部と、
有効化された運転支援機能に基づいて前記車両を制御する制御部と、
前記車両の走行状態を検出する検出部と、を備え、
前記通信部が、前記車両の走行中に、前記サーバから前記運転支援機能を無効にする更新情報を受信した場合に、
前記制御部は、前記有効化された運転支援機能の無効化を禁止することを特徴とする制御装置。
続きを表示(約 620 文字)
【請求項2】
前記制御部は、前記検出部により前記車両の走行終了が検出された場合に、前記無効化の禁止を解除して、前記運転支援機能を無効化することを特徴とする請求項1に記載の制御装置。
【請求項3】
前記検出部には、前記車両の車速を検出する車速センサ、前記車両のシフトポジションを検出するシフトポジションセンサ、前記車両の起動開始または前記車両の起動停止を検出する起動センサ、前記車両のサイドブレーキが作動された状態であるかを検出するサイドブレーキセンサが含まれ、
前記車速がゼロになった状態、
前記シフトポジションがパーキングレンジにシフトした状態、
前記車両の起動停止が検出された状態、
前記サイドブレーキの作動が検出された状態、のうち少なくとも一つの状態が検出された場合に、前記制御部は、前記車両の走行終了が検出されたと判定し、前記無効化の禁止を解除して、前記運転支援機能を無効化することを特徴とする請求項2に記載の制御装置。
【請求項4】
前記制御部は、前記車両の走行終了が検出されたのち、所定時間の経過まで、前記運転支援機能の無効化を禁止し、前記所定時間の経過後に、前記無効化の禁止を解除して、前記運転支援機能を無効化することを特徴とする請求項2に記載の制御装置。
【請求項5】
請求項1乃至4のいずれか1項に記載の制御装置を有する車両。
発明の詳細な説明
【技術分野】
【0001】
本発明は制御装置、及び車両に関する。
続きを表示(約 1,900 文字)
【背景技術】
【0002】
近年、交通参加者の中でも脆弱な立場にある人々にも配慮した持続可能な輸送システムへのアクセスを提供する取り組みが活発化している。この実現に向けて運転支援技術に関する研究開発を通して交通の安全性や利便性をより一層改善する研究開発に注力している。OTA(Over-The-Air)アップデートによって、車両購入後に所望の車両機能(例えば、運転支援機能など)を購入可能とし、購入された機能をユーザが実行できるよう当該車両をアップデートするビジネスが検討されている。これらの車両機能は、アップデートにより有効化されることだけでなく、例えば、お試し期間が経過した場合にアップデートによって無効化されることもある。したがって、ユーザ情報に対して車両機能の有効・無効情報を紐づけた情報をサーバで管理し、有効・無効情報に更新があった場合には、サーバから車両に対して更新情報を送信して、当該車両の機能を有効化又は無効化することが考えられる。
【先行技術文献】
【特許文献】
【0003】
特開2022-57228号公報
【発明の概要】
【発明が解決しようとする課題】
【0004】
ところで、車両の走行開始後、お試し期間が過ぎたことでサーバが管理する有効・無効情報が有効から無効に切り替えられると、運転支援機能を無効にする更新情報が車両に送信され、その更新情報に従って、走行中に運転支援機能の無効化が即座に行われると好ましくない場合も生じ得る。
【0005】
本発明は、上記課題の解決のため、走行中における運転支援機能の更新を禁止することが可能な制御技術の提供を目的とする。そして、延いては持続可能な輸送システムの発展に寄与するものである。
【課題を解決するための手段】
【0006】
本発明の一態様に係る制御装置は、運転支援機能を有する車両の制御装置であって、サーバと通信する通信部と、
有効化された運転支援機能に基づいて前記車両を制御する制御部と、
前記車両の走行状態を検出する検出部と、を備え、
前記通信部が、前記車両の走行中に、前記サーバから前記運転支援機能を無効にする更新情報を受信した場合に、
前記制御部は、前記有効化された運転支援機能の無効化を禁止する。
【発明の効果】
【0007】
本発明によれば、走行中における運転支援機能の更新を禁止することが可能となる。
【図面の簡単な説明】
【0008】
車両制御システムの基本構成を示す図。
情報端末装置の基本構成を示すブロック図。
サーバの基本構成を示すブロック図。
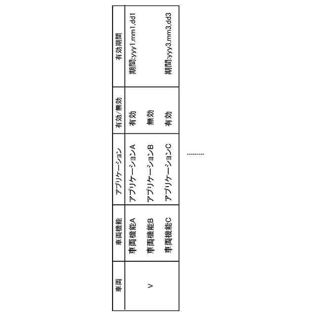
サーバに記憶されている各種のアプリケーションを例示する図。
実施形態に係る車両および制御装置のブロック図。
運転支援機能における状態遷移を示す図。
制御装置の基本構成を示すブロック図。
記憶部に記憶されている各種のアプリケーションを例示する図。
車両Vの起動時における制御装置の処理の流れを説明する図。
車両Vの走行時における制御装置の処理の流れを説明する図。
車両Vの走行時における制御装置の処理の流れを説明する図。
【発明を実施するための形態】
【0009】
以下、添付図面を参照して実施形態を詳しく説明する。なお、以下の実施形態は特許請求の範囲に係る発明を限定するものでなく、また実施形態で説明されている特徴の組み合わせの全てが発明に必須のものとは限らない。実施形態で説明されている複数の特徴のうち二つ以上の特徴が任意に組み合わされてもよい。また、同一若しくは同様の構成には同一の参照番号を付し、重複した説明は省略する。
【0010】
(車両制御システムの構成)
図1は、車両制御システムSTMの基本構成を例示する図であり、車両制御システムSTMは、車両Vと、情報端末装置TMと、サーバSVとを有する。情報端末装置TMは、車両Vの車両機能を購入するためのコンテンツを表示部に表示(提供)することが可能である。また、サーバSVは、車両V及び情報端末装置TMと通信可能であり、車両Vとユーザとの情報を内部の情報保持部(図3AのSV1)に保持する。サーバSVの情報保持部SV1をネットワーク(クラウド)NET上の記憶装置として配置してもよい。
(【0011】以降は省略されています)
この特許をJ-PlatPat(特許庁公式サイト)で参照する
関連特許
本田技研工業株式会社
車両
9日前
本田技研工業株式会社
装置
8日前
本田技研工業株式会社
モータ
5日前
本田技研工業株式会社
内燃機関
8日前
本田技研工業株式会社
電解装置
16日前
本田技研工業株式会社
断続装置
3日前
本田技研工業株式会社
会話装置
1日前
本田技研工業株式会社
送電装置
3日前
本田技研工業株式会社
受電装置
3日前
本田技研工業株式会社
車両構造
5日前
本田技研工業株式会社
ステータ
1日前
本田技研工業株式会社
車両構造
5日前
本田技研工業株式会社
保持装置
2日前
本田技研工業株式会社
固体電池
3日前
本田技研工業株式会社
バッテリ
2日前
本田技研工業株式会社
内燃機関
8日前
本田技研工業株式会社
保管装置
3日前
本田技研工業株式会社
回転機械
1か月前
本田技研工業株式会社
バッテリ
2日前
本田技研工業株式会社
通知装置
8日前
本田技研工業株式会社
保管装置
3日前
本田技研工業株式会社
ロボット
1か月前
本田技研工業株式会社
切断装置
1日前
本田技研工業株式会社
リンク機構
1日前
本田技研工業株式会社
リアクトル
8日前
本田技研工業株式会社
鞍乗型車両
15日前
本田技研工業株式会社
車両制御装置
9日前
本田技研工業株式会社
固体二次電池
15日前
本田技研工業株式会社
鞍乗り型車両
25日前
本田技研工業株式会社
潤滑システム
15日前
本田技研工業株式会社
放電処理方法
3日前
本田技研工業株式会社
鞍乗り型車両
2日前
本田技研工業株式会社
車両制御装置
17日前
本田技研工業株式会社
潤滑システム
3日前
本田技研工業株式会社
動力伝達装置
1か月前
本田技研工業株式会社
車両制御装置
15日前
続きを見る
他の特許を見る