TOP
|
特許
|
意匠
|
商標
特許ウォッチ
Twitter
他の特許を見る
10個以上の画像は省略されています。
公開番号
2025144471
公報種別
公開特許公報(A)
公開日
2025-10-02
出願番号
2024044271
出願日
2024-03-19
発明の名称
鞍乗り型車両
出願人
本田技研工業株式会社
代理人
弁理士法人クシブチ国際特許事務所
主分類
B62J
23/00 20060101AFI20250925BHJP(鉄道以外の路面車両)
要約
【課題】フロントカウルへの走行風の張り付きを抑制しながら、ウィンカの視認性を向上させた鞍乗り型車両を提供する。
【解決手段】鞍乗り型車両は、ヘッドライト(31)と、ヘッドライト(31)よりも車体上下方向で上方に配置される左右一対のウィンカ(37)と、ヘッドライト(31)の上部を覆い左右一対のウィンカ(37)の間に位置するフロントトップカバー(51)と、を備える鞍乗り型車両において、フロントトップカバー(51)は、ヘッドライト(31)とウィンカ(37)とを区画する区画部(51e)を有し、左右一対のウィンカ(37)は、フロントトップカバー(51)の表面よりも上方に突出するように配設され、区画部(51e)の前端(51e1)は、ヘッドライト(31)との間に隙間(S1)を設け、区画部(51e)の後端(51e2)は、ウィンカ(37)との間に隙間(S2)を設ける。
【選択図】図2
特許請求の範囲
【請求項1】
フロントカウル(41)の前部に設けられるヘッドライト(31)と、前記ヘッドライト(31)よりも車体上下方向で上方に配置される左右一対のウィンカ(37)と、前記ヘッドライト(31)の上部を覆い左右一対の前記ウィンカ(37)の間に位置するフロントトップカバー(51)と、を備える鞍乗り型車両において、
前記フロントトップカバー(51)は、前記ヘッドライト(31)と前記ウィンカ(37)とを区画する区画部(51e)を有し、
左右一対の前記ウィンカ(37)は、前記フロントトップカバー(51)の表面よりも上方に突出するように配設され、
前記区画部(51e)の前端(51e1)は、前記ヘッドライト(31)との間に隙間(S1)を設け、
前記区画部(51e)の後端(51e2)は、前記ウィンカ(37)との間に隙間(S2)を設ける
ことを特徴とする鞍乗り型車両。
続きを表示(約 530 文字)
【請求項2】
前記区画部(51e)の裏面には、走行風(W2)を案内するガイド(70)が設けられる
ことを特徴とする請求項1に記載の鞍乗り型車両。
【請求項3】
前記ガイド(70)は、少なくとも二つの第1リブ(71、72)から構成される
ことを特徴とする請求項2に記載の鞍乗り型車両。
【請求項4】
前記ウィンカ(37)は、車体正面視において、前記ヘッドライト(31)の上部左右端(31a)よりも車幅方向外側に位置し、
前記ガイド(70)は、ガイド方向中途部で屈曲して前記ウィンカ(37)に向かって指向する
ことを特徴とする請求項2または3に記載の鞍乗り型車両。
【請求項5】
前記区画部(51e)の裏面には、前記ガイド(70)の前記ウィンカ(37)側に、第2リブ(73)が設けられる
ことを特徴とする請求項2または3に記載の鞍乗り型車両。
【請求項6】
前記区画部(51e)の後端(51e2)の面と前記ウィンカ(37)の前面とは、上方に向かって窄まるテーパー形状をなす
ことを特徴とする請求項1から3のいずれかに記載の鞍乗り型車両。
発明の詳細な説明
【技術分野】
【0001】
本発明は、鞍乗り型車両に関する。
続きを表示(約 1,900 文字)
【背景技術】
【0002】
従来、フロントカウルにヘッドライトを備え、ヘッドライトの上方左右にウィンカを配設し、左右のウィンカの間にフロントトップカバーを有する鞍乗り型車両が知られている(例えば、特許文献1参照)。
【先行技術文献】
【特許文献】
【0003】
特許第6389218号公報
【発明の概要】
【発明が解決しようとする課題】
【0004】
一般に、鞍乗り型車両では、走行風が、フロントカウルに張り付いた状態となることが知られており、フロントカウルに突出形状を設けた場合には、張り付いた走行風により、バンクがし難くなることが知られている。特許文献1に記載のような鞍乗り型車両においては、ウィンカの視認性を向上させるためにウィンカを周囲に対する突出形状とすることが考えられるが、上述の走行風の張り付きの課題が生じる。
本発明は、上述した事情に鑑みてなされたものであり、フロントカウルへの走行風の張り付きを抑制しながら、ウィンカの視認性を向上させた鞍乗り型車両を提供することを目的とする。
【課題を解決するための手段】
【0005】
鞍乗り型車両は、フロントカウルの前部に設けられるヘッドライトと、前記ヘッドライトよりも車体上下方向で上方に配置される左右一対のウィンカと、前記ヘッドライトの上部を覆い左右一対の前記ウィンカの間に位置するフロントトップカバーと、を備える鞍乗り型車両において、前記フロントトップカバーは、前記ヘッドライトと前記ウィンカとを区画する区画部を有し、左右一対の前記ウィンカは、前記フロントトップカバーの表面よりも上方に突出するように配設され、前記区画部の前端は、前記ヘッドライトとの間に隙間を設け、前記区画部の後端は、前記ウィンカとの間に隙間を設けることを特徴とする。
【発明の効果】
【0006】
フロントカウルへの走行風の張り付きを抑制しながら、ウィンカの視認性を向上させた鞍乗り型車両を提供することができる。
【図面の簡単な説明】
【0007】
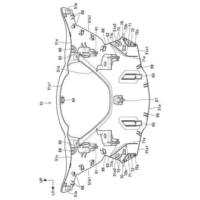
本発明の実施の形態に係る鞍乗り型車両の左側面図である。
本発明の実施の形態に係る鞍乗り型車両の要部の正面図である。
図2からフロントトップカバーおよびフロントセンターカバーを取り外した状態を示した図である。
フロントトップカバーの背面図である。
フロントトップカバーの左側面図である。
鞍乗り型車両の前部を下方から見上げた状態を示す図である。
図2のVII-VII線断面図である。
図2のVIII-VIII線断面図である。
インナーカバーの要部を示す鞍乗り型車両の背面図である。
図9に対応する部分を左後方から見た斜視図である。
図10からフロントサイドカバーを取り外した状態を示す図である。
本実施の形態の作用説明図である。
【発明を実施するための形態】
【0008】
以下、図面を参照して本発明の実施の形態について説明する。なお、説明中、前後左右および上下といった方向の記載は、特に記載がなければ車体に対する方向と同一とする。また、各図に示す符号FRは車体前方を示し、符号UPは車体上方を示し、符号LHは車体左方を示す。
【0009】
[実施の形態]
図1は、本発明の実施の形態に係る鞍乗り型車両10の左側面図である。
本実施の形態の鞍乗り型車両10は、スクーター型の鞍乗り型車両である。鞍乗り型車両10は、車体フレーム11と、車体フレーム11に揺動可能に支持され後輪15を支持するパワーユニット12と、前輪13を操舵自在に支持するフロントフォーク14と、乗員用のシート17とを備える車両である。
鞍乗り型車両10は、乗員がシート17に跨るようにして着座する車両である。シート17は、車体フレーム11の後部の上方に設けられる。
【0010】
車体フレーム11は、車体フレーム11の前端部に設けられるヘッドパイプ18と、ヘッドパイプ18の後方に位置するフロントフレーム19と、フロントフレーム19の後方に位置するリアフレーム20とを備える。フロントフレーム19の前端部は、ヘッドパイプ18に接続される。
シート17は、リアフレーム20に支持される。
(【0011】以降は省略されています)
この特許をJ-PlatPat(特許庁公式サイト)で参照する
関連特許
本田技研工業株式会社
車両
10日前
本田技研工業株式会社
装置
9日前
本田技研工業株式会社
モータ
6日前
本田技研工業株式会社
内燃機関
9日前
本田技研工業株式会社
保管装置
4日前
本田技研工業株式会社
保管装置
4日前
本田技研工業株式会社
固体電池
4日前
本田技研工業株式会社
内燃機関
9日前
本田技研工業株式会社
バッテリ
3日前
本田技研工業株式会社
断続装置
4日前
本田技研工業株式会社
送電装置
4日前
本田技研工業株式会社
切断装置
2日前
本田技研工業株式会社
受電装置
4日前
本田技研工業株式会社
会話装置
2日前
本田技研工業株式会社
車両構造
6日前
本田技研工業株式会社
車両構造
6日前
本田技研工業株式会社
バッテリ
3日前
本田技研工業株式会社
通知装置
9日前
本田技研工業株式会社
保持装置
3日前
本田技研工業株式会社
ステータ
2日前
本田技研工業株式会社
リンク機構
2日前
本田技研工業株式会社
リアクトル
9日前
本田技研工業株式会社
放電処理方法
4日前
本田技研工業株式会社
鞍乗り型車両
2日前
本田技研工業株式会社
潤滑システム
4日前
本田技研工業株式会社
電源システム
4日前
本田技研工業株式会社
鞍乗り型車両
2日前
本田技研工業株式会社
分離システム
6日前
本田技研工業株式会社
車両制御装置
10日前
本田技研工業株式会社
鞍乗り型車両
3日前
本田技研工業株式会社
運転制御装置
6日前
本田技研工業株式会社
モータ制御装置
4日前
本田技研工業株式会社
リリーフバルブ
3日前
本田技研工業株式会社
能動型防振装置
6日前
本田技研工業株式会社
遠心ファン構造
3日前
本田技研工業株式会社
遠心ファン構造
3日前
続きを見る
他の特許を見る