TOP
|
特許
|
意匠
|
商標
特許ウォッチ
Twitter
他の特許を見る
公開番号
2025143661
公報種別
公開特許公報(A)
公開日
2025-10-02
出願番号
2024043003
出願日
2024-03-19
発明の名称
リリーフバルブ
出願人
本田技研工業株式会社
代理人
弁理士法人桐朋
主分類
F16K
17/04 20060101AFI20250925BHJP(機械要素または単位;機械または装置の効果的機能を生じ維持するための一般的手段)
要約
【課題】圧力変動によるハンチングを効果的に抑制し、バルブ挙動を安定化させるリリーフバルブを提供する。
【解決手段】リリーフバルブ40は、空洞部54を有するシリンダ42と、空洞部54内でシリンダ42の軸方向に変位可能なバルブ体44と、バルブ体44をシリンダ42の受座部58に向けて付勢するバネ部材46とを備える。バルブ体44の頭部62は、軸方向において流入口56と向かい合う第1面64と、軸方向において受座部58と向かい合う第2面66と、第1面64と第2面66との間から受座部58に向かって突出する凸部68と、凸部68に設けられた連通路70とを有する。
【選択図】図3
特許請求の範囲
【請求項1】
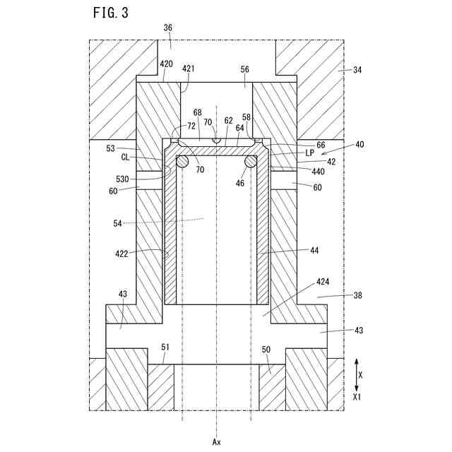
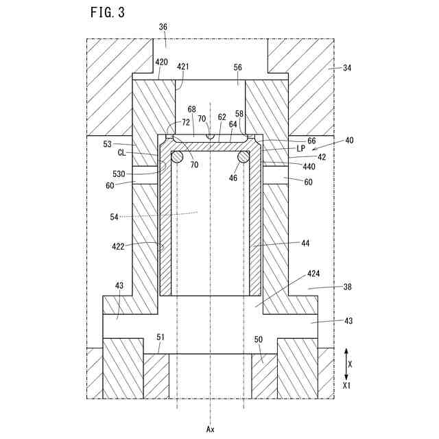
周壁部と、前記周壁部内に形成された空洞部と、前記周壁部の一端部に設けられ前記空洞部に連通する流入口と、前記空洞部において前記流入口を囲む受座部と、前記空洞部を介して前記流入口と連通し得る流出口とを有するシリンダと、
前記空洞部内で前記シリンダの軸方向に変位可能であり、前記受座部に向かい合う座面が設けられた頭部を有し、閉弁状態において前記座面が前記受座部に当接するバルブ体と、
前記バルブ体を前記シリンダの前記受座部に向けて付勢するバネ部材と、
を備えたリリーフバルブであって、
前記頭部は、
前記軸方向において前記流入口と向かい合う第1面と、
前記軸方向において前記受座部と向かい合う第2面と、
前記第1面と前記第2面との間から前記受座部に向かって突出し、前記座面が形成された凸部と、
前記凸部に設けられ、前記第1面と前記第2面とを連通する連通路と、を有する、リリーフバルブ。
続きを表示(約 700 文字)
【請求項2】
請求項1に記載のリリーフバルブであって、
前記凸部は、前記バルブ体の周方向に沿って延在し、
前記連通路は、前記凸部に設けられた切欠溝である、リリーフバルブ。
【請求項3】
請求項2に記載のリリーフバルブであって、
前記凸部は、円環状の突起であり、
前記切欠溝は、前記周方向において間隔を置いて複数設けられる、リリーフバルブ。
【請求項4】
請求項1に記載のリリーフバルブであって、
前記受座部から前記軸方向に離間した位置に前記流出口が設けられ、
前記周壁部の内周面と前記バルブ体の外周面との間には液体の流動を許容するクリアランスが形成されており、
前記バルブ体の前記座面が前記受座部に当接したバルブ着座状態において、前記流入口と前記流出口とが前記クリアランスを介して連通する、リリーフバルブ。
【請求項5】
請求項1~4のいずれか1項に記載のリリーフバルブであって、
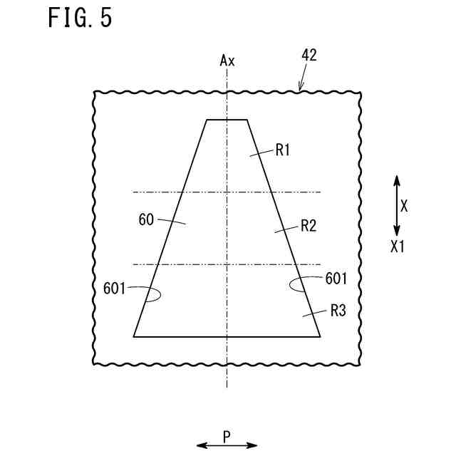
前記流出口は、前記軸方向に沿って前記受座部から離れる方向に第1領域、第2領域及び第3領域がこの順で形成され、
前記シリンダの周方向において、前記第1領域の開口幅は、前記第2領域の開口幅及び前記第3領域の開口幅よりも小さく、前記第3領域の前記開口幅は、前記第2領域の前記開口幅以上である、リリーフバルブ。
【請求項6】
請求項5に記載のリリーフバルブであって、
前記シリンダの径方向から見て、前記流出口は、略三角形状又は略台形状に形成される、リリーフバルブ。
発明の詳細な説明
【技術分野】
【0001】
本発明は、リリーフバルブに関する。
続きを表示(約 1,400 文字)
【背景技術】
【0002】
近年、より多くの人々が手ごろで信頼できる持続可能且つ先進的なエネルギーへのアクセスを確保できるようにするため、流体回路の分野を含め、様々な分野においてエネルギーの効率化に関する研究開発が行われている。例えば、特許文献1に開示されるように、油圧回路等の流体回路において、予め決定された圧力(設定値)を超えないようにするため、リリーフバルブが配置される。
【先行技術文献】
【特許文献】
【0003】
特開2001-12627号公報
【発明の概要】
【発明が解決しようとする課題】
【0004】
リリーフバルブにおいて、圧力変動によるハンチングを効果的に抑制し、バルブ挙動を安定化することが望まれている。
【0005】
本発明は、上述した課題を解決することを目的とする。
【課題を解決するための手段】
【0006】
本開示の態様は、周壁部と、前記周壁部内に形成された空洞部と、前記周壁部の一端部に設けられ前記空洞部に連通する流入口と、前記空洞部において前記流入口を囲む受座部と、前記空洞部を介して前記流入口と連通し得る流出口とを有するシリンダと、前記空洞部内で前記シリンダの軸方向に変位可能であり、前記受座部に向かい合う座面が設けられた頭部を有し、閉弁状態において前記座面が前記受座部に当接するバルブ体と、前記バルブ体を前記シリンダの前記受座部に向けて付勢するバネ部材と、を備えたリリーフバルブであって、前記頭部は、前記軸方向において前記流入口と向かい合う第1面と、前記軸方向において前記受座部と向かい合う第2面と、前記第1面と前記第2面との間から前記受座部に向かって突出し、前記座面が形成された凸部と、前記凸部に設けられ、前記第1面と前記第2面とを連通する連通路と、を有する、リリーフバルブである。
【発明の効果】
【0007】
本発明のリリーフバルブによれば、バルブ体の頭部に凸部及び連通路が設けられているため、開弁前後における受圧面積差が小さくなる。このため、開弁前後における圧力変動(圧力の脈動)を低減することができる。
【図面の簡単な説明】
【0008】
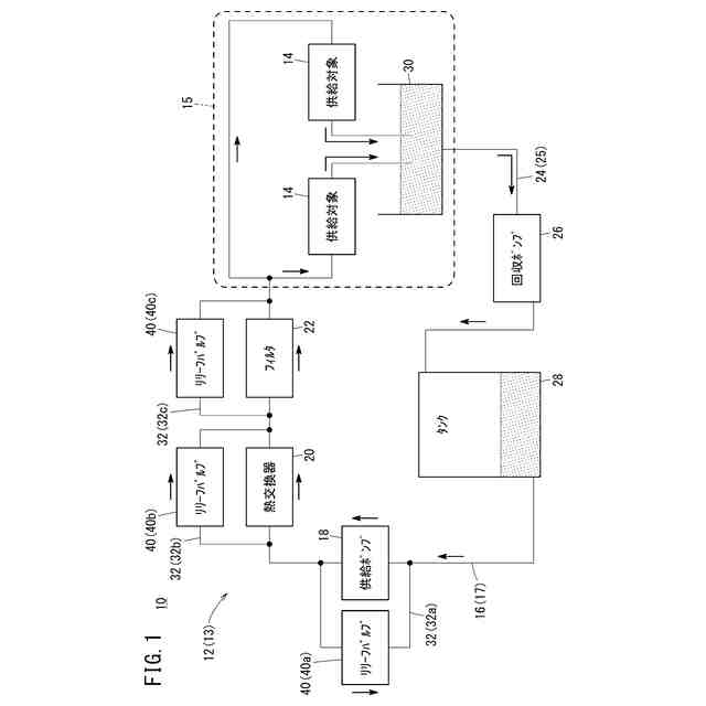
図1は、液体供給システムの模式図である。
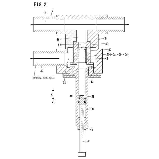
図2は、リリーフバルブの断面図である。
図3は、リリーフバルブの拡大断面図である。
図4は、バルブ体の斜視図である。
図5は、シリンダにおける流出口及びその周辺の拡大図である。
【発明を実施するための形態】
【0009】
図1に示す液体供給システム10は、流体回路12を有する。流体回路12は、液体供給装置13である。流体回路12は、潤滑回路として構成されている。流体回路12における流動媒体は液体である。潤滑回路において、流動媒体として潤滑液が流動する。潤滑液は、例えばオイルである。供給対象14に液体が供給される。供給対象14を有する装置15は、例えば、回転電機である。回転電機は、電動機又は発電機である。供給対象14は、例えば、摺動部、ベアリング等である。
【0010】
液体供給装置13は、供給ライン16と、供給ポンプ18と、熱交換器20と、フィルタ22と、回収ライン24と、回収ポンプ26と、タンク28とを備える。
(【0011】以降は省略されています)
この特許をJ-PlatPat(特許庁公式サイト)で参照する
関連特許
本田技研工業株式会社
車両
9日前
本田技研工業株式会社
装置
8日前
本田技研工業株式会社
モータ
5日前
本田技研工業株式会社
車両構造
5日前
本田技研工業株式会社
保管装置
3日前
本田技研工業株式会社
電解装置
16日前
本田技研工業株式会社
保持装置
2日前
本田技研工業株式会社
ステータ
1日前
本田技研工業株式会社
バッテリ
2日前
本田技研工業株式会社
ロボット
1か月前
本田技研工業株式会社
内燃機関
8日前
本田技研工業株式会社
保管装置
3日前
本田技研工業株式会社
通知装置
8日前
本田技研工業株式会社
回転機械
1か月前
本田技研工業株式会社
会話装置
1日前
本田技研工業株式会社
固体電池
3日前
本田技研工業株式会社
断続装置
3日前
本田技研工業株式会社
切断装置
1日前
本田技研工業株式会社
送電装置
3日前
本田技研工業株式会社
受電装置
3日前
本田技研工業株式会社
車両構造
5日前
本田技研工業株式会社
内燃機関
8日前
本田技研工業株式会社
バッテリ
2日前
本田技研工業株式会社
鞍乗型車両
15日前
本田技研工業株式会社
リアクトル
8日前
本田技研工業株式会社
リンク機構
1日前
本田技研工業株式会社
鞍乗り型車両
1日前
本田技研工業株式会社
鞍乗り型車両
1日前
本田技研工業株式会社
電源システム
3日前
本田技研工業株式会社
固体二次電池
15日前
本田技研工業株式会社
放電処理方法
3日前
本田技研工業株式会社
潤滑システム
15日前
本田技研工業株式会社
鞍乗り型車両
2日前
本田技研工業株式会社
動力伝達装置
1か月前
本田技研工業株式会社
潤滑システム
3日前
本田技研工業株式会社
分離システム
5日前
続きを見る
他の特許を見る