TOP
|
特許
|
意匠
|
商標
特許ウォッチ
Twitter
他の特許を見る
10個以上の画像は省略されています。
公開番号
2025142561
公報種別
公開特許公報(A)
公開日
2025-10-01
出願番号
2024042000
出願日
2024-03-18
発明の名称
電源システム
出願人
本田技研工業株式会社
代理人
弁理士法人桐朋
主分類
H01M
8/04302 20160101AFI20250924BHJP(基本的電気素子)
要約
【課題】起動応答性を向上させることができる燃料電池システムと二次電池から構成される電源システムを提供する。
【解決手段】制御装置14は、燃料電池システム(FCS)16を起動させるために必要な電力としての起動必要電力Preqを算出する。制御装置14は、FCS16の温度と起動必要電力Preqとバッテリ20の残容量とに応じて、複数のFCS16に対し、起動の順番を示す優先度を設定し、複数のFCS16を優先度に従って起動させる。
【選択図】図1
特許請求の範囲
【請求項1】
負荷に接続された二次電池と、
前記負荷及び前記二次電池に接続された複数の燃料電池システムと、
前記複数の燃料電池システムの起動と前記負荷への電力供給とを制御する制御装置と、
を有する電源システムであって、
さらに、
前記二次電池の残容量を取得する残容量取得装置と、
前記燃料電池システムの温度を取得する温度取得装置と、
を有し、
前記制御装置は、
前記燃料電池システムを起動させるために必要な電力としての起動必要電力を算出し、
前記燃料電池システムの前記温度と前記起動必要電力と前記二次電池の前記残容量とに応じて、前記複数の燃料電池システムに対し、起動の順番を示す優先度を設定し、
前記複数の燃料電池システムを前記優先度に従って起動させる
電源システム。
続きを表示(約 1,500 文字)
【請求項2】
請求項1に記載の電源システムにおいて、
前記制御装置は、
前記二次電池の前記残容量が所定値以上である場合、前記複数の燃料電池システムに対して同一の優先度を設定し、
前記複数の燃料電池システムを一斉に起動させる
電源システム。
【請求項3】
請求項1に記載の電源システムにおいて、
前記制御装置は、
前記二次電池の前記残容量が所定値未満である場合、前記複数の燃料電池システムのうち未起動の前記燃料電池システムの中から、前記温度の高い一以上の前記燃料電池システムを選択し、
選択された前記燃料電池システムに対し、他の前記燃料電池システムよりも高い優先度を設定し、
選択された前記燃料電池システムを、他の前記燃料電池システムに優先して起動させる
電源システム。
【請求項4】
請求項3に記載の電源システムにおいて、
前記制御装置は、
前記複数の燃料電池システムのうち未起動の前記燃料電池システムの中から、二以上の前記燃料電池システムが選択された場合、
選択された二以上の前記燃料電池システムの前記起動必要電力の合計値が、前記二次電池の前記残容量未満であることを条件として、選択された二以上の前記燃料電池システムに対し、同一の優先度を設定し、
選択された二以上の前記燃料電池システムを、他の前記燃料電池システムに優先して起動させる
電源システム。
【請求項5】
請求項3に記載の電源システムにおいて、
前記制御装置は、
前記複数の燃料電池システムのうち、一以上の前記燃料電池システムが起動を完了した後は、
前記燃料電池システムの前記温度と、前記起動必要電力と、前記二次電池の前記残容量と、起動を完了した前記燃料電池システムの出力電力とに応じて、前記優先度を設定し、
前記二次電池から供給される電力と、起動を完了した前記燃料電池システムの出力電力との少なくとも一方により、未起動の前記燃料電池システムを起動させる
電源システム。
【請求項6】
請求項1に記載の電源システムにおいて、
前記制御装置は、
前記二次電池の前記残容量が、前記二次電池の通常使用領域の下限を示す所定値よりも小さい場合には、未起動の前記複数の燃料電池システムの中から、前記温度が最も高い第一の燃料電池システムを選択し、
選択された前記第一の燃料電池システムに対して、他の前記燃料電池システムよりも高い優先度を設定し、
前記二次電池から供給される電力により、選択された前記第一の燃料電池システムのみを起動させ、
前記第一の燃料電池システムが起動を完了した後、未起動の前記複数の燃料電池システムの中から、前記温度が二番目に高い第二の燃料電池システムを選択し、
前記第一の燃料電池システムの出力電力により、前記第二の燃料電池システムを起動させる
電源システム。
【請求項7】
請求項1に記載の電源システムにおいて、
前記制御装置は、
起動済みの前記燃料電池システムが出力可能な電力の合計値が、前記負荷から要求される電力の値以上になった場合に、前記負荷に対する電力供給を開始する
電源システム。
【請求項8】
請求項1に記載の電源システムにおいて、
前記制御装置は、
故障が発生した燃料電池システムを、前記優先度を設定する対象から除外する
電源システム。
発明の詳細な説明
【技術分野】
【0001】
この発明は、電源システムに関する。
続きを表示(約 1,900 文字)
【背景技術】
【0002】
近年、より多くの人々が手ごろで信頼でき、持続可能かつ先進的なエネルギへのアクセスを確保するため、エネルギの効率化に貢献する燃料電池に関する研究開発が行われている。
【0003】
特開2017-126441号公報は、複数の燃料電池システムを有する電源システムを開示する。この電源システムは、稼働していない燃料電池システムの中から、温度が最も高い燃料電池システムを一つ選択し、選択した燃料電池システムを最初に起動する。
【先行技術文献】
【特許文献】
【0004】
特開2017-126441号公報
【発明の概要】
【発明が解決しようとする課題】
【0005】
このような電源システムにおいて、起動応答性の向上が望まれている。
【0006】
この発明は、上述した課題を解決することを目的とする。
【課題を解決するための手段】
【0007】
この発明の一態様は、負荷に接続された二次電池と、前記負荷及び前記二次電池に接続された複数の燃料電池システムと、前記複数の燃料電池システムの起動と前記負荷への電力供給とを制御する制御装置と、有する電源システムであって、さらに、前記二次電池の残容量を取得する残容量取得装置と、前記燃料電池システムの温度を取得する温度取得装置と、を有し、前記制御装置は、前記燃料電池システムを起動させるために必要な電力としての起動必要電力を算出し、前記燃料電池システムの前記温度と前記起動必要電力と前記二次電池の前記残容量とに応じて、前記複数の燃料電池システムに対し、起動の順番を示す優先度を設定し、前記複数の燃料電池システムを前記優先度に従って起動させる。
【発明の効果】
【0008】
この発明によれば、電源システムの起動応答性を向上することができる。
【図面の簡単な説明】
【0009】
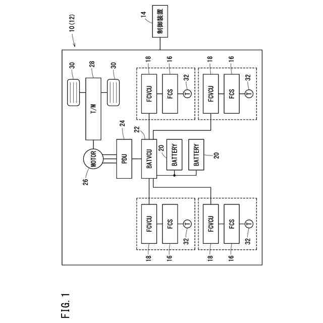
図1は、実施形態に係る電源システムの構成の一例を示すブロック図である。
図2は、図1に示す電源システムの起動処理の説明に供されるフローチャートである。
図3は、起動可能な燃料電池システム(FCS)の基数を算出するサブルーチンの説明に供されるフローチャートである。
図4は、FCSの起動モードを設定するサブルーチンの説明に供されるフローチャートである。
図5は、電源システムが出力可能な電力値を算出するサブルーチンの説明に供されるフローチャートである。
図6は、一斉起動モードにおいて優先度を設定するサブルーチンの説明に供されるフローチャートである。
図7は、FCSに起動開始を指示するサブルーチンの説明に供されるフローチャートである。
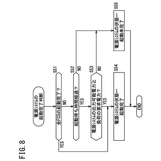
図8は、電源システムの起動完了を判断するサブルーチンの説明に供されるフローチャートである。
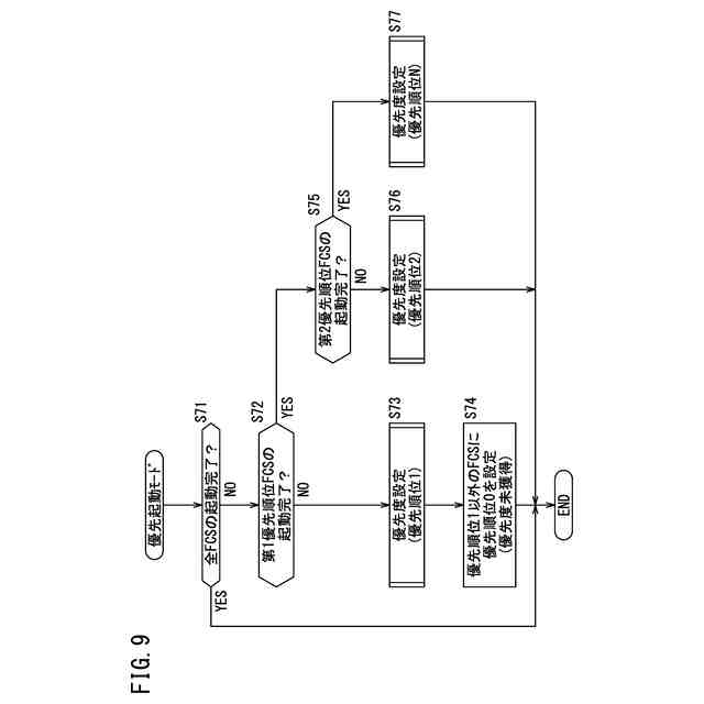
図9は、優先起動モードにおいて優先度を設定するサブルーチンの説明に供されるフローチャートである。
図10は、一以上のFCSに優先度を設定するサブルーチンの説明に供されるフローチャートである。
図11は、FCSの温度とFCSの起動に必要な電力の関係の一例を示す説明図である。
図12Aは、図11に示すFCSの起動完了タイミングと、FCSの起動に使用可能な電力の推移の一例を示す説明図である。図12Bは、FCSに設定される優先度の一例を示す説明図である。
図13は、FCSの起動完了と、電源システムの起動完了のタイミングの一例を示すタイミングチャートである。
図14は、変形例に係る電源システムの起動処理の説明に供されるフローチャートである。
図15は、1つのFCSに優先度を設定するサブルーチンの説明に供されるフローチャートである。
【発明を実施するための形態】
【0010】
図1は、実施形態に係る電源システム10の構成の一例を示すブロック図である。ここでは、電源システム10は、燃料電池の発電電力により推進(走行)する燃料電池自動車12(FCV:fuel cell vehicle)として説明される。但し、電源システム10は燃料電池自動車12に限られない。電源システム10は、例えば船舶、航空機、ロボット等、車両以外の移動体でもよい。電源システム10は、事業用設備や家庭に設置される定置型電源でもよい。
(【0011】以降は省略されています)
この特許をJ-PlatPat(特許庁公式サイト)で参照する
関連特許
他の特許を見る