TOP
|
特許
|
意匠
|
商標
特許ウォッチ
Twitter
他の特許を見る
10個以上の画像は省略されています。
公開番号
2025143149
公報種別
公開特許公報(A)
公開日
2025-10-01
出願番号
2024042928
出願日
2024-03-18
発明の名称
保管装置
出願人
本田技研工業株式会社
代理人
弁理士法人クシブチ国際特許事務所
主分類
H01M
50/289 20210101AFI20250924BHJP(基本的電気素子)
要約
【課題】設置場所の自由度が大きい保管装置を提供する。
【解決手段】保管装置は、搭載面(20b)を有する搭載部材(20)と、前記搭載部材(20)を支持するフレーム構造体(10)と、を備える搭載フレーム(4)と、前記搭載面(20b)に並べて載置された状態で前記搭載面(20b)に対して固定され、複数の蓄電池(2)をそれぞれ収容する複数の収容スロット(3)と、を備える。
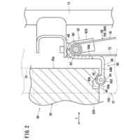
【選択図】図2
特許請求の範囲
【請求項1】
搭載面(20b)を有する搭載部材(20)と、前記搭載部材(20)を支持するフレーム構造体(10)と、を備える搭載フレーム(4)と、
前記搭載面(20b)に並べて載置された状態で前記搭載面(20b)に対して固定され、複数の蓄電池(2)をそれぞれ収容する複数の収容スロット(3)と、
を備えることを特徴とする保管装置。
続きを表示(約 1,100 文字)
【請求項2】
複数の前記収容スロット(3)は、スロットケース(51)と、前記スロットケース(51)の外周面よりも外周側に向かって突出する外周突出部(53)と、を備え、
前記外周突出部(53)と前記搭載面(20b)とが互いに固定されている
ことを特徴とする請求項1に記載の保管装置。
【請求項3】
前記外周突出部(53)と前記搭載面(20b)とは、前記搭載面(20b)に交差する方向に延びる締結部材(100)により固定されている
ことを特徴とする請求項2に記載の保管装置。
【請求項4】
複数の前記収容スロット(3)には、前記蓄電池(2)が挿入可能な開口部(52a)が設けられており、
前記搭載面(20b)は、前記蓄電池(2)を挿抜する方向で前記開口部(52a)と向かい合う位置に配置されている
ことを特徴とする請求項1から3のいずれかに記載の保管装置。
【請求項5】
複数の前記収容スロット(3)の前記開口部(52a)のそれぞれと連通する挿入開口(45c、145c)が設けられた挿入案内部材(45、145)を備えている
ことを特徴とする請求項4に記載の保管装置。
【請求項6】
前記搭載フレーム(4)と、複数の前記収容スロット(3)と、を収容する筐体(5)と、
複数の前記収容スロット(3)の並び方向に交差するように前記筐体(5)の内部を仕切る仕切部材(22)と、を備え、
前記筐体(5)は、複数の前記収容スロット(3)が上下方向に並んで載置されるように設置され、
前記仕切部材(22)の上下の空間(S1、S2)に、前記仕切部材(22)の上下の空間(S1、S2)に下方から上方に流れる冷却風を生じさせる冷却ファン(135)が配置されている
ことを特徴とする請求項1から3のいずれかに記載の保管装置。
【請求項7】
前記搭載フレーム(4)と、複数の前記収容スロット(3)と、を収容する筐体(5)と、
複数の前記収容スロット(3)の並び方向に交差するように前記筐体(5)の内部を仕切る仕切部材(22)と、を備え、
前記筐体(5)は、複数の前記収容スロット(3)が左右方向に並んで載置されるように設置され、
前記仕切部材(22)の左右の空間(S1、S2)に、前記仕切部材(22)の左右の空間(S1、S2)に前記仕切部材(22)から離間する方向に流れる冷却風を生じさせる冷却ファン(35)が配置されている
ことを特徴とする請求項1から3のいずれかに記載の保管装置。
発明の詳細な説明
【技術分野】
【0001】
本発明は、保管装置に関する。
続きを表示(約 1,600 文字)
【背景技術】
【0002】
従来、蓄電池を保管する保管装置が知られている(例えば、特許文献1参照)。特許文献1に記載の保管装置は、保管時に、スロットルモジュールに収容されたモバイルバッテリを充電可能に構成されている。特許文献1では、支柱柱、正面梁、側面梁および上部梁により基本骨格が構成され、基本骨格に筒状のモノコックケースが支持されることで保管装置のフレームが構成されている。特許文献1では、スロットルモジュールが、モノコックケースに挿入され周囲から支持された状態でフレームに固定される。
【先行技術文献】
【特許文献】
【0003】
国際公開第2021/107069号
【発明の概要】
【発明が解決しようとする課題】
【0004】
しかしながら、特許文献1に記載の保管装置は設置場所が制限され易く、設置場所の自由度が小さいという課題がある。
本発明は、上述した事情に鑑みてなされたものであり、設置場所の自由度が大きい保管装置を提供することを目的とする。
【課題を解決するための手段】
【0005】
保管装置は、搭載面を有する搭載部材と、前記搭載部材を支持するフレーム構造体と、を備える搭載フレームと、前記搭載面に並べて載置された状態で前記搭載面に対して固定され、複数の蓄電池をそれぞれ収容する複数の収容スロットと、を備えることを特徴とする。
【発明の効果】
【0006】
設置場所の自由度が大きい保管装置を提供することができる。
【図面の簡単な説明】
【0007】
実施の形態に係る保管装置の分解斜視図である。
実施の形態に係る保管装置の下端部を示す正面図である。
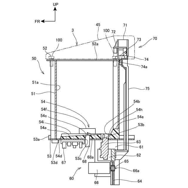
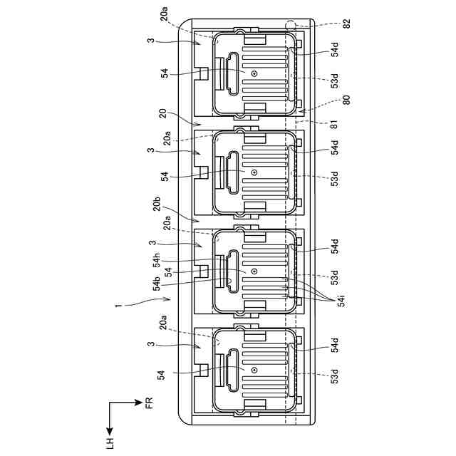
収容スロットの斜視図である。
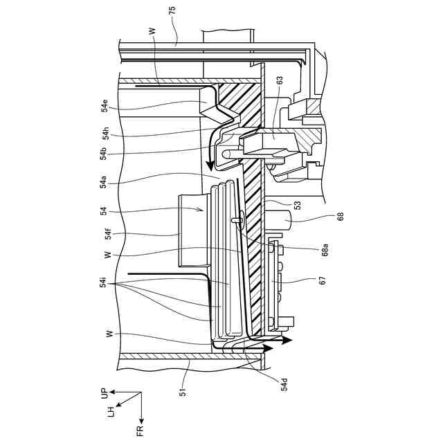
収容スロットの断面図である。
収容スロットの底面部材の周辺部を示す斜視図である。
図4の斜視図に対応する図である。
収容スロットの下部の縦断面図である。
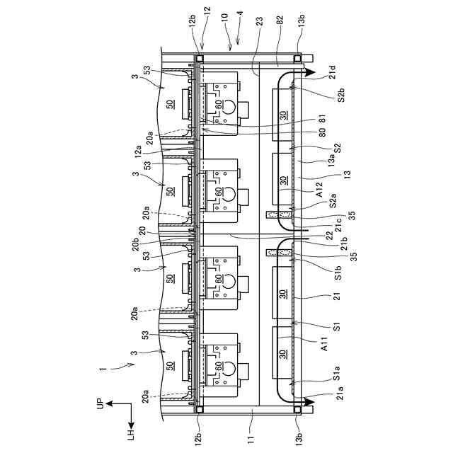
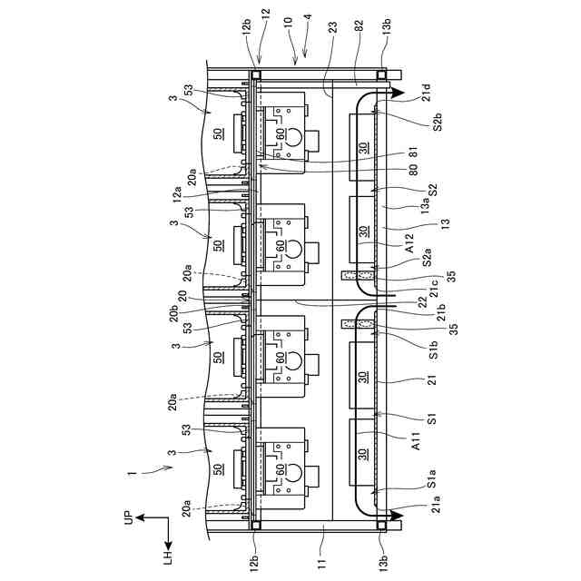
実施の形態に係る保管装置の横断面図である。
実施の形態に係る保管装置を縦置きした場合を示す図である。
縦置きされた搭載フレームと収容スロットの底面部材とを開口部側から視た図である。
縦置きされた搭載フレームと収容スロットとを電装品スペース側から視た図である。
【発明を実施するための形態】
【0008】
以下、図面を参照して本発明の実施の形態について説明する。図において、符号FRは前方を示し、符号UPは上方を示し、符号LHは左方を示す。
【0009】
[実施の形態]
図1は、実施の形態に係る保管装置1の分解斜視図である。
保管装置1は、外観略直方体状に形成されたバッテリ(蓄電池)2を保管する装置である。保管装置1は、保管時にバッテリ2を充電可能に構成される。保管装置1は、バッテリ2を着脱可能に収容する複数の収容スロット(収容部)3と、複数の収容スロット3が固定される搭載フレーム4と、複数の収容スロット3と搭載フレーム4とを収容する筐体5と、を有する。バッテリ2は、外観略直方体形状の一側に握り部2bを備え、外観略直方体形状の他側にバッテリ端子2a(図7参照)を備える。バッテリ2は、ユーザによって持ち運ぶことが可能であり、例えば、電動車両(四輪車、三輪車、二輪車)、芝刈り機、農作業機等の作業機に着脱可能に構成されている。バッテリ2は、MPP(Mobile Power Pack)である。
【0010】
本実施の形態の保管装置1は、複数の収容スロット3が左右方向に沿って並べて載置された横置き、および、複数の収容スロット3が上下方向に並べて載置された縦置きが可能に構成される。以下、特に記載がなければ、横置きの保管装置1について説明する。
(【0011】以降は省略されています)
この特許をJ-PlatPat(特許庁公式サイト)で参照する
関連特許
本田技研工業株式会社
車両
13日前
本田技研工業株式会社
装置
12日前
本田技研工業株式会社
移動体
今日
本田技研工業株式会社
モータ
9日前
本田技研工業株式会社
切断装置
5日前
本田技研工業株式会社
送電装置
7日前
本田技研工業株式会社
断続装置
7日前
本田技研工業株式会社
電気機器
今日
本田技研工業株式会社
固体電池
今日
本田技研工業株式会社
保管装置
7日前
本田技研工業株式会社
固体電池
7日前
本田技研工業株式会社
車両構造
9日前
本田技研工業株式会社
保管装置
7日前
本田技研工業株式会社
バッテリ
6日前
本田技研工業株式会社
バッテリ
6日前
本田技研工業株式会社
保持装置
6日前
本田技研工業株式会社
会話装置
5日前
本田技研工業株式会社
ステータ
5日前
本田技研工業株式会社
受電装置
7日前
本田技研工業株式会社
車両構造
9日前
本田技研工業株式会社
内燃機関
12日前
本田技研工業株式会社
電解装置
20日前
本田技研工業株式会社
内燃機関
12日前
本田技研工業株式会社
通知装置
12日前
本田技研工業株式会社
電気機器
今日
本田技研工業株式会社
全固体電池
今日
本田技研工業株式会社
全固体電池
今日
本田技研工業株式会社
リンク機構
5日前
本田技研工業株式会社
リアクトル
12日前
本田技研工業株式会社
鞍乗型車両
19日前
本田技研工業株式会社
運転制御装置
9日前
本田技研工業株式会社
鞍乗り型車両
6日前
本田技研工業株式会社
鞍乗り型車両
5日前
本田技研工業株式会社
潤滑システム
19日前
本田技研工業株式会社
車両制御装置
13日前
本田技研工業株式会社
車両制御装置
19日前
続きを見る
他の特許を見る