TOP
|
特許
|
意匠
|
商標
特許ウォッチ
Twitter
他の特許を見る
公開番号
2025142617
公報種別
公開特許公報(A)
公開日
2025-10-01
出願番号
2024042069
出願日
2024-03-18
発明の名称
固体電池
出願人
本田技研工業株式会社
代理人
個人
,
個人
主分類
H01M
10/0585 20100101AFI20250924BHJP(基本的電気素子)
要約
【課題】製造時に正極合材層および固体電解質層のクラックの発生を抑制することが可能な固体電池を提供する。
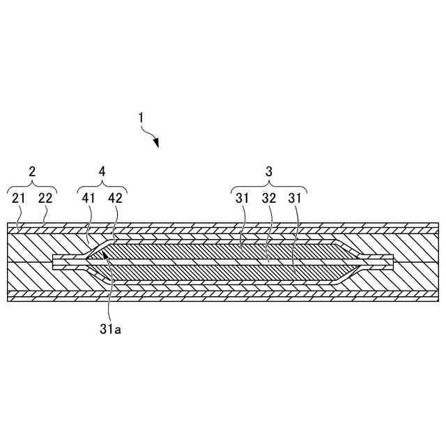
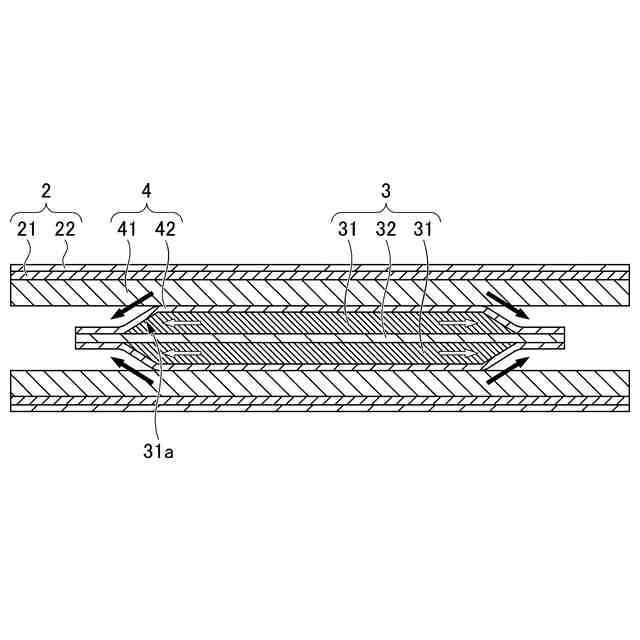
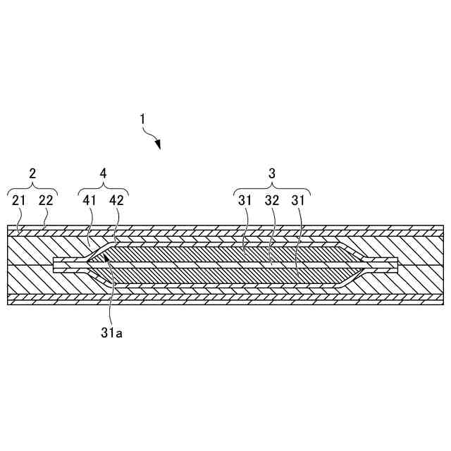
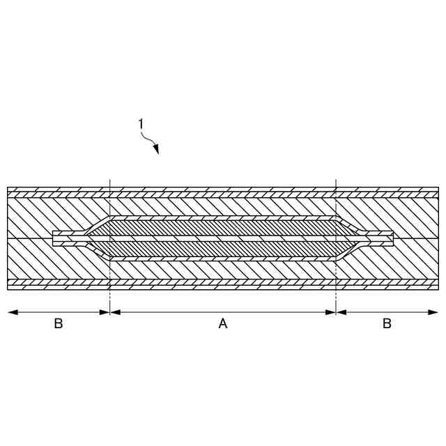
【解決手段】固体電池1は、負極2と、固体電解質層4と、正極3とが順次積層されている電極積層体を備える。固体電解質層4は、負極2の側に配置されている第1固体電解質層41と、正極3の側に配置されている第2固体電解質層42とを備える。正極3は、正極集電体32と、正極合材層31とを備え、正極合材層31の少なくとも一つの端部31aに斜面が形成されている。固体電池1は、電極積層体の積層方向から上面視すると、第1固体電解質層41の外周部が、正極合材層31の外周部よりも外側に存在する。
【選択図】図1
特許請求の範囲
【請求項1】
負極と、固体電解質層と、正極とが順次積層されている電極積層体を備え、
前記固体電解質層は、前記負極の側に配置されている第1固体電解質層と、前記正極の側に配置されている第2固体電解質層とを備え、
前記正極は、正極集電体と、正極合材層とを備え、前記正極合材層の少なくとも一つの端部に斜面が形成されており、
前記電極積層体の積層方向から上面視すると、前記第1固体電解質層の外周部が、前記正極合材層の外周部よりも外側に存在する、固体電池。
続きを表示(約 600 文字)
【請求項2】
前記電極積層体の積層方向から上面視すると、前記正極集電体の前記斜面が形成されている側の端部が、前記正極合材層の外周部よりも外側に存在する、請求項1に記載の固体電池。
【請求項3】
前記正極集電体は、前記正極合材層が形成されていない表面に前記第2固体電解質層が形成されている、請求項2に記載の固体電池。
【請求項4】
前記第1固体電解質層の前記正極合材層の前記斜面が形成されていない領域と対向する領域の密度が、前記第1固体電解質層の前記正極合材層の前記斜面が形成されていない領域と対向しない領域の密度よりも高い、請求項1から3のいずれか一項に記載の固体電池。
【請求項5】
前記第2固体電解質層の前記正極合材層の前記斜面が形成されていない領域と対向しない領域の密度が、前記第1固体電解質層の前記正極合材層の前記斜面が形成されていない領域と対向しない領域の密度よりも高い、請求項1から3のいずれか一項に記載の固体電池。
【請求項6】
前記電極積層体の積層方向から上面視すると、前記第1固体電解質層の外周部が、前記第2固体電解質層の外周部よりも外側に存在する、請求項1から3のいずれか一項に記載の固体電池。
【請求項7】
全固体リチウム金属電池である、請求項1から3のいずれか一項に記載の固体電池。
発明の詳細な説明
【技術分野】
【0001】
本発明は、固体電池に関する。
続きを表示(約 1,400 文字)
【背景技術】
【0002】
近年、より多くの人々が手頃で信頼でき、持続可能かつ先進的なエネルギーへのアクセスを確保できるようにするため、エネルギーの効率化に貢献する固体電池に関する研究開発が実施されている。
【0003】
固体電池としては、正極と負極との間に固体電解質層が配置されている全固体電池が知られている。
【0004】
特許文献1には、正極集電体層と、少なくとも固体電解質を含む正極活物質層とが積層された正極と、負極集電体層と、少なくとも固体電解質を含む負極活物質層とが積層された負極と、正極活物質層と負極活物質層の間に配置された第1固体電解質層とを備える全固体電池が記載されている。ここで、全固体電池は、積層方向に垂直な方向に関して、負極活物質層の面積が、正極活物質層の面積よりも大きく、積層方向に垂直な方向に関して、第1固体電解質層の面積が、正極活物質層の面積よりも大きく、正極活物質層の空隙率n1
am
が5%以下である。
【0005】
また、特許文献1には、正極集電体層と、正極活物質層とを積層した状態で加圧して、正極を形成する工程と、負極集電体層と、負極活物質層とを積層した状態で加圧して、負極を形成する工程と、正極と、第1固体電解質層と、負極とをこの順に積層した状態で加圧して、積層体ユニットを形成する工程と、を有する、全固体電池の製造方法が記載されている。
【先行技術文献】
【特許文献】
【0006】
特開2022-144855号公報
【発明の概要】
【発明が解決しようとする課題】
【0007】
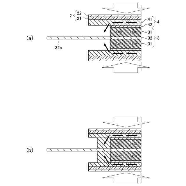
しかしながら、特許文献1に記載されている全固体電池の製造方法では、正極と、第1固体電解質層と、負極とをこの順に積層した状態で加圧する際に、正極活物質層の端部に第1固体電解質層が入り込み、第1固体電解質層が正極集電タブと密着する場合がある。このとき、さらに加圧すると、正極活物質層の端部が第1固体電解質層により拘束されるため、応力が集中して、正極活物質層および第1固体電解質層にクラックが発生する。その結果、全固体電池の容量が低下したり、耐久性が低下したりする。
【0008】
本発明は、製造時に正極合材層および固体電解質層のクラックの発生を抑制することが可能な固体電池を提供することを目的とする。
【課題を解決するための手段】
【0009】
(1)負極と、固体電解質層と、正極とが順次積層されている電極積層体を備え、前記固体電解質層は、前記負極の側に配置されている第1固体電解質層と、前記正極の側に配置されている第2固体電解質層とを備え、前記正極は、正極集電体と、正極合材層とを備え、前記正極合材層の少なくとも一つの端部に斜面が形成されており、前記電極積層体の積層方向から上面視すると、前記第1固体電解質層の外周部が、前記正極合材層の外周部よりも外側に存在する、固体電池。
【0010】
(2)前記電極積層体の積層方向から上面視すると、前記正極集電体の前記斜面が形成されている側の端部が、前記正極合材層の外周部よりも外側に存在する、(1)に記載の固体電池。
(【0011】以降は省略されています)
この特許をJ-PlatPat(特許庁公式サイト)で参照する
関連特許
本田技研工業株式会社
装置
5日前
本田技研工業株式会社
車両
1か月前
本田技研工業株式会社
車両
6日前
本田技研工業株式会社
モータ
2日前
本田技研工業株式会社
保管装置
今日
本田技研工業株式会社
固体電池
今日
本田技研工業株式会社
内燃機関
5日前
本田技研工業株式会社
内燃機関
5日前
本田技研工業株式会社
通知装置
5日前
本田技研工業株式会社
保管装置
今日
本田技研工業株式会社
車両構造
2日前
本田技研工業株式会社
車両構造
2日前
本田技研工業株式会社
電解装置
13日前
本田技研工業株式会社
受電装置
今日
本田技研工業株式会社
送電装置
今日
本田技研工業株式会社
断続装置
今日
本田技研工業株式会社
ロボット
28日前
本田技研工業株式会社
回転機械
29日前
本田技研工業株式会社
リアクトル
5日前
本田技研工業株式会社
触媒インク
1か月前
本田技研工業株式会社
触媒インク
1か月前
本田技研工業株式会社
鞍乗型車両
12日前
本田技研工業株式会社
動力伝達装置
27日前
本田技研工業株式会社
鞍乗り型車両
29日前
本田技研工業株式会社
分離システム
2日前
本田技研工業株式会社
鞍乗り型車両
1か月前
本田技研工業株式会社
放電処理方法
今日
本田技研工業株式会社
車両制御装置
6日前
本田技研工業株式会社
作業システム
29日前
本田技研工業株式会社
固体二次電池
12日前
本田技研工業株式会社
車両制御装置
12日前
本田技研工業株式会社
潤滑システム
12日前
本田技研工業株式会社
運転制御装置
2日前
本田技研工業株式会社
電源システム
今日
本田技研工業株式会社
鞍乗り型車両
22日前
本田技研工業株式会社
鞍乗り型車両
29日前
続きを見る
他の特許を見る