TOP
|
特許
|
意匠
|
商標
特許ウォッチ
Twitter
他の特許を見る
公開番号
2025142940
公報種別
公開特許公報(A)
公開日
2025-10-01
出願番号
2024042576
出願日
2024-03-18
発明の名称
放電処理方法
出願人
本田技研工業株式会社
代理人
弁理士法人クシブチ国際特許事務所
主分類
G01R
31/392 20190101AFI20250924BHJP(測定;試験)
要約
【課題】効率良く対象電池を再生できる放電処理方法を提供することを目的とする。
【解決手段】放電処理方法は、消耗したリチウムイオン二次電池を放電させ、前記リチウムイオン二次電池の負極から正極にリチウムを移動させる放電ステップと、前記リチウムイオン二次電池を、前記負極にリチウムが戻る割合の少ない、低電圧で充電する充電ステップと、前記低電圧で所定時間、充電したあとの、前記リチウムイオン二次電池の容量を測定する測定ステップと、前記測定された前記リチウムイオン二次電池の容量に基づいて、SOH(State Of Health)を確認する確認ステップと、を備え、前記リチウムイオン二次電池のSOHが、回復限界点に達したところで、前記充電ステップによる充電処理を終了する。
【選択図】図2
特許請求の範囲
【請求項1】
消耗したリチウムイオン二次電池を放電させ、前記リチウムイオン二次電池の負極から正極にリチウムを移動させる放電ステップと、
前記リチウムイオン二次電池を、前記負極にリチウムが戻る割合の少ない、低電圧で充電する充電ステップと、
前記低電圧で所定時間、充電したあとの、前記リチウムイオン二次電池の容量を測定する測定ステップと、
前記測定された前記リチウムイオン二次電池の容量に基づいて、SOH(State Of Health)を確認する確認ステップと、
を備え、
前記リチウムイオン二次電池のSOHが、回復限界点に達したところで、前記充電ステップによる充電処理を終了する、
放電処理方法。
続きを表示(約 640 文字)
【請求項2】
前記リチウムイオン二次電池のSOHと、前記リチウムイオン二次電池の容量と、の相関を表すデータセットを準備し、
前記確認ステップは、
前記リチウムイオン二次電池の容量から、前記データセットを参照して、前記リチウムイオン二次電池のSOHを確認する、
請求項1に記載の放電処理方法。
【請求項3】
充電終了条件を満たしたか否かを判定する判定ステップを備え、
前記充電終了条件を満たしていない場合、前記放電ステップに戻り、前記充電ステップと、前記測定ステップと、前記確認ステップとを繰り返す、
請求項1に記載の放電処理方法。
【請求項4】
前記判定ステップは、
確認された前記SOHが、前記回復限界点に達していない場合、前記充電終了条件を満たしていないと判定する、
請求項3に記載の放電処理方法。
【請求項5】
前記測定ステップは、前記リチウムイオン二次電池の抵抗値を測定し、
前記判定ステップは、前記抵抗値が所定の閾値以下である場合、前記充電終了条件を満たしていないと判定する、
請求項3又は4に記載の放電処理方法。
【請求項6】
前記リチウムイオン二次電池は全固体電池であり、前記負極に金属リチウムを含み、
前記全固体電池を水蒸気により失活させる失活ステップを備える、
請求項1に記載の放電処理方法。
発明の詳細な説明
【技術分野】
【0001】
本発明は、放電処理方法に関する。
続きを表示(約 1,900 文字)
【背景技術】
【0002】
リチウムイオン二次電池には、液体リチウムイオン二次電池や全固体電池がある。リチウムイオン二次電池は、正極材と負極材とセパレータとで構成される。正極材は、負極材が有するリチウムを可逆的に授受することができる。
充電を繰り返すことで正極材は劣化し、リチウムを受容できる量が減少し、電池の容量が低下し、抵抗値が上昇してしまう。
従来、使用済みの正極材を金属リチウムと電気的に接続して、放電処理を行うことで、正極材にリチウムを充填し、正極材のリサイクルを行う技術が知られている(例えば、特許文献1参照)。
【先行技術文献】
【特許文献】
【0003】
特開2021-18856号公報
【発明の概要】
【発明が解決しようとする課題】
【0004】
しかし、特許文献1では、正極を再生するために正極を分離し、リチウム源を用意する必要があるため、放電処理にかかる時間が延び、効率が悪い。また、特許文献1では、充電率が100%になるまで充電し、充電後の容量を確認し、放電処理を終了するか否か判断する必要がある。しかし、この方法では、充電により電池が再び劣化する虞がある。この劣化が発生すると、放電処理にかかる時間が延び、効率が悪い。
本発明は、電池を効率良く再生できる、放電処理方法を提供することを目的とする。
【課題を解決するための手段】
【0005】
本開示の放電処理方法は、消耗したリチウムイオン二次電池を放電させ、前記リチウムイオン二次電池の負極から正極にリチウムを移動させる放電ステップと、前記リチウムイオン二次電池を、前記負極にリチウムが戻る割合の少ない、低電圧で充電する充電ステップと、前記低電圧で所定時間、充電したあとの、前記リチウムイオン二次電池の容量を測定する測定ステップと、前記測定された前記リチウムイオン二次電池の容量に基づいて、SOH(State Of Health)を確認する確認ステップと、を備え、前記リチウムイオン二次電池のSOHが、回復限界点に達したところで、前記充電ステップによる充電処理を終了する。
【発明の効果】
【0006】
本開示の放電処理方法によれば、効率良く対象電池を再生できる。
【図面の簡単な説明】
【0007】
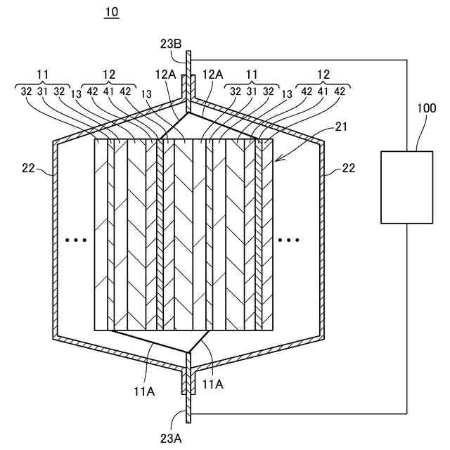
本開示の適用対象の電池の例として対象電池10の構成を示す図である。
対象電池の放電処理方法を示すフローチャートである。
対象電池の充電と放電とのタイミングを示すチャートである。
容量SOHと電圧と容量とのデータセットの一例を示す図である。
電池の容量の推移を模式的に示すグラフである。
【発明を実施するための形態】
【0008】
(実施の形態)
[1.対象電池の構成]
図1は、本開示の適用対象の電池の例として対象電池10の構成を示す図であり、対象電池10の断面を模式的に示す。対象電池10は、充電および放電が可能な二次電池である。本実施形態で説明する対象電池10は、ラミネート材22に電池材料を封入したラミネート型の電池であり、全体として平板形状である。対象電池10は、パウチ型の電池、ラミネート型の電池セル、パウチ型の電池セル、リチウムイオン電池セル、及び、電池モジュール等と言うことができる。
【0009】
対象電池10は、いわゆるリチウムイオン電池と呼ばれる二次電池であり、高エネルギー密度を有する蓄電デバイスとして注目されている。リチウムイオン電池の正極活物質は、例えば、コバルト酸リチウム、ニッケル酸リチウム、マンガン酸リチウム、リン酸鉄リチウムが挙げられる。また、正極活物質として、ニッケル、コバルトおよびマンガンを含む三元系正極材料(NCM)が挙げられる。リチウムイオン電池の負極活物質は、例えば、炭素系材料が用いられる。また、リチウムイオン電池の電解質として固体電解質を用いた、全固体電池が知られている。
【0010】
図1に示すように、対象電池10は、ラミネート材22に積層電極21を収容した構成を有する。ラミネート材22は、例えば、アルミニウム合金やステンレス鋼等の金属材を基材とするラミネートフィルムである。ラミネート材22は、対象電池10の外装体、および、積層電極21を封止する封止体として機能する。
(【0011】以降は省略されています)
この特許をJ-PlatPat(特許庁公式サイト)で参照する
関連特許
本田技研工業株式会社
車両
7日前
本田技研工業株式会社
装置
6日前
本田技研工業株式会社
車両
1か月前
本田技研工業株式会社
モータ
3日前
本田技研工業株式会社
保持装置
今日
本田技研工業株式会社
車両構造
3日前
本田技研工業株式会社
ロボット
29日前
本田技研工業株式会社
バッテリ
今日
本田技研工業株式会社
バッテリ
今日
本田技研工業株式会社
保管装置
1日前
本田技研工業株式会社
保管装置
1日前
本田技研工業株式会社
送電装置
1日前
本田技研工業株式会社
断続装置
1日前
本田技研工業株式会社
内燃機関
6日前
本田技研工業株式会社
受電装置
1日前
本田技研工業株式会社
内燃機関
6日前
本田技研工業株式会社
通知装置
6日前
本田技研工業株式会社
固体電池
1日前
本田技研工業株式会社
電解装置
14日前
本田技研工業株式会社
回転機械
1か月前
本田技研工業株式会社
車両構造
3日前
本田技研工業株式会社
リアクトル
6日前
本田技研工業株式会社
触媒インク
1か月前
本田技研工業株式会社
触媒インク
1か月前
本田技研工業株式会社
鞍乗型車両
13日前
本田技研工業株式会社
電源システム
1日前
本田技研工業株式会社
潤滑システム
1日前
本田技研工業株式会社
動力伝達装置
28日前
本田技研工業株式会社
鞍乗り型車両
1か月前
本田技研工業株式会社
運転制御装置
3日前
本田技研工業株式会社
鞍乗り型車両
23日前
本田技研工業株式会社
クラッチ装置
22日前
本田技研工業株式会社
鞍乗り型車両
21日前
本田技研工業株式会社
分離システム
3日前
本田技研工業株式会社
鞍乗り型車両
今日
本田技研工業株式会社
車両制御装置
15日前
続きを見る
他の特許を見る