TOP
|
特許
|
意匠
|
商標
特許ウォッチ
Twitter
他の特許を見る
公開番号
2025133193
公報種別
公開特許公報(A)
公開日
2025-09-11
出願番号
2024030982
出願日
2024-03-01
発明の名称
鞍乗り型車両
出願人
本田技研工業株式会社
代理人
個人
,
個人
,
個人
主分類
B62M
25/08 20060101AFI20250904BHJP(鉄道以外の路面車両)
要約
【課題】シフトアシスト制御機能を有する鞍乗り型車両の操作性を向上させる。
【解決手段】自動二輪車は、乗員の操作により中立位置からシフトアップ方向またはシフトダウン方向に変位可能なシフトペダル30と、シフトペダル30の操作荷重を検出するシフトストロークセンサ52と、シフトストロークセンサ52の検出結果に基づきシフトチェンジのアシスト制御を行う制御装置60と、を備える。制御装置60は、シフトペダル30がシフトアップ方向に操作されてシフトアップのアシスト制御を実行した後、シフトペダル30が中立位置に復帰してから第1時間はシフトダウンのアシスト制御を禁止し、シフトペダル30がシフトダウン方向に操作されてシフトダウンのアシスト制御を実行した後、シフトペダル30が中立位置に復帰してから第2時間はシフトアップのアシスト制御を禁止する。
【選択図】図4
特許請求の範囲
【請求項1】
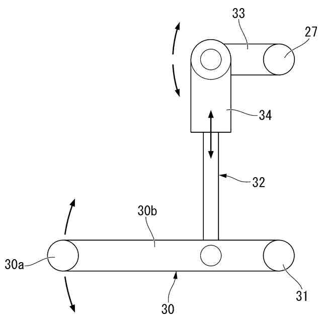
乗員の操作により中立位置からシフトアップ方向またはシフトダウン方向に変位可能なシフト操作部材(30)と、
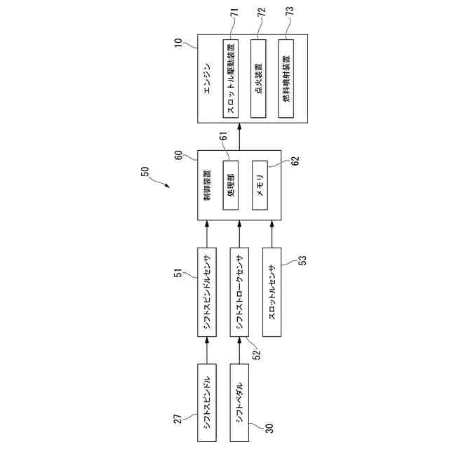
前記シフト操作部材(30)の操作荷重を検出するセンサ(52)と、
前記センサ(52)の検出結果に基づきシフトチェンジのアシスト制御を行う制御装置(60)と、を備え、
前記制御装置(60)は、
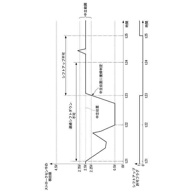
前記シフト操作部材(30)が前記シフトアップ方向に操作されてシフトアップのアシスト制御を実行した後、前記シフト操作部材(30)が前記中立位置に復帰してから第1時間はシフトダウンのアシスト制御を禁止し、
前記シフト操作部材(30)が前記シフトダウン方向に操作されてシフトダウンのアシスト制御を実行した後、前記シフト操作部材(30)が前記中立位置に復帰してから第2時間はシフトアップのアシスト制御を禁止する、
鞍乗り型車両。
続きを表示(約 410 文字)
【請求項2】
前記制御装置(60)は、所定時間を計測するためのタイマーを有し、前記シフト操作部材(30)が前記中立位置から操作されたときに前記タイマーを始動させるとともに、前記タイマーが作動している間は前記シフト操作部材(30)が操作されても同種の連続するシフトチェンジのアシスト制御を禁止する、
請求項1に記載の鞍乗り型車両。
【請求項3】
前記第1時間および前記第2時間は、前記所定時間よりも短い、
請求項2に記載の鞍乗り型車両。
【請求項4】
前記第2時間は、前記第1時間よりも長い、
請求項1から請求項3のいずれか1項に記載の鞍乗り型車両。
【請求項5】
前記センサ(52)は、ストロークセンサであり、
前記制御装置(60)は、前記中立位置に幅を設定する、
請求項1から請求項3のいずれか1項に記載の鞍乗り型車両。
発明の詳細な説明
【技術分野】
【0001】
本発明は、鞍乗り型車両に関するものである。
続きを表示(約 1,900 文字)
【背景技術】
【0002】
クラッチ装置を備えた鞍乗り型車両において、乗員によるクラッチ操作が無くとも円滑な変速操作を可能とするシフトアシスト制御が提案されている。例えば、特許文献1には、運転者のシフトアップ操作を検出すると一時的にエンジンの出力を低下させるギヤシフト装置が開示されている。このギヤシフト装置によれば、運転者がスロットルを開いた状態で、クラッチ操作が無くても円滑に変速機のシフトアップすることが可能となる。
【先行技術文献】
【特許文献】
【0003】
実開平3-114547号公報
【発明の概要】
【発明が解決しようとする課題】
【0004】
しかしながら、従来のシフトアシスト制御では、運転者がシフトペダル等のシフト操作部材を弾くように操作した場合に、シフト操作部材が元の位置に復帰する際の慣性でシフト操作部材に意図しない荷重が加わり、不意にシフトアシスト制御が実行される可能性がある。本願は上記課題の解決のため、シフトアシスト制御機能を有する鞍乗り型車両の操作性の向上を目的としたものである。そして、延いては交通の安全性をより一層改善して持続可能な輸送システムの発展に寄与するものである。
【課題を解決するための手段】
【0005】
本発明の第1の態様に係る鞍乗り型車両は、乗員の操作により中立位置からシフトアップ方向またはシフトダウン方向に変位可能なシフト操作部材(30)と、前記シフト操作部材(30)の操作荷重を検出するセンサ(52)と、前記センサ(52)の検出結果に基づきシフトチェンジのアシスト制御を行う制御装置(60)と、を備え、前記制御装置(60)は、前記シフト操作部材(30)が前記シフトアップ方向に操作されてシフトアップのアシスト制御を実行した後、前記シフト操作部材(30)が前記中立位置に復帰してから第1時間はシフトダウンのアシスト制御を禁止し、前記シフト操作部材(30)が前記シフトダウン方向に操作されてシフトダウンのアシスト制御を実行した後、前記シフト操作部材(30)が前記中立位置に復帰してから第2時間はシフトアップのアシスト制御を禁止する。
【0006】
第1の態様によれば、シフトアップ方向に操作されたシフト操作部材がシフトダウン方向に変位して中立位置に復帰した後、シフト操作部材にシフトダウン方向の慣性が働いてシフト操作部材にシフトダウン方向の荷重が加わっても、制御装置がシフトダウンのアシスト制御を禁止するので、不意にシフトダウンのアシスト制御が実行されることを抑制できる。また、シフトダウン方向に操作されたシフト操作部材がシフトアップ方向に変位して中立位置に復帰した後、シフト操作部材にシフトアップ方向の慣性が働いてシフト操作部材にシフトアップ方向の荷重が加わっても、制御装置がシフトアップのアシスト制御を禁止するので、不意にシフトアップのアシスト制御が実行されることを抑制できる。したがって、不意にシフトチェンジのアシスト制御が実行されることを抑制して、鞍乗り型車両の操作性の向上を図ることができる。
【0007】
本発明の第2の態様に係る鞍乗り型車両は、上記第1の態様に係る鞍乗り型車両において、前記制御装置(60)は、所定時間を計測するためのタイマーを有し、前記シフト操作部材(30)が前記中立位置から操作されたときに前記タイマーを始動させるとともに、前記タイマーが作動している間は前記シフト操作部材(30)が操作されても同種の連続するシフトチェンジのアシスト制御を禁止してもよい。
【0008】
第2の態様によれば、上記のシフト操作部材に作用する慣性による不意のアシスト制御は、同種の連続するシフトチェンジのアシスト制御の禁止とは独立して規制されるので、運転者の意図したシフトチェンジの操作が不要に禁止されることを抑制できる。したがって、運転者の意思を尊重したシフトチェンジのアシスト制御を実行できる。
【0009】
本発明の第3の態様に係る鞍乗り型車両は、上記第2の態様に係る鞍乗り型車両において、前記第1時間および前記第2時間は、前記所定時間よりも短くてもよい。
【0010】
第3の態様によれば、上記のシフト操作部材に作用する慣性による不意のアシスト制御が不要に長い期間にわたって禁止されることを避けて、運転者がシフトチェンジのアシスト制御を効果的に使用することが可能となる。
(【0011】以降は省略されています)
この特許をJ-PlatPat(特許庁公式サイト)で参照する
関連特許
本田技研工業株式会社
装置
11日前
本田技研工業株式会社
車両
12日前
本田技研工業株式会社
モータ
8日前
本田技研工業株式会社
内燃機関
11日前
本田技研工業株式会社
切断装置
4日前
本田技研工業株式会社
会話装置
4日前
本田技研工業株式会社
内燃機関
11日前
本田技研工業株式会社
保持装置
5日前
本田技研工業株式会社
車両構造
8日前
本田技研工業株式会社
車両構造
8日前
本田技研工業株式会社
受電装置
6日前
本田技研工業株式会社
送電装置
6日前
本田技研工業株式会社
断続装置
6日前
本田技研工業株式会社
通知装置
11日前
本田技研工業株式会社
電解装置
19日前
本田技研工業株式会社
ステータ
4日前
本田技研工業株式会社
バッテリ
5日前
本田技研工業株式会社
バッテリ
5日前
本田技研工業株式会社
固体電池
6日前
本田技研工業株式会社
保管装置
6日前
本田技研工業株式会社
保管装置
6日前
本田技研工業株式会社
リンク機構
4日前
本田技研工業株式会社
鞍乗型車両
18日前
本田技研工業株式会社
リアクトル
11日前
本田技研工業株式会社
鞍乗り型車両
5日前
本田技研工業株式会社
分離システム
8日前
本田技研工業株式会社
運転制御装置
8日前
本田技研工業株式会社
電源システム
6日前
本田技研工業株式会社
潤滑システム
6日前
本田技研工業株式会社
車両制御装置
12日前
本田技研工業株式会社
放電処理方法
6日前
本田技研工業株式会社
車両制御装置
20日前
本田技研工業株式会社
潤滑システム
18日前
本田技研工業株式会社
鞍乗り型車両
4日前
本田技研工業株式会社
ガス回収装置
今日
本田技研工業株式会社
車両制御装置
18日前
続きを見る
他の特許を見る