TOP
|
特許
|
意匠
|
商標
特許ウォッチ
Twitter
他の特許を見る
公開番号
2025133047
公報種別
公開特許公報(A)
公開日
2025-09-10
出願番号
2025024605
出願日
2025-02-18
発明の名称
情報処理デバイス、情報処理方法及びプログラム
出願人
国立大学法人 東京大学
代理人
弁理士法人IPX
主分類
H10D
48/40 20250101AFI20250903BHJP()
要約
【課題】より精度の高いリザバーコンピュータを実現する情報処理デバイス、情報処理方法及びプログラムを提供する。
【解決手段】情報処理デバイス1は、入力部5と、磁性体62と、を備え、入力部は、外部からの入力信号S1に応じて変化する交流磁場H
in
を発生させ、磁性体は、所定の磁化方向に沿った自発磁化Mを有するように磁化され、入力部からの交流磁場を印加することにより、第1のモード、第2のモード及び第3のモードのうち、2種類以上のモードを含むスピン波が誘起される。第1のモードは、磁化方向xに沿って伝搬するモードであり、第2のモードは、磁化方向と交差する第1の交差方向yに沿って伝搬するモードであり、第3のモードは、磁化方向及び第1の交差方向の両方に交差する第2の交差方向Zに沿って伝搬するモードである。
【選択図】図1
特許請求の範囲
【請求項1】
情報処理デバイスであって、
入力部と、磁性体とを備え、
前記入力部は、外部からの入力信号に応じて変化する交流磁場を発生させるように構成され、
前記磁性体は、
所定の磁化方向に沿った自発磁化を有するように磁化され、
前記入力部からの前記交流磁場を印加することにより、第1のモード、第2のモード、及び第3のモードのうち、2種類以上のモードを含むスピン波が誘起されるように構成され、
前記第1のモードは、前記磁化方向に沿って伝搬するモードであり、
前記第2のモードは、前記磁化方向と交差する第1の交差方向に沿って伝搬するモードであり、
前記第3のモードは、前記磁化方向及び前記第1の交差方向の両方に交差する第2の交差方向に沿って伝搬するモードである、情報処理デバイス。
続きを表示(約 1,200 文字)
【請求項2】
請求項1に記載の情報処理デバイスにおいて、
前記入力部は、前記磁性体の少なくとも一部に、印加方向に沿って前記交流磁場を印加するように構成され、前記印加方向は、前記磁化方向、前記第1の交差方向、及び前記第2の交差方向のうちの少なくとも2つに交差する、情報処理デバイス。
【請求項3】
請求項1に記載の情報処理デバイスにおいて、
前記入力部は、前記入力信号に応じて入力方向に沿って電気信号を伝達することにより、前記電気信号の時間変化に伴う前記交流磁場を発生させるように構成され、
前記入力方向は、前記磁化方向、前記第1の交差方向、及び前記第2の交差方向のうちの少なくとも2つに交差する、情報処理デバイス。
【請求項4】
請求項3に記載の情報処理デバイスにおいて、
前記磁性体は、前記スピン波が伝搬する第1の領域と、前記第1の領域の外周縁を覆う第2の領域と、前記第1の領域から前記第2の領域に向かって伝搬する前記スピン波を反射又は吸収する境界部とを備える、
情報処理デバイス。
【請求項5】
請求項4に記載の情報処理デバイスにおいて、
さらに外場印加部を備え、
前記外場印加部は、前記入力方向と交差する方向に沿って、前記交流磁場と異なる外部磁場を印加するように構成される、情報処理デバイス。
【請求項6】
請求項1に記載の情報処理デバイスにおいて、
さらに検出部と、抽出部とを備え、
前記検出部は、前記スピン波の伝搬による前記磁性体の内部磁場の時間変化を検出するように構成され、
前記抽出部は、検出された前記磁性体の内部磁場の時間変化から、前記交流磁場の第二次高調波に対応する成分を抽出する、情報処理デバイス。
【請求項7】
情報処理方法であって、
次の各ステップを含み、
磁場生成ステップでは、外部からの入力信号に応じて交流磁場を生成し、
誘起ステップでは、所定の磁化方向に沿った自発磁化を有する磁性体に前記交流磁場を印加することにより、当該磁性体中に第1のモード、第2のモード、及び第3のモードのうち、2種類以上のモードを含むスピン波を誘起し、
前記第1のモードは、前記磁化方向に沿って伝搬するモードであり、
前記第2のモードは、前記磁化方向と交差する第1の交差方向に沿って伝搬するモードであり、
前記第3のモードは、前記磁化方向及び前記第1の交差方向の両方に直交する第2の交差方向に沿って伝搬するモードである、情報処理方法。
【請求項8】
プログラムであって、
コンピュータに、請求項7に記載の情報処理方法の各ステップを実行させる、プログラム。
発明の詳細な説明
【技術分野】
【0001】
本発明は、情報処理デバイス、情報処理方法及びプログラムに関する。
続きを表示(約 2,200 文字)
【背景技術】
【0002】
特許文献1には、多くの相異なるリザバー状態が得られる計算精度の高いリザバー計算用装置に関する技術が開示されている。当該技術に係るリザバー計算用装置は、光源、光源からの光と相互作用する活性層を有するリザバー計算用素子、および光源の光を調光する調光手段を具備し、リザバー計算用素子は光源からの光が活性層の少なくとも一部の領域に届く光透過部を有する。
【先行技術文献】
【特許文献】
【0003】
特開2024-66709号公報
【発明の概要】
【発明が解決しようとする課題】
【0004】
しかし、リザバーコンピューティングでより多様な計算を取り扱うには、入力に対する種々の応答特性が求められる。
【課題を解決するための手段】
【0005】
本発明の一態様によれば、情報処理デバイスであって、入力部と、磁性体とを備え、入力部は、外部からの入力信号に応じて変化する交流磁場を発生させるように構成され、磁性体は、所定の磁化方向に沿った自発磁化を有するように磁化され、入力部からの交流磁場を印加することにより、第1のモード、第2のモード、及び第3のモードのうち、2種類以上のモードを含むスピン波が誘起されるように構成され、第1のモードは、磁化方向に沿って伝搬するモードであり、第2のモードは、磁化方向と交差する第1の交差方向に沿って伝搬するモードであり、第3のモードは、磁化方向及び第1の交差方向の両方に交差する第2の交差方向に沿って伝搬するモードである、情報処理デバイスが提供される。
【0006】
このような構成によれば、より精度の高いリザバーコンピュータを実現することができる。
【図面の簡単な説明】
【0007】
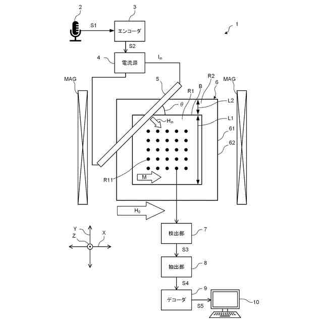
情報処理デバイスの第1実施形態のハードウェア構成の一例を示す図である。
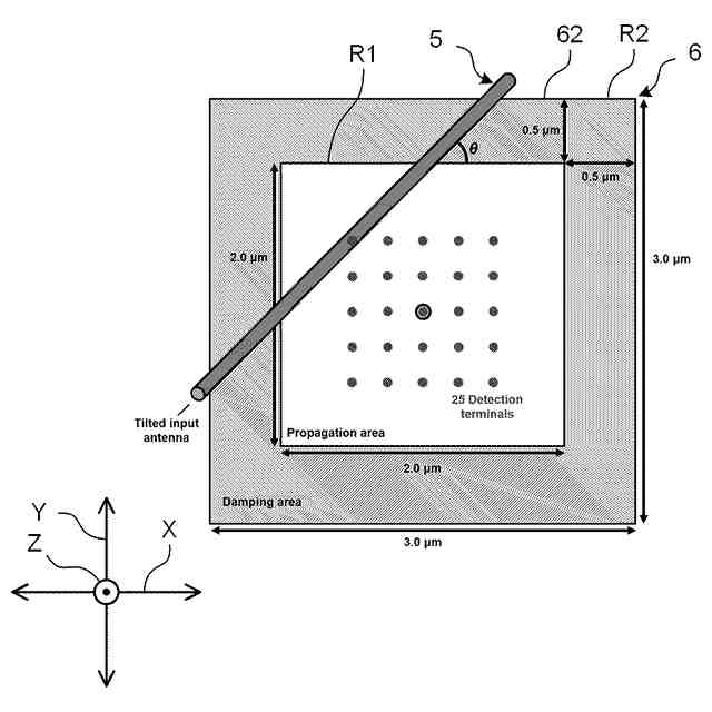
図1に示す情報処理デバイスの第1実施形態の、Y方向からの平面図である。
入力部5を用いたスピン波SWの伝搬態様について説明するための図である。
スピン波の伝搬における異なるモードとして、(a)前進体積スピン波、(b)後退体積スピン波、及び(c)表面スピン波のそれぞれの伝搬態様を示す図である。
図1に示す情報処理デバイス1の磁性体における、交流磁場に対するスピン波SWの伝搬態様の一例を示す図である。
本シミュレーションで用いた情報処理デバイス1を示す図である。
第1実施形態に関するシミュレーションによって得られた、角度θごとの磁性体62のスピンのY成分の分布を示す図である。
中央の検出ターミナルの検出信号の周波数スペクトルの角度θに対する依存性を示す図である。
本シミュレーション上で検出ターミナルからの検出信号に基づきデコーダによって復号化された出力信号S5の波形と、教師データに対応するノコギリ波の波形とを、角度θ=30°,90°のそれぞれの場合について表した図である。
予測信号の二乗平均平方根誤差(RMSE)の角度θへの依存性に関するシミュレーション結果を示す図である。
性能改善指標PIの角度θへの依存性に関するシミュレーション結果を示す図である。
情報処理デバイス1の第2実施形態のハードウェア構成の一例を示す図である。
第2実施形態に関するシミュレーションによって得られた、角度θ'ごとの磁性体62のスピンのY成分の分布を示す図である。
情報処理デバイス1の第2実施形態のNMSEの角度θ'依存性のシミュレーション結果を示す図である。
(a)情報処理デバイス1の第1実施形態の総メモリ能力と、(b)情報処理デバイス1の第2実施形態の総メモリ能力の、それぞれの角度θ'依存性を示す図である。
【発明を実施するための形態】
【0008】
以下、図面を用いて本発明の実施形態について説明する。以下に示す実施形態中で示した各種特徴事項は、互いに組み合わせ可能である。
【0009】
ところで、一実施形態に登場するソフトウェアを実現するためのプログラムは、コンピュータが読み取り可能な非一時的な記録媒体(Non-Transitory Computer-Readable Medium)として提供されてもよいし、外部のサーバからダウンロード可能に提供されてもよいし、外部のコンピュータで当該プログラムを起動させてクライアント端末でその機能を実現(いわゆるクラウドコンピューティング)するように提供されてもよい。
【0010】
また、一実施形態に係る種々の情報処理において、入力と、入力に応じた出力とが実現されうる。ここで、入力の結果として出力が得られれば、かかる情報処理において参照される情報(以下、参照情報と称する。)の態様は、限定されない。参照情報は、例えば、データベース、ルックアップテーブル、所定の関数(統計学的手法によって構築された、回帰式等の判定式を含む。)等のルールベースの情報でもよいし、入力と出力との相関を予め学習させた学習済みモデルでもよいし、プロンプトを入力することで所望の結果を出力可能な大規模言語モデルや視覚言語モデル等の生成AIであってもよい。
(【0011】以降は省略されています)
この特許をJ-PlatPat(特許庁公式サイト)で参照する
関連特許
国立大学法人 東京大学
力センサ
8日前
国立大学法人 東京大学
担持金属触媒
2か月前
国立大学法人 東京大学
ガス処理方法
1か月前
国立大学法人 東京大学
せん妄判定方法
3か月前
国立大学法人 東京大学
コンパレータ回路
1か月前
国立大学法人 東京大学
ビーム追従システム
1か月前
国立大学法人 東京大学
光学装置及びレーザー
4か月前
国立大学法人 東京大学
超音波モータシステム
2か月前
国立大学法人 東京大学
超音波モータシステム
2か月前
国立大学法人 東京大学
超音波モータシステム
2か月前
国立大学法人 東京大学
結晶、及びその製造方法
3か月前
国立大学法人 東京大学
推定装置、及びプログラム
2か月前
国立大学法人 東京大学
肝臓オルガノイド成熟培地
1か月前
国立大学法人 東京大学
テラヘルツ帯同期検波回路
2か月前
国立大学法人 東京大学
接着性細胞の浮遊培養用基材
1か月前
国立大学法人 東京大学
嗅覚受容体の応答感度増強剤
4か月前
国立大学法人 東京大学
読出回路及び磁気メモリ装置
2か月前
NTT株式会社
圧力センサ
2か月前
国立大学法人 東京大学
テラヘルツ波帯位相変調回路
2か月前
国立大学法人 東京大学
酸化腐食抑制能を有する電解液
21日前
国立大学法人 東京大学
情報処理装置、及びプログラム
2か月前
国立大学法人 東京大学
蛍光測定装置及び蛍光測定方法
1日前
国立大学法人 東京大学
ドローンを用いた配送システム
1か月前
ダイキン工業株式会社
冷凍装置
21日前
ダイキン工業株式会社
冷凍装置
21日前
国立大学法人 東京大学
光デバイス及びコヒーレント受信器
2か月前
積水化学工業株式会社
酸素発生剤
2か月前
古河電気工業株式会社
超電導モータ
2か月前
国立大学法人 東京大学
ホウ素含有化合物及びそれを含む医薬
3か月前
国立大学法人 東京大学
通信装置、制御方法、及びプログラム
1か月前
国立大学法人 東京大学
静電容量式センサ及びロボットシステム
3か月前
京セラ株式会社
予測装置及び予測方法
16日前
国立大学法人 東京大学
手指アシスト装置および関節動作支援方法
2か月前
太平洋セメント株式会社
セメント組成物
2か月前
国立大学法人 東京大学
樹脂の製造方法、樹脂、薄膜及び複合薄膜
今日
国立大学法人 東京大学
学習プログラム、情報処理装置及び学習方法
1か月前
続きを見る
他の特許を見る