TOP
|
特許
|
意匠
|
商標
特許ウォッチ
Twitter
他の特許を見る
公開番号
2025132471
公報種別
公開特許公報(A)
公開日
2025-09-10
出願番号
2024030074
出願日
2024-02-29
発明の名称
作業車両
出願人
井関農機株式会社
代理人
弁理士法人新大阪国際特許事務所
主分類
A01C
11/02 20060101AFI20250903BHJP(農業;林業;畜産;狩猟;捕獲;漁業)
要約
【課題】走行車体前部のフロントカバー内にエンジンを搭載した水田作業機がある。フロントカバー内に設けたエアクリーナーの吸気温度が高いとエンジンの馬力ロスになる為、エアクリーナーの吸気温度が低くなるように熱い空気をフロントカバー外に排出する専用の電動ファンを設けていた。そこで、フロントカバー内のエアクリーナーの吸気温度を下げることができる安価で簡潔な構成の作業車両を提供する。
【解決手段】走行車体2のカバー15内にラジエター21、エアクリーナー22及びエンジンを設けた作業車両において、ラジエター21の車体外側方の吸気側にエアクリーナー22の吸気パイプ22a先端部を配置する。
【選択図】図2
特許請求の範囲
【請求項1】
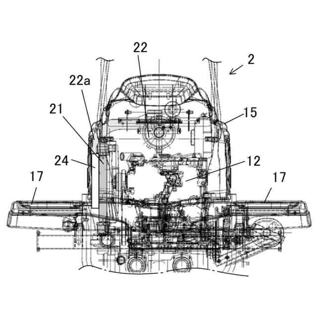
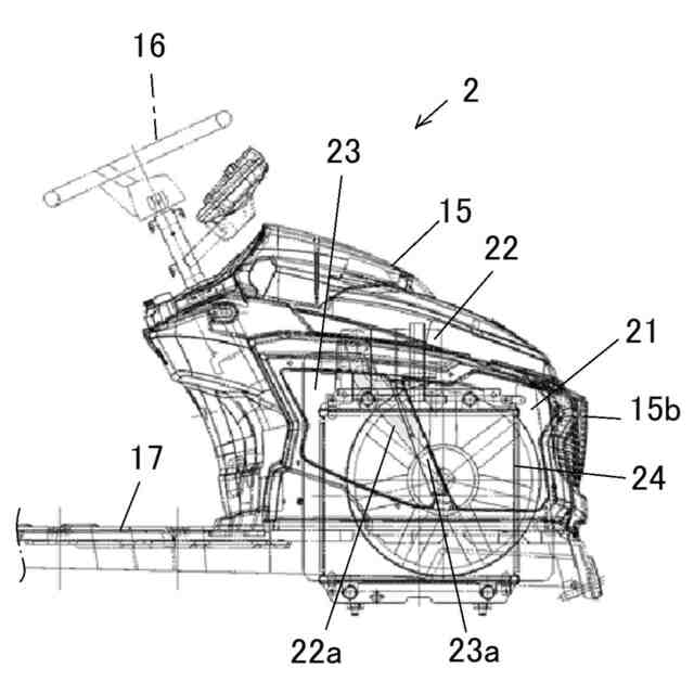
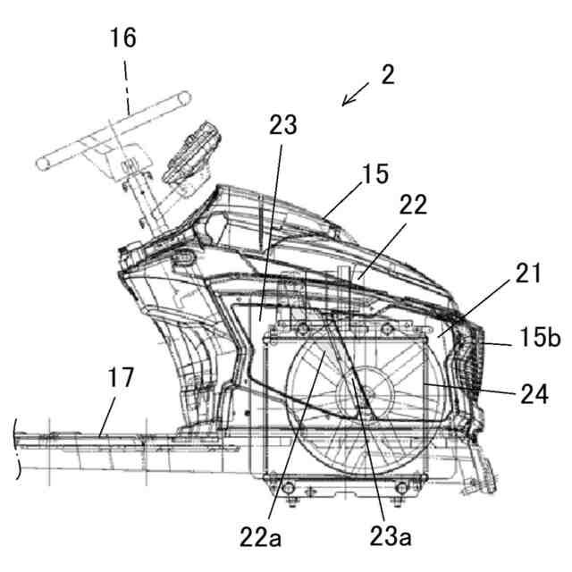
走行車体(2)のカバー(15)内にラジエター(21)、エアクリーナー(22)及びエンジン(12)を設けた作業車両において、ラジエター(21)の車体外側方の吸気側にエアクリーナー(22)の吸気パイプ(22a)先端部を配置したことを特徴とする作業車両。
続きを表示(約 230 文字)
【請求項2】
カバー(15)とラジエター(21)の隙間に下方が開放した遮蔽部材(24)を設け、該遮蔽部材(24)内に吸気パイプ(22a)先端部を配置したことを特徴とする請求項1に記載の作業車両。
【請求項3】
カバー(15)の補強部(23a)に外側から見て被るように吸気パイプ(22a)先端部を設け、吸気パイプ(22a)先端部を外側が長くなるように斜めにカットして開口したことを特徴とする請求項1または請求項2に記載の作業車両。
発明の詳細な説明
【技術分野】
【0001】
本発明は、乗用型田植機等の作業車両に関するものである。
続きを表示(約 950 文字)
【背景技術】
【0002】
走行車体前部のフロントカバー内にエンジンを搭載した水田作業機がある(例えば、特許文献1参照)。
【先行技術文献】
【特許文献】
【0003】
特開2004-357515号公報
【発明の概要】
【発明が解決しようとする課題】
【0004】
フロントカバー内に設けたエアクリーナーの吸気温度が高いとエンジンの馬力ロスになる為、エアクリーナーの吸気温度が低くなるように熱い空気をフロントカバー外に排出する専用の電動ファンを設けていた。
【0005】
本発明は、上記に鑑みてなされたものであって、フロントカバー内のエアクリーナーの吸気温度を下げることができる安価で簡潔な構成の作業車両を提供することを目的とする。
【課題を解決するための手段】
【0006】
請求項1記載の発明は、走行車体2のカバー15内にラジエター21、エアクリーナー22及びエンジン12を設けた作業車両において、ラジエター21の車体外側方の吸気側にエアクリーナー22の吸気パイプ22a先端部を配置した作業車両である。
【0007】
請求項1記載の発明によれば、ラジエター21の車体外側方の吸気側にエアクリーナー22の吸気パイプ22a先端部を配置したので、エアクリーナー22は外気を吸引し、吸気温度を下げた安価で簡潔な構成の作業車両を得ることができる。
【0008】
請求項2記載の発明は、カバー15とラジエター21の隙間に下方が開放した遮蔽部材24を設け、該遮蔽部材24内に吸気パイプ22a先端部を配置した請求項1に記載の作業車両である。
【0009】
請求項2記載の発明によれば、エンジン12の排熱で熱くなった空気が遮蔽部材24にて吸気パイプ22a先端部に来ないようにして、エアクリーナー22が適切に温度の低い空気を吸引することができる。
【0010】
また、遮蔽部材24の下方が開放しているので、下方から温度の低い外気を吸気できて更にエアクリーナー22が温度の低い空気を吸引することができる。
(【0011】以降は省略されています)
この特許をJ-PlatPat(特許庁公式サイト)で参照する
関連特許
井関農機株式会社
作業車両
1か月前
井関農機株式会社
作業車両
1か月前
井関農機株式会社
作業車両
1か月前
井関農機株式会社
作業車両
1か月前
井関農機株式会社
作業車両
1か月前
井関農機株式会社
作業車両
1か月前
井関農機株式会社
作業車両
1か月前
井関農機株式会社
作業車両
1か月前
井関農機株式会社
作業車両
1か月前
井関農機株式会社
苗移植機
6日前
井関農機株式会社
作業車両
1か月前
井関農機株式会社
作業車両
27日前
井関農機株式会社
作業車両
27日前
井関農機株式会社
エンジン
6日前
井関農機株式会社
作業車両
1か月前
井関農機株式会社
作業車両
1か月前
井関農機株式会社
作業車両
14日前
井関農機株式会社
作業車両
14日前
井関農機株式会社
作業車両
6日前
井関農機株式会社
作業車両
6日前
井関農機株式会社
作業車両
6日前
井関農機株式会社
作業車両
6日前
井関農機株式会社
屋外作業車
12日前
井関農機株式会社
コンバイン
1か月前
井関農機株式会社
水田作業機
29日前
井関農機株式会社
圃場作業機
19日前
井関農機株式会社
乗用型苗植機
19日前
井関農機株式会社
歩行型耕運機
1か月前
井関農機株式会社
乗用型苗植機
28日前
井関農機株式会社
根菜類収穫機
1か月前
井関農機株式会社
電動式移植作業車両
1か月前
井関農機株式会社
自動精米洗米炊飯機
19日前
井関農機株式会社
乗用作業車の操縦装置
19日前
井関農機株式会社
農産物の管理システム
1か月前
井関農機株式会社
エンドエフェクターおよび作業車両
7日前
井関農機株式会社
作業車両
1か月前
続きを見る
他の特許を見る