TOP
|
特許
|
意匠
|
商標
特許ウォッチ
Twitter
他の特許を見る
公開番号
2025129367
公報種別
公開特許公報(A)
公開日
2025-09-04
出願番号
2025113884,2021126795
出願日
2025-07-04,2021-08-02
発明の名称
EUVリソグラフィ用ペリクル
出願人
三井化学株式会社
代理人
個人
,
個人
,
個人
,
個人
,
個人
主分類
G03F
1/62 20120101AFI20250828BHJP(写真;映画;光波以外の波を使用する類似技術;電子写真;ホログラフイ)
要約
【課題】EUVリソグラフィにおいて、例えば500℃以上といった高温になってもペリクル膜の剥離が抑制されたペリクルを提供すること。
【解決手段】開口部を有するフレームと、フレームの一方の端面側に、開口部を覆うように展張支持されたペリクル膜と、ペリクル膜を前記フレームに固定するペリクル膜接着剤層と、を備えたペリクルであって、EUVリソグラフィに用いられ、ペリクル膜接着剤層の線膨張係数が0超え20×10
-6
/K以下であることを特徴とするペリクル。
【選択図】図1
特許請求の範囲
【請求項1】
開口部を有するフレームと、前記フレームの一方面側に、前記開口部を覆うように展張支持されたペリクル膜と、前記ペリクル膜を前記フレームに接着するペリクル膜接着剤層と、を備えたペリクルであって、
前記フレームは、チタン、チタン合金、グラファイト(黒鉛)、カーボンナノチューブ、炭素繊維及びガラス状カーボン炭素材料から成る群より選択される少なくとも1種を含み、
EUVリソグラフィに用いられ、前記ペリクル膜接着剤層の線膨張係数が0超え20×10
-6
/K以下であることを特徴とするペリクル。
続きを表示(約 760 文字)
【請求項2】
前記ペリクル膜接着剤層の線膨張係数が0超え15×10
-6
/K以下である、請求項1に記載のペリクル。
【請求項3】
前記ペリクル膜接着剤層が無機接着剤を含んで構成される、請求項1または2に記載のペリクル。
【請求項4】
前記無機接着剤は、ジルコニア、アルミナ及びシリカから成る群より選択される少なくとも1種の材料を含む、請求項3に記載のペリクル。
【請求項5】
前記フレームと前記ペリクル膜接着剤層との線膨張係数の比率(前記フレームの線膨張係数/前記ペリクル膜接着剤層の線膨張係数)が0.4~2.0である、請求項1~4のいずれか1項に記載のペリクル。
【請求項6】
前記ペリクル膜接着剤層の線膨張係数は、前記フレームの線膨張係数以上である、請求項1~4のいずれか1項に記載のペリクル。
【請求項7】
前記ペリクル膜接着剤層の厚みは0.8mm~2.5mmである、請求項1~6のいずれか1項に記載のペリクル。
【請求項8】
前記ペリクル膜は、炭素膜を含む、請求項1~7のいずれか1項に記載のペリクル。
【請求項9】
ペリクルにおける、フレーム及びペリクル膜の間に配されるペリクル膜接着剤であって、
前記ペリクル膜接着剤は、EUVリソグラフィに用いられるペリクルに設けられ、かつ、線膨張係数が0超え20×10
-6
/K以下である、ペリクル膜接着剤。
【請求項10】
フォトマスクに請求項1~
8
のいずれか1項に記載のペリクルが装着されている、ペリクル付フォトマスク。
(【請求項11】以降は省略されています)
発明の詳細な説明
【技術分野】
【0001】
本発明は、EUVリソグラフィ用ペリクルに関するものである。
続きを表示(約 2,300 文字)
【背景技術】
【0002】
大規模集積回路(LSI)、超LSI等の半導体デバイスや液晶表示板等の製造工程では、マスク(露光原板、レチクルともいう)を介して感光層等に光を照射することによってパターニングを行う。その際、マスクに異物が付着していると、光が異物に吸収されたり、異物表面で光が反射されて屈曲したりする。その結果、形成されるパターンが変形したり、エッジががさついたりして、パターニング後の寸法、品質、および外観等が損なわれてしまうといった問題が生じる。
【0003】
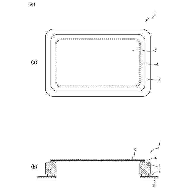
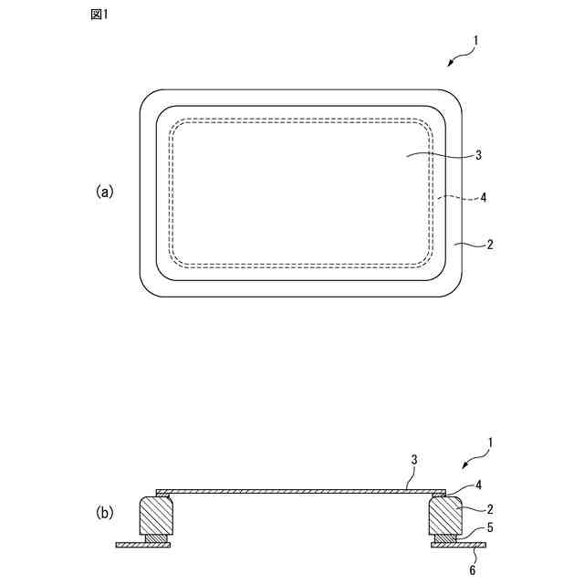
このような問題を解消すべく、マスクの表面に、光を透過するペリクル膜を備えるペリクルを装着し、異物の付着を抑制する方法が採用されている。ペリクルは、一般に、フレーム(ペリクル枠)と、フレームの一面側に配された、透明な薄膜であるペリクル膜と、ペリクル膜をフレームに固定するペリクル膜接着剤層と、フレームの他面側(ペリクル枠のペリクル膜とは反対側)に配された、フォトマスクに貼り付けられるためのマスク粘着層と、を有する(例えば、特許文献1)。
【0004】
リソグラフィに用いる光の波長は短波長化が進み、次世代のリソグラフィ技術としてはEUV(Extreme Ultra Violet)光を用いることが検討されている。EUV光は、軟X線領域又は真空紫外線領域の波長の光を指し、具体的には13.5nm±0.3nm程度の光線を指す。
【0005】
EUV光は、あらゆる物質に対して吸収されやすい。ペリクル膜がEUV光を吸収すると、露光不良の原因となるばかりではなく、EUV光のエネルギーによる発熱によりペリクル膜が損傷してしまう場合がある。
【先行技術文献】
【特許文献】
【0006】
特開2019-113857号公報
【発明の概要】
【発明が解決しようとする課題】
【0007】
例えば、EUV露光では、ペリクル膜が光を吸収し、ペリクル膜の温度が500℃以上に上昇する。500℃以上の高温になるEUV露光環境下では、その際にその熱がペリクル膜接着剤層にも伝わり、ペリクル膜接着剤層の変形や剥がれによりペリクル膜の剥離が起こってしまうという問題があった。
【0008】
本発明は、このような従来の実情に鑑みて提案されたものであり、本発明の目的は、EUVリソグラフィにおいて、例えば500℃以上といった高温になってもペリクル膜の剥離が抑制されたペリクルを提供することにある。
【課題を解決するための手段】
【0009】
[1]
開口部を有するフレームと、前記フレームの一方面側に、前記開口部を覆うように展張支持されたペリクル膜と、前記ペリクル膜を前記フレームに接着するペリクル膜接着剤層と、を備えたペリクルであって、
EUVリソグラフィに用いられ、前記ペリクル膜接着剤層の線膨張係数が0超え20×10
-6
/K以下であることを特徴とするペリクル。
[2]
前記ペリクル膜接着剤層の線膨張係数が0超え15×10
-6
/K以下である、[1]に記載のペリクル。
[3]
前記ペリクル膜接着剤層が無機接着剤を含んで構成される、[1]または[2]に記載のペリクル。
[4]
前記無機接着剤は、ジルコニア、アルミナ及びシリカから成る群より選択される少なくとも1種の材料を含む、[3]に記載のペリクル。
[5]
前記フレームと前記ペリクル膜接着剤層との線膨張係数の比率(前記フレームの線膨張係数/前記ペリクル膜接着剤層の線膨張係数)が0.4~2.0である、[1]~[4]のいずれかに記載のペリクル。
[6]
前記ペリクル膜接着剤層の線膨張係数は、前記フレームの線膨張係数以上である、[1]~[4]のいずれかに記載のペリクル。
[7]
前記ペリクル膜接着剤層の厚みは0.8mm~2.5mmである、[1]~[6]のいずれかに記載のペリクル。
[8]
前記ペリクル膜は、炭素膜を含む、[1]~[7]のいずれかに記載のペリクル。
[9]
前記フレームは、チタン、チタン合金及び炭素材料から成る群より選択される少なくとも1種を含む、[1]~[8]のいずれかに記載のペリクル。
[10]
ペリクルにおける、フレーム及びペリクル膜の間に配されるペリクル膜接着剤であって、
前記ペリクル膜接着剤は、EUVリソグラフィに用いられるペリクルに設けられ、かつ、線膨張係数が0超え20×10
-6
/K以下である、ペリクル膜接着剤。
[11]
フォトマスクに[1]~[9]のいずれかに記載のペリクルが装着されている、ペリクル付フォトマスク。
[12]
[11]に記載のペリクル付フォトマスクによって露光する工程を有する、半導体デバイスの製造方法。
[13]
[11]に記載のペリクル付フォトマスクによって露光する工程を有する、液晶表示板の製造方法。
【発明の効果】
【0010】
本発明によれば、例えば500℃以上といった高温になってもペリクル膜の剥離が抑制されたペリクルを提供することができる。
【図面の簡単な説明】
(【0011】以降は省略されています)
この特許をJ-PlatPat(特許庁公式サイト)で参照する
関連特許
三井化学株式会社
ペレット
23日前
三井化学株式会社
ハンガー
1か月前
三井化学株式会社
混練装置
11日前
三井化学株式会社
手術用器具
3日前
三井化学株式会社
充電コネクタ
2日前
三井化学株式会社
センサユニット
25日前
三井化学株式会社
空中結像システム
4日前
三井化学株式会社
積層体および緩衝材
24日前
三井化学株式会社
ドローン用ブレード
3日前
三井化学株式会社
バックドア及び移動体
2日前
三井化学株式会社
自動車内装材用積層体
2日前
三井化学株式会社
サイドドア及び移動体
23日前
三井化学株式会社
サイドドアおよび移動体
3日前
三井化学株式会社
光学プレートの製造方法
1か月前
三井化学株式会社
サイドドアおよび移動体
3日前
三井化学株式会社
樹脂組成物および接着剤
2日前
三井化学株式会社
光学材料及びその製造方法
13日前
三井化学株式会社
樹脂組成物およびその用途
23日前
三井化学株式会社
重合体組成物および成形体
3日前
三井化学株式会社
アンダーカバー及び移動体
10日前
三井化学株式会社
繊維および繊維の製造方法
4日前
三井化学株式会社
絶縁電線、コイル及びモータ
4日前
三井化学株式会社
熱可塑性エラストマー組成物
3日前
三井化学株式会社
粘着付与剤および粘着性組成物
3日前
三井化学株式会社
極性重合体組成物および成形体
2日前
三井化学株式会社
多孔質膜及び多孔質膜の製造方法
9日前
三井化学株式会社
繊維強化樹脂組成物および成形体
2日前
三井化学株式会社
ポリアミド樹脂組成物および成形体
23日前
三井化学株式会社
積層体、包装材、蓋材およびラベル
3日前
三井化学株式会社
ポリアミド樹脂組成物および成形体
1か月前
三井化学株式会社
合成紙、フィルタ原紙及びフィルタ
1か月前
三井化学株式会社
非水電解液及び非水電解液二次電池
2日前
三井化学株式会社
シートフレーム、シート、及び移動体
9日前
三井化学株式会社
固体組成物及び固体組成物の製造方法
2日前
三井化学株式会社
樹脂組成物および樹脂組成物の架橋体
1か月前
三井化学株式会社
パターン構造付き樹脂硬化物の製造方法
1か月前
続きを見る
他の特許を見る