TOP
|
特許
|
意匠
|
商標
特許ウォッチ
Twitter
他の特許を見る
公開番号
2025126365
公報種別
公開特許公報(A)
公開日
2025-08-29
出願番号
2024022478
出願日
2024-02-19
発明の名称
表示装置
出願人
日本精機株式会社
代理人
主分類
G02B
27/01 20060101AFI20250822BHJP(光学)
要約
【課題】視認者に対して、高い光強度を維持して虚像及び実像を視認させることができるヘッドアップディスプレイ装置を提供する。
【解決手段】開口部17から表示光L1,L2をウィンドウシールドWSに向けて射出することで虚像VI及び実像RIを視認させるヘッドアップディスプレイ装置1であって、第1表示光L1を直線偏光として出射する第1表示器12aと、第2表示光L2を直線偏光として出射する第2表示器12bと、第1表示器12aから出射されて前面から入射された第1表示光L1を反射して直線偏光として出射すると共に、第2表示器12bから出射されて背面から入射された第2表示光L2を透過して略円偏光として出射する反射透過部材132と、反射透過部材132から出射された第1表示光L1又は第2表示光L2をウィンドウシールドWSへ向けて反射する凹面鏡14とを有する。
【選択図】図1
特許請求の範囲
【請求項1】
射出口を有し、前記射出口から表示光を透光部材に向けて射出することで前記表示光が表す表示像の虚像及び実像を視認させるヘッドアップディスプレイ装置であって、
第1表示光を直線偏光として出射する第1表示器と、
第2表示光を直線偏光として出射する第2表示器と、
前記第1表示器から出射されて前面から入射された前記第1表示光を反射して直線偏光として出射すると共に、前記第2表示器から出射されて背面から入射された前記第2表示光を透過して略円偏光として出射する、反射透過部材と、
前記反射透過部材から出射された前記第1表示光又は前記第2表示光を前記透光部材へ向けて反射する凹面鏡と、
を有することを特徴とするヘッドアップディスプレイ装置。
続きを表示(約 1,000 文字)
【請求項2】
前記反射透過部材は、
直線偏光を略円偏光へ変換する1/4λ板と、
前記第1表示光又は前記第2表示光を反射する反射層と、
を有することを特徴とする請求項1記載のヘッドアップディスプレイ装置。
【請求項3】
前記反射層は、直線偏光を反射するとともに略円偏光を透過する第1反射層、若しくは、直線偏光を透過するとともに略円偏光を反射する第2反射層である
ことを特徴とする請求項2記載のヘッドアップディスプレイ装置。
【請求項4】
前記反射層が前記第1反射層の場合は、前記1/4λ板の前面に配置され、前記反射層が前記第2反射層の場合は、前記1/4λ板の背面に配置される
ことを特徴とする請求項3記載のヘッドアップディスプレイ装置。
【請求項5】
前記反射層が前記第1反射層の場合は、直線偏光の半分以上を反射するとともに略円偏光の略半分を透過し、前記反射層が前記第2反射層の場合は、直線偏光の略半分を透過するとともに略円偏光の半分以上を反射する
ことを特徴とする請求項4記載のヘッドアップディスプレイ装置。
【請求項6】
前記第1反射層は、
コールドミラーフィルムであることを特徴とする請求項3乃至請求項5のいずれか1項記載のヘッドアップディスプレイ装置。
【請求項7】
前記第2反射層は、
液晶ポリマーであることを特徴とする請求項3乃至請求項5のいずれか1項記載のヘッドアップディスプレイ装置。
【請求項8】
光路に沿って前記第1表示器と前記反射透過部材との間に、第1表示光の歪みを補正する補正鏡を有する
ことを特徴とする請求項1記載のヘッドアップディスプレイ装置。
【請求項9】
前記第1表示器が前記第1表示光を出射する場合の、前記補正鏡と前記反射透過部材と前記凹面鏡と前記透光部材とを含む結像光学系の光学焦点は、光路に沿って前記第1表示器よりも前記射出口側に位置し、
前記第2表示器が前記第2表示光を出射する場合の、前記反射透過部材と前記凹面鏡と前記透光部材とを含む結合光学系の光学焦点は、光路に沿って前記第2表示器よりも前記射出口とは反対側に位置する
ことを特徴とする請求項8記載のヘッドアップディスプレイ装置。
発明の詳細な説明
【技術分野】
【0001】
本発明は、視認者に対して所望の表示を行うヘッドアップディスプレイ装置に関するものである。
続きを表示(約 1,800 文字)
【背景技術】
【0002】
従来、例えば特許文献1に記載のヘッドアップディスプレイ装置が知られている。このヘッドアップディスプレイ装置は、2つの表示器を有し、一方の表示器の表示光をハーフミラーで透過し、他方の表示器の表示光をハーフミラーで反射することで、それぞれのフロントガラスまでの光路長を異ならせ、2つの表示光に対応する2つの虚像が存在するように運転者に視認させる。
【先行技術文献】
【特許文献】
【0003】
特開2018-039407号公報
【発明の概要】
【発明が解決しようとする課題】
【0004】
しかしながら、上記従来のヘッドアップディスプレイ装置では、表示光がハーフミラーを透過及び反射するときに、それぞれの表示光の光量が約半分に減衰するため、いずれの表示像についても運転者が視認する輝度が低くなるといった問題点があった。
【0005】
そこで、本発明は、上記問題点に鑑みてなされたものであり、視認者に対して、高い光強度を維持して虚像及び実像を視認させることができるヘッドアップディスプレイ装置を提供することを目的とする。
【課題を解決するための手段】
【0006】
本発明は、射出口17を有し、前記射出口17から表示光L1,L2を透光部材WSに向けて射出することで前記表示光L1,L2が表す表示像の虚像VI及び実像RIを視認させるヘッドアップディスプレイ装置1であって、第1表示光L1を直線偏光として出射する第1表示器12aと、第2表示光L2を直線偏光として出射する第2表示器12bと、前記第1表示器12aから出射されて前面から入射された前記第1表示光L1を反射して直線偏光として出射すると共に、前記第2表示器12bから出射されて背面から入射された前記第2表示光L2を透過して略円偏光として出射する、反射透過部材132と、前記反射透過部材132から出射された前記第1表示光L1又は前記第2表示光L2を前記透光部材WSへ向けて反射する凹面鏡14と、を有することを特徴とする。
【発明の効果】
【0007】
本発明によれば、第1表示器から出射される第1表示光と第2表示器から出射される第2表示光とを、それぞれの光強度を高く維持した状態で各表示光が表す表示像を視認者に視認させることができる。
【図面の簡単な説明】
【0008】
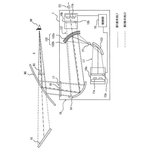
本発明の第1の実施形態に係るヘッドアップディスプレイ装置の構成を示す図。
本発明の第1の実施形態に係るヘッドアップディスプレイ装置において虚像と実像との光強度を従来のハーフミラーを用いた場合と比較した結果を示す図。
本発明の第2の実施形態に係るヘッドアップディスプレイ装置の構成を示す図。
本発明の第2の実施形態に係るヘッドアップディスプレイ装置において虚像と実像との光強度を従来のハーフミラーを用いた場合と比較した結果を示す図。
【発明を実施するための形態】
【0009】
(本発明の第1の実施形態)
本実施形態に係るヘッドアップディスプレイ装置(以下、HUD装置という)について、図1及び図2を用いて説明する。本実施形態に係るHUD装置は、運転者に、ウィンドウシールドを挟んで車内側に実像を視認させると共に、車外側に虚像を視認させるものである。
【0010】
図1は、本実施形態に係るHUD装置の構成を示す図である。図1において、HUD装置1は、例えば可視波長域の光を出す第1光源11aと、当該第1光源11aが出射した光を透過して直線偏光の第1表示光L1として出射し、運転者DRの前方に結像される表示像の実像RIを表示する第1表示器12aと、を少なくとも有する第1PGU(Picture Generation Unit)10aを備える。また、例えば可視波長域の光を出す第2光源11bと、当該第2光源11bが出射した光を透過して直線偏光の第2表示光L2として出射し、運転者DRの前方に結像される表示像の虚像VIを表示する第2表示器12bと、を少なくとも有する第2PGU10bを備える。
(【0011】以降は省略されています)
この特許をJ-PlatPat(特許庁公式サイト)で参照する
関連特許
日本精機株式会社
表示装置
3日前
日本精機株式会社
検出装置
2日前
日本精機株式会社
照明装置
3日前
日本精機株式会社
車載表示装置
16日前
日本精機株式会社
車載表示装置
11日前
日本精機株式会社
運転支援装置
1日前
日本精機株式会社
車載表示装置
9日前
日本精機株式会社
車両用報知装置
15日前
日本精機株式会社
車両用表示装置
9日前
日本精機株式会社
ミラーユニット
9日前
日本精機株式会社
スペックル低減装置
24日前
日本精機株式会社
鞍乗型車両用表示装置
今日
日本精機株式会社
ヘッドアップディスプレイ
3日前
日本精機株式会社
表示装置及びその製造方法
3日前
日本精機株式会社
ヘッドアップディスプレイ
今日
日本精機株式会社
スクリーン反射型表示装置
1日前
日本精機株式会社
ヘッドアップディスプレイ装置
1日前
日本精機株式会社
ヘッドアップディスプレイ装置
今日
日本精機株式会社
ヘッドアップディスプレイ装置
29日前
日本精機株式会社
表示制御装置、表示装置、及び表示制御方法
今日
日本精機株式会社
ヘッドアップディスプレイ装置及び表示制御装置
今日
日本精機株式会社
嚥下異常検出システム、嚥下異常検出装置および嚥下異常検出用プログラム
今日
日本精機株式会社
ヘッドアップディスプレイ装置
24日前
日本精機株式会社
音圧制御装置、及びサウンダーの音圧制御システム、並びにサウンダーの音圧制御方法
17日前
日本精機株式会社
ヘッドアップディスプレイ装置、ヘッドアップディスプレイ装置の制御方法、および表示制御プログラム
17日前
日本精機株式会社
表示制御装置、ヘッドアップディスプレイ装置、表示装置の制御方法、プログラム、および車両用表示システム
17日前
日本精機株式会社
表示制御装置、ヘッドアップディスプレイ装置、表示制御方法、表示制御プログラム、および車両用表示システム
1日前
日本精機株式会社
車両用表示制御装置、ヘッドアップディスプレイ装置、表示制御方法、表示制御プログラム、および車両用表示システム
1日前
個人
立体像表示装置
24日前
住友化学株式会社
偏光板
21日前
カンタツ株式会社
光学系
16日前
株式会社シグマ
結像光学系
今日
株式会社シグマ
結像光学系
10日前
東レ株式会社
積層フィルム
1か月前
住友化学株式会社
垂直偏光板
21日前
東レ株式会社
赤外線遮蔽構成体
24日前
続きを見る
他の特許を見る