TOP
|
特許
|
意匠
|
商標
特許ウォッチ
Twitter
他の特許を見る
公開番号
2025120001
公報種別
公開特許公報(A)
公開日
2025-08-15
出願番号
2024015182
出願日
2024-02-02
発明の名称
温度調節装置
出願人
株式会社KELK
代理人
弁理士法人志賀国際特許事務所
主分類
H01L
21/683 20060101AFI20250807BHJP(基本的電気素子)
要約
【課題】載置面の平面度及び平行度を改善することができる温度調節装置を提供する。
【解決手段】温度調節装置は、温調対象物が載置される載置面を有する載置部と、載置部と第1方向に対向する底部と、載置部と底部との間に配置され、温調対象物の加熱及び冷却が可能な熱源と、底部の外周部に設けられ、載置部を支持する支持部と、載置部と底部との間に配置され、載置部の中心と底部の中心とを位置決めする位置決め部材と、を備え、位置決め部材は、載置部に設けられた第1位置決め部と、底部に設けられた第2位置決め部と、篏合部と、を備え、篏合部は、第1位置決め部に設けられ、第1方向に凹み形成された篏合溝と、第2位置決め部に設けられ、第1方向で篏合溝に向けて突出し、篏合溝に嵌め込まれる篏合突起部と、を備え、篏合突起部は、最大幅部から第1方向で篏合溝の底面側に向かうにしたがって第2方向の幅が小さくなる先細り部を備える。
【選択図】図3
特許請求の範囲
【請求項1】
温調対象物が載置される載置面を有する載置部と、
前記載置部と第1方向に対向する底部と、
前記第1方向で前記載置部と前記底部との間に配置され、前記載置部を介して前記温調対象物の加熱及び冷却が可能な熱源と、
前記底部の外周部に設けられ、前記第1方向で前記載置部側に延びるとともに、前記載置部を支持する支持部と、
前記第1方向で前記載置部と前記底部との間に配置され、前記載置部の中心と前記底部の中心とを位置決めする位置決め部材と、
を備え、
前記位置決め部材は、
前記載置部の中心に設けられた第1位置決め部と、
前記底部の中心に設けられ、前記第1位置決め部と前記第1方向に対向する第2位置決め部と、
前記第1位置決め部と前記第2位置決め部とを篏合する篏合部と、
を備え、
前記篏合部は、
前記第1位置決め部及び前記第2位置決め部の一方に設けられ、前記第1方向に凹み形成された篏合溝と、
前記第1位置決め部及び前記第2位置決め部の他方に設けられ、前記第1方向で前記篏合溝に向けて突出し、前記篏合溝に嵌め込まれる篏合突起部と、
を備え、
前記篏合突起部は、
前記第1方向と直交する第2方向の幅が最も大きい最大幅部を有するとともに、前記最大幅部から前記第1方向で前記篏合溝の底面側に向かうにしたがって前記第2方向の幅が小さくなる先細り部を備える、温度調節装置。
続きを表示(約 390 文字)
【請求項2】
前記先細り部は、前記第1方向の軸線に沿って延び、前記軸線方向で前記篏合溝の底面側に向かうにしたがって、縮径するテーパ状に形成されている、
請求項1に記載の温度調節装置。
【請求項3】
前記篏合溝は、球面状に形成され、
前記篏合突起部の前記篏合溝内に位置する部分の外面は、球面状に形成されている、
請求項1に記載の温度調節装置。
【請求項4】
前記篏合突起部は、球体であり、
前記篏合突起部の前記第1方向で前記篏合溝とは反対側の端部は、前記第1位置決め部及び前記第2位置決め部の他方に埋め込まれている、
請求項3に記載の温度調節装置。
【請求項5】
前記篏合突起部の前記外面の曲率半径は、前記篏合溝の曲率半径よりも小さい、
請求項3又は4に記載の温度調節装置。
発明の詳細な説明
【技術分野】
【0001】
本発明は、温度調節装置に関する。
続きを表示(約 2,000 文字)
【背景技術】
【0002】
半導体の製造装置および検査装置では、ウエハの温度調節を行う温度調節装置が用いられる。
例えば特許文献1には、温度調節装置の一例が開示されている。この温度調節装置は、ウエハを支持する天板と、天板との間において内部空間を形成するように天板に接続されるベース板と、内部空間に配置される熱電モジュールと、を有する。熱電モジュールは、天板の載置面上に載置されるウエハの温度を調節する。天板は、裏面からベース板に突出した凸部を有する。この天板側の凸部の下端面は、ベース板に設けられた凸部の上端面に断熱材を介して接触している。天板は、これらの凸部によって支持され、ベース板に対して固定されている。ウエハの品質を良好に維持するため、ウエハが載置される載置面は、高い精度の平面度及び平行度が求められている。
【先行技術文献】
【特許文献】
【0003】
特開2020-77810号公報
【発明の概要】
【発明が解決しようとする課題】
【0004】
しかしながら、このような温度調節装置では、高温又は低温でウエハの温度を調節する際に、天板とベース板とを位置決め、固定する箇所の部品が熱変形する場合がある。この場合、それらの部品が、熱変形により噛み込んでしまい、天板が斜め方向に持ち上がるような状態となる。これにより、載置面の平面度及び平行度が悪化することが課題とされていた。
【0005】
本発明は上記課題を解決するためになされたものであって、載置面の平面度及び平行度を改善することができる温度調節装置を提供することを目的とする。
【課題を解決するための手段】
【0006】
上記課題を解決するために、本発明に係る温度調節装置は、温調対象物が載置される載置面を有する載置部と、前記載置部と第1方向に対向する底部と、前記第1方向で前記載置部と前記底部との間に配置され、前記載置部を介して前記温調対象物の加熱及び冷却が可能な熱源と、前記底部の外周部に設けられ、前記第1方向で前記載置部側に延びるとともに、前記載置部を支持する支持部と、前記第1方向で前記載置部と前記底部との間に配置され、前記載置部の中心と前記底部の中心とを位置決めする位置決め部材と、を備え、前記位置決め部材は、前記載置部の中心に設けられた第1位置決め部と、前記底部の中心に設けられ、前記第1位置決め部と前記第1方向に対向する第2位置決め部と、前記第1位置決め部と前記第2位置決め部とを篏合する篏合部と、を備え、前記篏合部は、前記第1位置決め部及び前記第2位置決め部の一方に設けられ、前記第1方向に凹み形成された篏合溝と、前記第1位置決め部及び前記第2位置決め部の他方に設けられ、前記第1方向で前記篏合溝に向けて突出し、前記篏合溝に嵌め込まれる篏合突起部と、を備え、前記篏合突起部は、前記第1方向と直交する第2方向の幅が最も大きい最大幅部を有するとともに、前記最大幅部から前記第1方向で前記篏合溝の底面側に向かうにしたがって前記第2方向の幅が小さくなる先細り部を備える。
【発明の効果】
【0007】
本発明によれば、載置面の平面度及び平行度を改善することができる。
【図面の簡単な説明】
【0008】
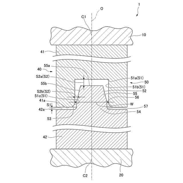
本発明の第1実施形態に係る温度調節装置の平面図である。
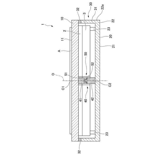
本発明の第1実施形態に係る温度調節装置の断面図である。
本発明の第1実施形態に係る位置決め部材の拡大断面図である。
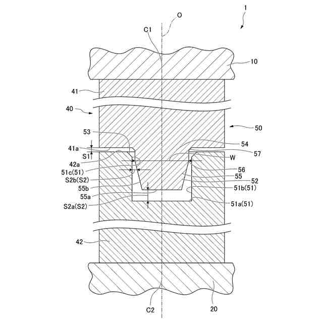
本発明の第1実施形態に係る位置決め部材の拡大斜視図である。
本発明の第1実施形態の変形例に係る位置決め部材の拡大断面図である。
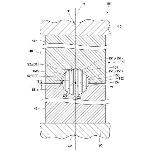
本発明の第2実施形態に係る温度調節装置の断面図である。
本発明の第2実施形態に係る位置決め部材の拡大断面図である。
本発明の第2実施形態に係る位置決め部材の拡大斜視図である。
【発明を実施するための形態】
【0009】
<第1実施形態>
(温度調節装置の構成)
以下、本発明の第1実施形態に係る温度調節装置1について、図1から図4を参照して説明する。図1に示す温度調節装置1は、半導体ウエハ(以下、単にウエハAと称する。)を温度調節しながら、ウエハAに成膜、露光、及びエッチング等を行う。このウエハAは、温調対象物の一例である。
【0010】
図1及び、図2に示すように、温度調節装置1は、例えば円盤状に形成されている。温度調節装置1は、トッププレート10(載置部)と、ボトムプレート20(底部)と、ペルチェモジュール2(熱源)と、クーリングプレート3と、支持部30と、位置決め部材40と、を備える。
(【0011】以降は省略されています)
この特許をJ-PlatPat(特許庁公式サイト)で参照する
関連特許
APB株式会社
蓄電セル
1か月前
東ソー株式会社
絶縁電線
1か月前
ローム株式会社
半導体装置
1か月前
マクセル株式会社
電源装置
24日前
株式会社東芝
端子台
24日前
株式会社GSユアサ
蓄電装置
25日前
富士電機株式会社
電磁接触器
3日前
株式会社GSユアサ
蓄電装置
3日前
株式会社GSユアサ
蓄電装置
17日前
三菱電機株式会社
回路遮断器
11日前
株式会社GSユアサ
蓄電装置
25日前
日本特殊陶業株式会社
保持装置
1か月前
北道電設株式会社
配電具カバー
1か月前
トヨタ自動車株式会社
バッテリ
1か月前
日新イオン機器株式会社
基板処理装置
27日前
トヨタ自動車株式会社
冷却構造
1か月前
トヨタ自動車株式会社
蓄電装置
25日前
日本特殊陶業株式会社
保持装置
16日前
ローム株式会社
半導体モジュール
4日前
住友電装株式会社
コネクタ
3日前
住友電装株式会社
コネクタ
1か月前
ローム株式会社
半導体装置
1か月前
ヒロセ電機株式会社
電気コネクタ
3日前
トヨタ自動車株式会社
電池パック
1か月前
矢崎総業株式会社
コネクタ
3日前
甲神電機株式会社
変流器及び零相変流器
18日前
日本無線株式会社
レーダアンテナ
18日前
株式会社レゾナック
冷却器
11日前
トヨタ自動車株式会社
電池パック
1か月前
トヨタ自動車株式会社
密閉型電池
26日前
日亜化学工業株式会社
半導体レーザ素子
27日前
株式会社デンソー
電子装置
27日前
株式会社デンソー
熱交換部材
18日前
株式会社東芝
高周波回路
1か月前
マクセル株式会社
扁平形電池
1か月前
株式会社半導体エネルギー研究所
二次電池
1か月前
続きを見る
他の特許を見る