TOP
|
特許
|
意匠
|
商標
特許ウォッチ
Twitter
他の特許を見る
10個以上の画像は省略されています。
公開番号
2025110546
公報種別
公開特許公報(A)
公開日
2025-07-29
出願番号
2024004436
出願日
2024-01-16
発明の名称
炭酸塩生成システム
出願人
日東電工株式会社
代理人
弁理士法人青藍国際特許事務所
主分類
C01D
7/00 20060101AFI20250722BHJP(無機化学)
要約
【課題】二酸化炭素を効率的に炭酸塩に変換できる炭酸塩生成システムを提供する。
【解決手段】本発明の炭酸塩生成システム100は、塩基性化合物と二酸化炭素とから炭酸塩を生成する生成部11を備える。生成部11は、分離膜と、当該分離膜によって隔てられた第1空間及び第2空間とを有する。炭酸塩生成システム100の運転時において、第1空間に二酸化炭素が供給され、第2空間に塩基性化合物を含む液体が供給され、二酸化炭素が第1空間から第2空間に分離膜を透過し、第1空間が加圧されている。
【選択図】図1
特許請求の範囲
【請求項1】
塩基性化合物と二酸化炭素とから炭酸塩を生成する生成部を備える炭酸塩生成システムであって、
前記生成部は、分離膜と、前記分離膜によって隔てられた第1空間及び第2空間とを有し、
前記炭酸塩生成システムの運転時において、
前記第1空間に前記二酸化炭素が供給され、
前記第2空間に前記塩基性化合物を含む液体が供給され、
前記二酸化炭素が前記第1空間から前記第2空間に前記分離膜を透過し、
前記第1空間が加圧されている、炭酸塩生成システム。
続きを表示(約 590 文字)
【請求項2】
炭酸塩貯蔵槽をさらに備える、請求項1に記載の炭酸塩生成システム。
【請求項3】
前記生成部で生成された炭酸塩を含む前記液体を前記炭酸塩貯蔵槽へ供給するための第1流路をさらに備える、請求項2に記載の炭酸塩生成システム。
【請求項4】
前記炭酸塩貯蔵槽から排出された前記液体を前記生成部へ供給するための第2流路をさらに備える、請求項3に記載の炭酸塩生成システム。
【請求項5】
前記炭酸塩貯蔵槽から排出された前記液体を、前記第2流路を通じて前記生成部に供給する送液装置をさらに備える、請求項4に記載の炭酸塩生成システム。
【請求項6】
前記分離膜は、中空糸膜又は平膜である、請求項1に記載の炭酸塩生成システム。
【請求項7】
前記塩基性化合物は、水酸化物を含む、請求項1に記載の炭酸塩生成システム。
【請求項8】
前記水酸化物は、水酸化カリウム、水酸化ナトリウム、水酸化マグネシウム、及び水酸化カルシウムからなる群より選択される少なくとも1つである、請求項7に記載の炭酸塩生成システム。
【請求項9】
前記液体は、水を含む、請求項1に記載の炭酸塩生成システム。
【請求項10】
炭酸水素塩を生成する、請求項1に記載の炭酸塩生成システム。
発明の詳細な説明
【技術分野】
【0001】
本発明は、炭酸塩生成システムに関する。
続きを表示(約 1,600 文字)
【背景技術】
【0002】
地球温暖化、化石燃料枯渇の問題の解決手段として、二酸化炭素を有用な化合物へ変換、固定化する技術の開発が望まれている。
【0003】
例えば、特許文献1には、アルカリ溶液に二酸化炭素を吸着させた後、炭酸塩を析出させて二酸化炭素を固定化する二酸化炭素固定化装置が記載されている。
【先行技術文献】
【特許文献】
【0004】
特開2012-96975号公報
【発明の概要】
【発明が解決しようとする課題】
【0005】
炭酸塩の生成方法としては、塩基性溶液に直接二酸化炭素を吹き込むことで炭酸塩を生成する曝気法が一般的である。しかし、曝気法では、効率的に二酸化炭素を炭酸塩に変換できず、供給した二酸化炭素の多くは排出されて無駄になっていた。したがって、従来の炭酸塩生成システムにおいては、効率的に二酸化炭素を変換し、二酸化炭素の排出を抑制する技術が求められている。
【0006】
本発明は、二酸化炭素を効率的に炭酸塩に変換できる炭酸塩生成システムを提供する。
【課題を解決するための手段】
【0007】
本発明は、
塩基性化合物と二酸化炭素とから炭酸塩を生成する生成部を備える炭酸塩生成システムであって、
前記生成部は、分離膜と、前記分離膜によって隔てられた第1空間及び第2空間とを有し、
前記炭酸塩生成システムの運転時において、
前記第1空間に前記二酸化炭素が供給され、
前記第2空間に前記塩基性化合物を含む液体が供給され、
前記二酸化炭素が前記第1空間から前記第2空間に前記分離膜を透過し、
前記第1空間が加圧されている、炭酸塩生成システムを提供する。
【発明の効果】
【0008】
本発明によれば、二酸化炭素を効率的に炭酸塩に変換できる炭酸塩生成システムを提供できる。
【図面の簡単な説明】
【0009】
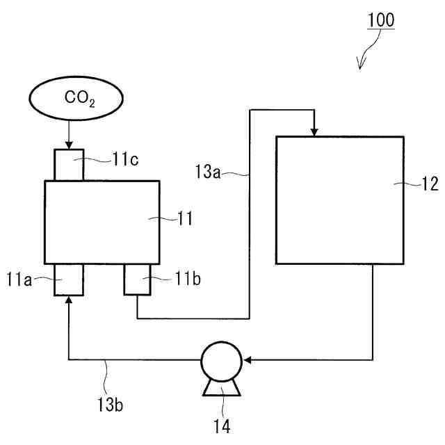
図1は、本実施形態に係る炭酸塩生成システムの構成を示す概略図である。
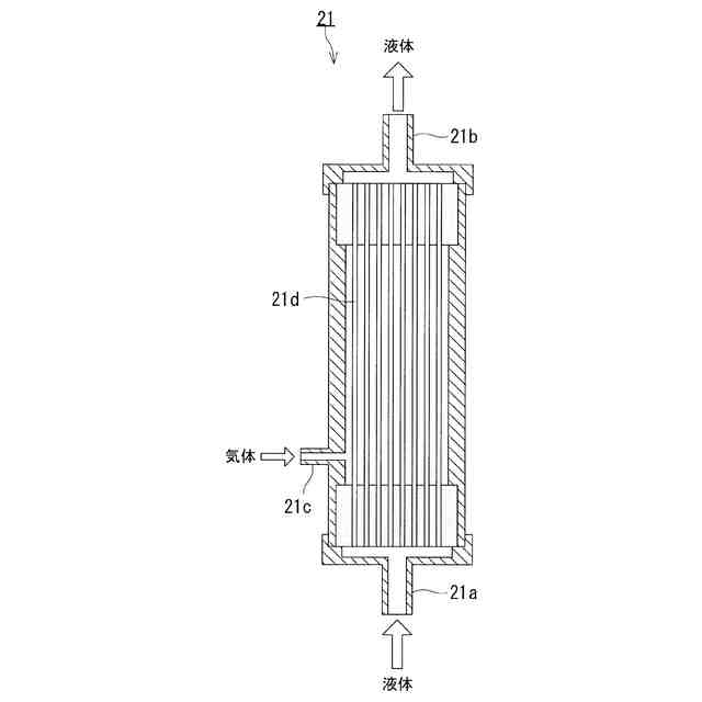
図2Aは、本実施形態に係る炭酸塩生成システムにおける生成部の一例である、中空糸膜を備えた中空糸膜モジュールを模式的に示す断面図である。
図2Bは、本実施形態に係る炭酸塩生成システムにおける生成部の他の例である、平膜を備えた平膜モジュールを模式的に示す断面図である。
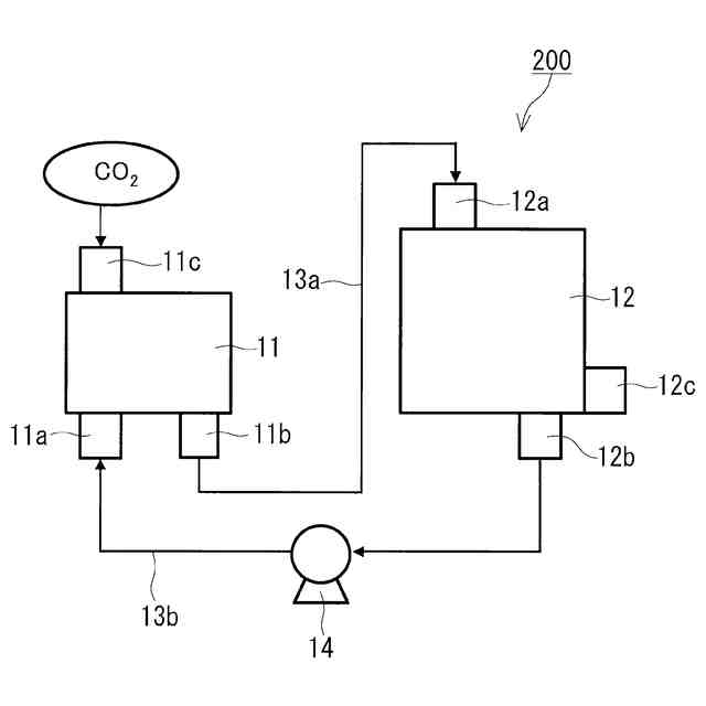
図3は、図1に示された炭酸塩生成システムの一例を示す概略図である。
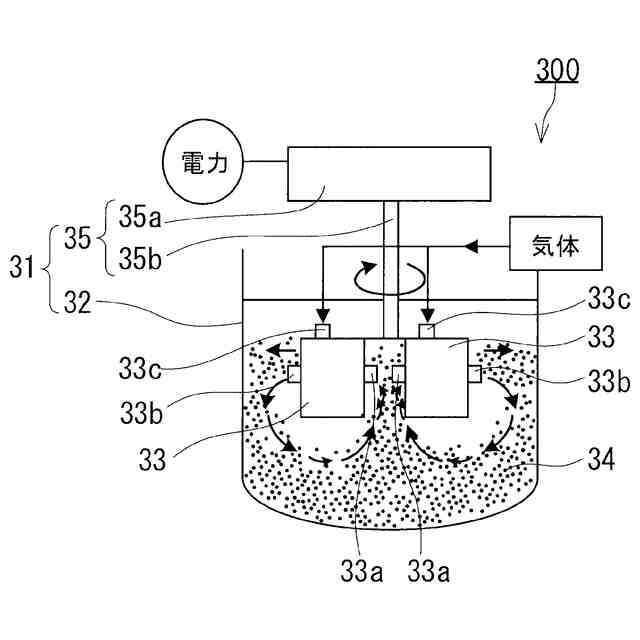
図4は、本実施形態に係る変形例の炭酸塩生成システム300の構成を示す概略図である。
図5は、実施例1で用いた評価用システムの構成を示す概略図である。
図6は、実施例2で用いた評価用システムの構成を示す概略図である。
図7は、参考例1で用いた評価用システムの構成を示す概略図である。
図8は、参考例2で用いた評価用システムの構成を示す概略図である。
【発明を実施するための形態】
【0010】
本発明の第1態様に係る炭酸塩生成システムは、
塩基性化合物と二酸化炭素とから炭酸塩を生成する生成部を備える炭酸塩生成システムであって、
前記生成部は、分離膜と、前記分離膜によって隔てられた第1空間及び第2空間とを有し、
前記炭酸塩生成システムの運転時において、
前記第1空間に前記二酸化炭素が供給され、
前記第2空間に前記塩基性化合物を含む液体が供給され、
前記二酸化炭素が前記第1空間から前記第2空間に前記分離膜を透過し、
前記第1空間が加圧されている。
(【0011】以降は省略されています)
この特許をJ-PlatPat(特許庁公式サイト)で参照する
関連特許
日東電工株式会社
積層体
10日前
日東電工株式会社
吸着材
16日前
日東電工株式会社
電子装置
12日前
日東電工株式会社
照明装置
9日前
日東電工株式会社
シート体
5日前
日東電工株式会社
光ファイバ
11日前
日東電工株式会社
粘着シート
9日前
日東電工株式会社
粘着シート
9日前
日東電工株式会社
粘着剤組成物
11日前
日東電工株式会社
温度測定装置
11日前
日東電工株式会社
温度測定装置
11日前
日東電工株式会社
粘着剤組成物
11日前
日東電工株式会社
配線回路基板
2日前
日東電工株式会社
調光フィルム
10日前
日東電工株式会社
スイッチ装置
9日前
日東電工株式会社
表面保護シート
5日前
日東電工株式会社
反射防止フィルム
16日前
日東電工株式会社
反射防止フィルム
16日前
日東電工株式会社
導光体、及び照明装置
9日前
日東電工株式会社
レンズ及び内視鏡用部材
9日前
日東電工株式会社
分離機能層、及び分離膜
9日前
日東電工株式会社
配線回路基板の製造方法
9日前
日東電工株式会社
積層フィルムの製造方法
10日前
日東電工株式会社
積層フィルムの製造方法
10日前
日東電工株式会社
分離機能層、及び分離膜
5日前
日東電工株式会社
積層光学部材及び光学装置
9日前
日東電工株式会社
高分子分散型液晶フィルム
9日前
日東電工株式会社
ポリマー粒子およびその利用
5日前
日東電工株式会社
粘着剤組成物及び粘着シート
12日前
日東電工株式会社
偏光膜、偏光板および光学積層体
12日前
日東電工株式会社
粘着シートおよびフレキシブルデバイス
9日前
日東電工株式会社
水分散型粘着剤組成物および粘着シート
16日前
日東電工株式会社
架橋ポリマー、分離機能層、及び分離膜
5日前
日東電工株式会社
配線回路基板、及び配線回路基板の製造方法
5日前
日東電工株式会社
多孔質フィルム、通気部材及び部材供給用シート
9日前
日東電工株式会社
配線回路基板、および、配線回路基板の製造方法
5日前
続きを見る
他の特許を見る