TOP
|
特許
|
意匠
|
商標
特許ウォッチ
Twitter
他の特許を見る
10個以上の画像は省略されています。
公開番号
2025077671
公報種別
公開特許公報(A)
公開日
2025-05-19
出願番号
2023190045
出願日
2023-11-07
発明の名称
バウムクーヘンの製造システム
出願人
株式会社デンソーウェーブ
代理人
弁理士法人サトー
主分類
A21B
5/04 20060101AFI20250512BHJP(ベイキング;生地製造または加工の機械あるいは設備;ベイキングの生地)
要約
【課題】バウムクーヘンの製造に関して作業者の負担を軽減する。
【解決手段】バウムクーヘンの製造システムは、芯棒が着脱可能に構成され、芯棒に生地を付けて焼き上げる焼成機と、芯棒を把持可能に構成されたロボットと、を備える。ロボットが、芯棒を焼成機に取付ける取付け動作と、焼き上がったバウムクーヘンが付いた芯棒を焼成機から取り外す取外し動作と、を実行する。
【選択図】図1
特許請求の範囲
【請求項1】
芯棒が着脱可能に構成され、前記芯棒に生地を付けて焼き上げる焼成機と、
前記芯棒を把持可能に構成されたロボットと、を備え、
前記ロボットが、
前記芯棒を前記焼成機に取付ける取付け動作と、
焼き上がったバウムクーヘンが付いた前記芯棒を前記焼成機から取り外す取外し動作と、
を実行する、
バウムクーヘンの製造システム。
続きを表示(約 420 文字)
【請求項2】
前記ロボットは、前記芯棒に塗られた前記生地を均すためのヘラを把持可能に構成され、
前記ロボットが、前記ヘラを把持して前記ヘラで前記芯棒に塗られた前記生地の表面を均す均し動作を更に実行する、
請求項1に記載のバウムクーヘンの製造システム。
【請求項3】
前記ロボットは、容器内に貯められた前記生地を撹拌する撹拌器具を把持可能に構成され、
前記ロボットが、前記撹拌器具を把持して前記撹拌器具で前記容器内に貯められた前記生地を撹拌する撹拌動作を更に実行する、
請求項1に記載のバウムクーヘンの製造システム。
【請求項4】
焼き上がったバウムクーヘンを保管する保管棚を更に備え、
前記ロボットが、前記焼成機から焼き上がった前記バウムクーヘンを取り出して前記保管棚に移載する移載動作を更に実行可能である、
請求項1に記載のバウムクーヘンの製造システム。
発明の詳細な説明
【技術分野】
【0001】
本発明の実施形態は、バウムクーヘンの製造システムに関する。
続きを表示(約 2,600 文字)
【背景技術】
【0002】
バウムクーヘンの製造は、芯棒に生地を何層にも重ねて焼成することから、非常に手間がかかる。また、バウムクーヘンの焼成はオーブンを使用するため、作業者は、オーブンの前で長時間の熱を受ける作業が続く。そして、工場におけるバウムクーヘンの製造は、複数個分のバウムクーヘンを一度に焼き上げることから、焼き上がったバウムクーヘンはかなりの重量を有する。これらから、従来、工場等におけるバウムクーヘンの製造は、かなりの重労働であることが知られている。
【先行技術文献】
【特許文献】
【0003】
特開2021-10333号公報
【発明の概要】
【発明が解決しようとする課題】
【0004】
本発明は上述した事情を鑑みてなされてものであり、その目的は、バウムクーヘンの製造に関して作業者の負担を軽減することができるバウムクーヘンの製造システムを提供することにある。
【課題を解決するための手段】
【0005】
実施形態によるバウムクーヘンの製造システムは、芯棒が着脱可能に構成され、前記芯棒に生地を付けて焼き上げる焼成機と、前記芯棒を把持可能に構成されたロボットと、を備える。前記ロボットが、前記芯棒を前記焼成機に取付ける取付け動作と、焼き上がったバウムクーヘンが付いた前記芯棒を前記焼成機から取り外す取外し動作と、を実行する。
【図面の簡単な説明】
【0006】
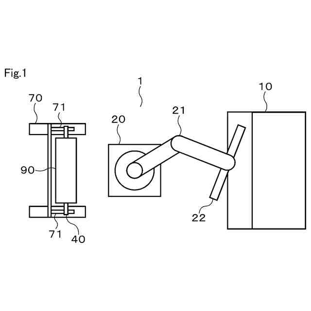
一実施形態によるバウムクーヘンの製造システムの概略構成の一例を示す平面図
一実施形態によるバウムクーヘンの製造システムについて、焼成機の一例を示す断面図
一実施形態によるバウムクーヘンの製造システムについて、焼成機及びロボットの一例を示す断面図
一実施形態によるバウムクーヘンの製造システムについて、(A)はロボットの保持部と芯棒とを示す図、(B)は(A)の4B-4B線に沿って示す断面図
一実施形態によるバウムクーヘンの製造システムについて、(A)はロボットの保持部とヘラとを示す図、(B)は(A)の5B-5B線に沿って示す断面図
一実施形態によるバウムクーヘンの製造システムについて、容器及び撹拌器具の一例を示す斜視図
一実施形態によるバウムクーヘンの製造システムの電気的構成の一例を示すブロック図
一実施形態によるバウムクーヘンの製造システムについて、取付け動作の一例を示す図
一実施形態によるバウムクーヘンの製造システムについて、取付け動作におけるロボットの動きの一例を(A)から(C)の順に経時的に示す図
一実施形態によるバウムクーヘンの製造システムについて、取外し動作の一例を示す図
一実施形態によるバウムクーヘンの製造システムについて、取外し動作におけるロボットの動きの一例を(A)から(C)の順に経時的に示す図
一実施形態によるバウムクーヘンの製造システムについて、均し動作の一例を示す図
一実施形態によるバウムクーヘンの製造システムについて、撹拌動作の一例を示す図
一実施形態によるバウムクーヘンの製造システムについて、移載動作の一例を示す図
一実施形態によるバウムクーヘンの製造システムについて、焼成機で実行される制御内容の一例を示すフローチャート
一実施形態によるバウムクーヘンの製造システムについて、ロボットで実行される制御内容の一例を示すフローチャート
【発明を実施するための形態】
【0007】
以下、一実施形態によるバウムクーヘンの製造システムについて、図面を参照しながら説明する。なお、以下の説明では、バウムクーヘンの製造システムを単に製造システムと称する。本実施形態の製造システムは、ロボットを利用してバウムクーヘンを製造する方法を採用している。図1に示す製造システム1は、例えば工場や飲食店等に設置されて、多数のバウムクーヘンを連続して製造する場面において適用することができる。製造システム1は、図1に示すように、焼成機10及びロボット20を備えている。
【0008】
焼成機10は、図2及び図3に示すように、複数の芯棒40が着脱可能に構成されており、芯棒40に生地91を付けて焼き上げるためのものである。焼成機10は、筐体11、全体回転部12、個別回転部13、加熱部14、容器15、回転駆動部16、及び昇降駆動部17を備えている。筐体11は、焼成機10の外殻を構成しており、例えば断熱性を有して構成されている。全体回転部12、個別回転部13、及び加熱部14は、筐体11内に設けられている。筐体11には、開口部111が形成されている。開口部111は、筐体11の内部と外部とを連通している。芯棒40や焼き上がったバウムクーヘンは、開口部111を通して焼成機10に出し入れされる。焼成機10において、開口部111側が前側となる。また、焼成機10の前後方向に対して水平直角方向を左右方向とする。
【0009】
全体回転部12は、例えば円盤形状に構成されており、筐体11内において左右の側壁に設けられている。全体回転部12は、円盤形状の中心Pを軸に間欠的に回転可能に構成されている。全体回転部12は、全体回転部12の外形の円周に沿って複数の芯棒40を保持可能に構成されている。本実施形態の場合、全体回転部12は、8本の芯棒40を保持可能に構成されている。なお、全体回転部12が保持する芯棒40の数は、9本以上でもよいし、8本未満でもよい。複数の芯棒40を全体回転部12の同心円上に沿って移動させる。全体回転部12は、例えば図3の矢印Aで示すように、各芯棒40を、開口部111側が下から上へ向かう方向へ回転する。
【0010】
全体回転部12の1回の回転量は、全体回転部12に設けられた個別回転部13の数に応じて、すなわち全体回転部12が保持可能な芯棒40の数に応じて設定されている。本実施形態の場合、全体回転部12は、8本の芯棒40を保持可能に構成されていることから、全体回転部12の1回の回転量は45°に設定されている。
(【0011】以降は省略されています)
この特許をJ-PlatPat(特許庁公式サイト)で参照する
関連特許
個人
調理用ガス窯
17日前
個人
装飾ケーキの製造方法
2か月前
不二製油株式会社
パン類の製造方法
11日前
理研ビタミン株式会社
ケーキの製造方法
7か月前
学校法人甲子園学院
カヌレの製造法
4か月前
不二製油株式会社
食物繊維含有ペストリー類
11日前
個人
クッキーの製造方法
7か月前
エムケー精工株式会社
羽根および食品調整装置
8か月前
不二製油株式会社
焼成後冷凍複合ベーカリー食品
4日前
日本製紙株式会社
菓子用スポンジ生地
14日前
日清食品ホールディングス株式会社
麺帯カット装置
6か月前
三鈴工機株式会社
トロエレベータ
8か月前
日清食品ホールディングス株式会社
麺線群の搬送装置
3日前
日清食品ホールディングス株式会社
麺帯の厚み測定装置
6か月前
日清製粉株式会社
ベーカリー食品の製造方法
6か月前
日清製粉株式会社
ベーカリー食品の製造方法
4日前
個人
多重積層パイ生地を用いた焼き菓子の製造方法
3か月前
日清製粉株式会社
ベーカリー食品の製造方法
6か月前
株式会社カネカ
冷凍用パン生地
6か月前
株式会社ニチレイフーズ
麺食品を製造する方法
8か月前
株式会社 不二商会
バウムクーヘン自動焼成システム
3か月前
株式会社オシキリ
焼成装置、焼成制御方法、プログラム
1か月前
地方独立行政法人 岩手県工業技術センター
菓子成型器
5か月前
日油株式会社
製菓用改質剤
8か月前
株式会社ADEKA
練りパイ用添加剤
4か月前
松谷化学工業株式会社
パン類、及びパン類の伸びを増大させる方法
6か月前
三菱商事ライフサイエンス株式会社
多加水パンに添加できる発酵種
2か月前
株式会社ADEKA
冷凍パン生地改良剤
4か月前
日清食品ホールディングス株式会社
麺線群のウエーブの自動形成装置
3日前
日油株式会社
ピザ生地用改質剤
6か月前
株式会社カネカ
多加水パン生地用改良剤
4日前
株式会社カネカ
多加水パン生地用改良剤
4日前
日清食品ホールディングス株式会社
麺線群の蒸煮・搬送装置及び蒸煮方法
6か月前
日清製粉株式会社
ベーカリー食品用小麦粉
6か月前
株式会社飯田製作所
串刺食品製造装置および串刺食品製造システム
6か月前
日油株式会社
製菓用グルテン改質剤
4日前
続きを見る
他の特許を見る