TOP
|
特許
|
意匠
|
商標
特許ウォッチ
Twitter
他の特許を見る
公開番号
2025011587
公報種別
公開特許公報(A)
公開日
2025-01-24
出願番号
2023113780
出願日
2023-07-11
発明の名称
トロエレベータ
出願人
三鈴工機株式会社
代理人
個人
,
個人
,
個人
主分類
A21C
9/00 20060101AFI20250117BHJP(ベイキング;生地製造または加工の機械あるいは設備;ベイキングの生地)
要約
【課題】検知センサーの作動により、実際に容器ホルダが傾く前に、容器ホルダの昇降を停止する。
【解決手段】縦方向に平行に設けた縦フレーム11と、被収納物を収納するパン生地用容器(ドウボックス)31と、縦フレーム11間で、パン生地用容器(ドウボックス)31を保持する容器ホルダ32と、縦フレーム11にそれぞれ設け、軸回転により容器ホルダ32を昇降する回転軸(スクリュー)12と、容器ホルダ32の傾斜を検知し、警告を伝送する検知センサー41と、を備え、検知センサー41は、それぞれの回転軸(スクリュー)12の回転を検出し、回転軸(スクリュー)12の回転検出が、どちらかだけになったら、容器ホルダの傾斜と検知し、警告を伝送する、ことを特徴とするトロエレベータ。
【選択図】図5
特許請求の範囲
【請求項1】
縦方向に平行に設けた縦フレームと、
被収納物を収納するパン生地用容器(ドウボックス)と、
縦フレーム間で、パン生地用容器(ドウボックス)を保持する容器ホルダと、
縦フレームにそれぞれ設け、軸回転により容器ホルダを昇降する回転軸と、
容器ホルダの傾斜を検知し、警告を伝送する検知センサー
を備えることを特徴とするトロエレベータ。
続きを表示(約 220 文字)
【請求項2】
回転軸の回転を検出し、
回転軸の回転検出ができなくなったら、容器ホルダの傾斜と検知し、警告を伝送する検知センサー
を備えることを特徴とする請求項1記載のトロエレベータ。
【請求項3】
それぞれの回転軸の回転を検出し、
回転軸の回転検出が、どちらかだけになったら、容器ホルダの傾斜と検知し、警告を伝送する検知センサー
を備えることを特徴とする請求項1記載のトロエレベータ。
発明の詳細な説明
【技術分野】
【0001】
本発明はトロエレベータに係る。詳細には、トロエレベータ安全装置にかかる。更に詳細には、パン生地(ドウ)はパン生地用容器(ドウボックス)に収納して搬送するが、パン生地用容器を昇降するに使用する容器ホルダ(昇降台)を昇降するトロエレベータにおいて、容器ホルダの傾きを検知し、トロエレベータの駆動を停止するトロエレベータの安全装置に係る。
続きを表示(約 1,800 文字)
【背景技術】
【0002】
動力伝達部を構成する部品が損傷等した際に容器ホルダの昇降を停止させることで、部品の損傷等を迅速に把握でき且つ重大な人身事故の発生を防止するとされるリフターとして、特許文献1記載発明が知られている。
同発明は、「左右のコラムと、左右の前記コラムの間に配置されて容器を保持する容器ホルダと、を備え、左右の前記コラムには、スクリューシャフトが回転可能に設けられており、前記スクリューシャフトには、前記容器ホルダに連結されるスクリューナットが螺合されており、動力伝達部により1つのモータの動力を左右の前記コラムの各前記スクリューシャフトに伝達して各前記スクリューシャフトの回転により前記容器ホルダを昇降させるリフターであって、
前記容器ホルダの側面には、ボスが設けられており、
前記スクリューナットに取り付けられるナットハウジングの外周面には、前記ボスの中心孔に嵌入される支持軸が設けられており、
前記ボスに対する前記支持軸の嵌入長さが80~120mmであり、
前記動力伝達部を構成する部品が損傷した際に左右の前記コラムにおいて一方の前記スクリューシャフトのみに前記モータの動力が伝達される状況において、前記容器ホルダが水平に対して傾いた状態で停止されることを特徴とするリフター。」からなる。
【先行技術文献】
【特許文献】
【0003】
特許第7150367号公報
【発明の概要】
【発明が解決しようとする課題】
【0004】
特許文献1記載発明に係るリフターでは、容器ホルダが水平に対して傾いた状態で停止する。すなわち、容器ホルダが水平に対して傾かないと停止しなかった。
【課題を解決するための手段】
【0005】
この発明のトロエレベータは、
縦方向に平行に設けた縦フレームと、
被収納物を収納するパン生地用容器(ドウボックス)と、
縦フレーム間で、パン生地用容器(ドウボックス)を保持する容器ホルダと、
縦フレームにそれぞれ設け、軸回転により容器ホルダを昇降する回転軸(スクリュー)と、
容器ホルダの傾斜を検知し、警告を伝送する検知センサー
を備える。
【0006】
この発明のトロエレベータは、更に、
回転軸(スクリュー)の回転を検出し、
回転軸の回転検出ができなくなったら、容器ホルダの傾斜と検知し、警告を伝送する検知センサー
を備える。
【0007】
この発明のトロエレベータは、更に、
それぞれの回転軸の回転を検出し、
回転軸の回転検出が、どちらかだけになったら、容器ホルダ(昇降台)の傾斜と検知し、警告を伝送する検知センサー
を備える。
【発明の効果】
【0008】
検知センサーの作動により、実際に容器ホルダが傾く前に、すなわち、容器ホルダが水平に対して傾いた状態で停止する前に、容器ホルダの昇降を停止する。
【図面の簡単な説明】
【0009】
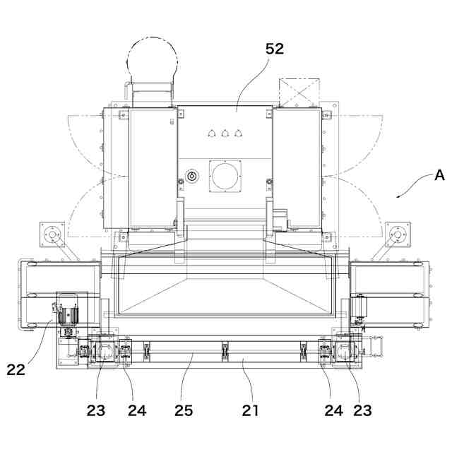
この発明の実施の形態に構成されたトロエレベータの正面図である。
この発明の実施の形態に構成されたトロエレベータの左側面図である。
この発明の実施の形態に構成されたトロエレベータの右側面図である。
この発明の実施の形態に構成されたトロエレベータの平面図である。
この発明の実施の形態に係るトロエレベータの正面図である。
この発明の実施の形態に係るトロエレベータの図5の右側面図である。
【発明を実施するための形態】
【0010】
図面にしたがって、この発明の実施例について説明する。
Aは、この発明の実施例に係るトロエレベータである。
11は、縦フレームである。縦フレーム11は、コラムともいう。縦フレーム11は、2本からなり、相互に平行に垂直に立て、例えば食品工場内のパン生地(ドウ)搬送ラインに設置する。12は、回転軸(スクリュー)である。回転軸(スクリュー)12は、縦フレーム11内を上下に貫通させる。
21は、横フレームである。横フレーム21は、縦フレーム11間を上部で連結する。
(【0011】以降は省略されています)
この特許をJ-PlatPat(特許庁公式サイト)で参照する
関連特許
三鈴工機株式会社
トロエレベータ
9か月前
個人
調理用ガス窯
29日前
個人
装飾ケーキの製造方法
2か月前
不二製油株式会社
パン類の製造方法
23日前
理研ビタミン株式会社
ケーキの製造方法
7か月前
学校法人甲子園学院
カヌレの製造法
4か月前
不二製油株式会社
食物繊維含有ペストリー類
23日前
個人
クッキーの製造方法
8か月前
エムケー精工株式会社
羽根および食品調整装置
8か月前
不二製油株式会社
焼成後冷凍複合ベーカリー食品
16日前
日清食品ホールディングス株式会社
麺帯カット装置
6か月前
日本製紙株式会社
菓子用スポンジ生地
26日前
日清食品ホールディングス株式会社
麺線群の搬送装置
15日前
日清食品ホールディングス株式会社
麺帯の厚み測定装置
6か月前
日清製粉株式会社
ベーカリー食品の製造方法
6か月前
日清製粉株式会社
ベーカリー食品の製造方法
6か月前
日清製粉株式会社
ベーカリー食品の製造方法
16日前
個人
多重積層パイ生地を用いた焼き菓子の製造方法
3か月前
株式会社カネカ
冷凍用パン生地
6か月前
株式会社 不二商会
バウムクーヘン自動焼成システム
3か月前
株式会社ニチレイフーズ
麺食品を製造する方法
8か月前
株式会社オシキリ
焼成装置、焼成制御方法、プログラム
2か月前
地方独立行政法人 岩手県工業技術センター
菓子成型器
6か月前
株式会社ADEKA
練りパイ用添加剤
4か月前
日油株式会社
製菓用改質剤
8か月前
株式会社ADEKA
冷凍パン生地改良剤
4か月前
三菱商事ライフサイエンス株式会社
多加水パンに添加できる発酵種
3か月前
松谷化学工業株式会社
パン類、及びパン類の伸びを増大させる方法
6か月前
ナガセヴィータ株式会社
シュー生地
2日前
株式会社カネカ
多加水パン生地用改良剤
16日前
株式会社カネカ
多加水パン生地用改良剤
16日前
日油株式会社
ピザ生地用改質剤
6か月前
日清食品ホールディングス株式会社
麺線群のウエーブの自動形成装置
15日前
株式会社飯田製作所
串刺食品製造装置および串刺食品製造システム
7か月前
日清食品ホールディングス株式会社
麺線群の蒸煮・搬送装置及び蒸煮方法
6か月前
日清製粉株式会社
ベーカリー食品用小麦粉
6か月前
続きを見る
他の特許を見る