TOP
|
特許
|
意匠
|
商標
特許ウォッチ
Twitter
他の特許を見る
10個以上の画像は省略されています。
公開番号
2025139038
公報種別
公開特許公報(A)
公開日
2025-09-26
出願番号
2024037755
出願日
2024-03-12
発明の名称
調理用ガス窯
出願人
個人
代理人
個人
主分類
A21B
5/00 20060101AFI20250918BHJP(ベイキング;生地製造または加工の機械あるいは設備;ベイキングの生地)
要約
【課題】被調理物を熱効率良く、短時間に焼くのに好適な調理用ガス窯に関する。
【解決手段】炉床81と、入口を有する炉室16を前記炉床上に形成する窯本体13と、前記炉室内に火炎85を発生させるバーナー83と、を備え、被調理物は前記炉室内の前記炉床の上面の被調理物領域に置かれる調理用ガス窯100であって、上端および下端が開口し、筒側面下部に下部開口部63を有する筒状の炉室内煙突筒本体62を更に備え、前記炉室内煙突筒本体は、前記バーナーが発生させる火炎を囲み、前記下端が前記炉床に接しまたは近接し、前記下部開口部が前記被調理物領域に面するように配置される調理用ガス窯。
【選択図】図2
特許請求の範囲
【請求項1】
炉床と、
入口を有する炉室を前記炉床上に形成する窯本体と、
前記炉室内に火炎を発生させるバーナーと、を備え、
被調理物は前記炉室内の前記炉床の上面の被調理物領域に置かれる調理用ガス窯であって、
上端および下端が開口し、筒側面下部に下部開口部を有する筒状の炉室内煙突筒本体を更に備え、
前記炉室内煙突筒本体は、前記バーナーが発生させる火炎を囲み、前記下端が前記炉床に接しまたは近接し、前記下部開口部が前記被調理物領域に面するように配置されることを特徴とする調理用ガス窯。
続きを表示(約 540 文字)
【請求項2】
前記炉室内煙突筒本体は、前記下部開口部の上方の筒側面に光が通過する光通過部を有することを特徴とする請求項1に記載の調理用ガス窯。
【請求項3】
一端である延長通路入口が前記被調理物領域の方に略水平方向に開口し、他端が前記下部開口部に連通する延長通路を形成する延長通路形成体を更に備えることを特徴とする請求項1又は2に記載の調理用ガス窯。
【請求項4】
前記延長通路入口は前記炉床の上方に位置することを特徴とする請求項3に記載の調理用ガス窯。
【請求項5】
前記延長通路に配置され、前記延長通路入口に引き込まれる燃焼ガスの速度を幅方向にわたって調整する流速調整体を更に備えることを特徴とする請求項3に記載の調理用ガス窯。
【請求項6】
前記流速調整体は、前記延長通路の両側面に略平行に配置される一対の側面仕切板と、一方が前記延長通路入口の中央から前記下部開口部に向けて前記一対の側面仕切板の一方に近づくように配置され、他方が前記延長通路入口の中央から前記下部開口部に向けて前記一対の側面仕切板の他方に近づくように配置される一対の中央仕切板を備えることを特徴とする請求項5に記載の調理用ガス窯。
発明の詳細な説明
【技術分野】
【0001】
本発明は被調理物を熱効率良く、短時間に焼くのに好適な調理用ガス窯に関する。
続きを表示(約 3,700 文字)
【背景技術】
【0002】
美味しいピザを焼くために、様々な石窯と調理用ガス窯が考案されてきた。一例として、ピザを高温で素早く焼き、仕上がり状態を確認するために、炉室の上部を二重構造にして排気空間を形成し、排気空間の側部下端に炉室に開口する排気吸入口を形成し、排気空間は煙突に連通し、燃焼ガスは煙突から排気され、炉床の側部にバーナーが設置される調理用ガス窯がある(特許文献1)。他の例では、焼成窯の焼成部の温度が食品の焼成が可能な温度に達するまでは、火力が強いブラスト燃焼で加熱し、窯昇温後の温度の維持と食品の焼成を火力が弱い赤火燃焼で行うことで、焼成作業の効率及び燃費性能に優れ、ピザ等の焼き調理を行う食品の焼成用として好適な食品用焼成窯がある。その食品用焼成窯では、燃焼ガスは入口を出て前面上部のフードから煙突に吸い込まれて排気される(特許文献2)。
【0003】
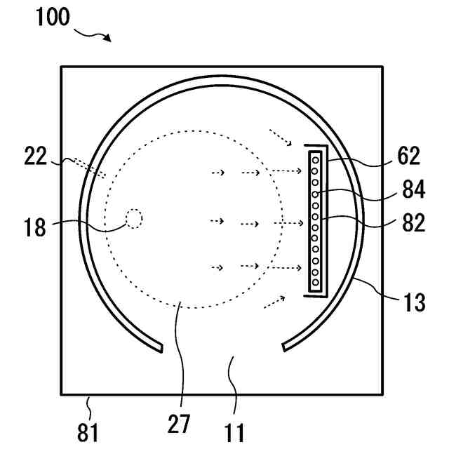
図11は従来の調理用ガス窯800の正面図であり、図12は調理用ガス窯800の側面図である。図13は図12のB-B断面図である。調理用ガス窯800は、炉床開口部82を有する炉床81と、入口11を有する炉室16を炉床81上に形成する窯本体13と、煙突12と、バーナー83と、バーナー83を制御するコントローラ21と、を備える。煙突12の排気通路14の下端が排気口18である。火炎85を発生させるバーナー83は炉床開口部82に配置される。バーナー83は、空気と燃料の混合ガスが噴出される複数の炎孔からなる炎孔84を有する。炎孔84は、火炎85の下部が炉床81の上面の位置になるように、炉床開口部82に配置される。温度センサー22の温度検出部は、炉室16内の所定の位置(炉床81の少し上の、入口11と炎孔84から離れた位置)に配置される。温度センサー22が検出した温度を炉室温度と呼ぶ。炉室温度はコントローラ21付近に表示される。
【0004】
特許文献1と2から分かるように、従来の調理用ガス窯には様々な燃焼ガスの排気構造(排気口の位置、排気経路等)があるが、調理用ガス窯800では、排気口18は炉室16の中央に対して炎孔84の反対側に配置され、入口11は排気口18と炎孔84から略等距離の位置に配置される。また、特許文献1および2と調理用ガス窯800から分かるように、様々な排気構造が実用化されているが、いずれの排気構造においても、排気口と被調理物との垂直距離および水平距離が大きい。更に、調理時において、炉床から下方への放熱が大きく、炉床の上方の燃焼ガスの垂直方向の温度勾配が大きいので、排気構造は被調理物の上の燃焼ガスの温度と流れにあまり影響を及ぼさない。つまり、排気構造は被調理物の焼け具合にあまり影響を及ぼさない。一方、入口付近の、炉室内の燃焼ガスと外気との大きい温度差により生じる強い対流は、入口付近を冷やすので、入口付近の被調理物の焼け具合に影響を及ぼす。従って、炎孔と排気口と入口の位置は、入口付近の対流の影響を考慮して決められるのが好ましい。
【0005】
調理用ガス窯800の予熱の後半以降、炉床81と被調理物は、主に、火炎85および窯本体13の炉壁からの赤外線の照射と、炉床81の上の燃焼ガスの対流との対流熱伝達によって加熱される。赤外線の照射の強さは熱源の温度と熱源との距離に非常に強く依存し、更に熱源の面積にも依存する。火炎85の温度は窯本体13の炉壁の温度より遥かに高く、被調理物と火炎85との距離は、被調理物と窯本体13の炉壁との距離より小さいので、火炎85の面積は窯本体13の炉壁の面積より小さいが、炉床81と被調理物は主に火炎85からの赤外線の照射で加熱される。また、赤外線の照射の方向に直交な被調理物の外縁は、赤外線の照射を多く受ける。従って、火炎85に近い被調理物の外縁は過剰な焼け過ぎが起こり易い。
【0006】
図13の実線と破線の矢印は、予熱の後半以降の略定常状態(炉室16内の燃焼ガスの流れと温度の時間的変化が小さい状態)における、炉室16内の主な燃焼ガスの流れを示したものである。実線の矢印は燃焼により生成され、排気される燃焼ガスの流れを示す。外部の空気と燃料はバーナー83に取り込まれ、空気と燃料の混合ガスが炎孔84から噴出され、燃焼し、火炎85が発生する。燃焼により生成された高温の燃焼ガスは、上昇し、炉室16の上部に滞留し、窯本体13の炉壁で冷やされて下降する。排気口18付近に下降する燃焼ガスは、煙突効果により排気口18に引き込まれて排気される。なお、窯本体13から外気への放熱により、窯本体13の炉壁付近の燃焼ガスの直交方向の温度勾配が大きい。
【0007】
破線の矢印は炉室16内を循環する燃焼ガスの対流を示す。燃焼により生成された高温の燃焼ガスの上昇に伴って、火炎85が発生している燃焼領域の周囲の燃焼ガスは、燃焼領域に引き込まれる。引き込まれた燃焼ガスは、燃焼により生成された高温の燃焼ガスに混合されて上昇し、炉室16の上部に滞留し、窯本体13の炉壁で冷やされて下降する。入口11付近に下降する燃焼ガスは、入口11に発生している対流に巻き込まれる。排気口18と入口11から離れた所を下降する燃焼ガスは、炉床81付近まで下降し、炉床81の表面温度の高い炉床開口部82の方向に流れ、そして燃焼領域に引き込まれる。この、火炎85により生成された、炉室16内を循環する燃焼ガスの対流を炉室内対流と呼ぶ。炉床81の表面温度は炉床開口部82に近いほど高いとした理由は、(1)炉床81は、火炎85と窯本体13の炉壁からの赤外線によって、概ね、炉床開口部82に近いほど強く照射される。つまり、炉床81の表面温度の上昇は、赤外線の照射によって、概ね、炉床開口部82に近いほど大きい。(2)炉床81上の炉室内対流の速度は炉床開口部82に近いほど大きいので、炉床81と炉室内対流との対流熱伝達による炉床81の表面温度の上昇は、炉床開口部82に近いほど大きい。(1)と(2)により、炉床81の表面温度は炉床開口部82に近いほど高い。
【0008】
火炎85の垂直断面は図13に示すように縦長である。図13では、図式的な説明上、火炎85を3分割し、下から火炎A、火炎B、火炎Cとする。火炎A、火炎B、火炎Cの各々によって炉室内対流A、炉室内対流B、炉室内対流Cが生成されるとして、各々は炉床81上では層状に流れるとする。なお、炉室内対流が層状に流れるのは、炉床81の下方向への放熱により炉床81の上の燃焼ガスの垂直方向の温度勾配が大きく、炉室16内の中央下部には温度成層のような温度層が形成されるからである。炉室内対流Aは炉床81に接しているので、炉床81と炉室内対流Aとの対流熱伝達によって、炉室内対流Aは炉床81を加熱する。しかしながら、炉室内対流Bと炉室内対流Cは炉床81に接していないので、炉室内対流Aを介して炉床81を加熱する。一方、炉室内対流Bと炉室内対流Cは火炎Bと火炎Cで加熱され、上昇し、窯本体13の炉壁の上部を加熱する。つまり、炉室内対流Bと炉室内対流Cは、主に炉室16の上部の窯本体13の炉壁を加熱し、炉床81をあまり加熱しない。
【0009】
図14は図11のA-A(炉床81の少し上の火炎Aの中央付近の断面を上から見た)断面図である。図14において、温度センサー22と排気口18は、その断面の上方に位置するので、破線で示されている。破線の矢印が示す炉室内対流Aは、炉床81の上を火炎Aの方向に、火炎Aに略等しい幅で、火炎Aに近いほど大きい速度で流れる。炉室内対流Aの速度が火炎A付近の炉床81の上で特に大きいので、火炎A付近の炉床81は、炉室内対流Aとの対流熱伝達によって過剰に加熱され易い。
【0010】
図15は、被調理物26が調理用ガス窯800の炉床81の上面の被調理物領域27に配置された場合の図12のB-B断面図である。炉室温度が調理に適切な温度であり、被調理物26が被調理物領域27に配置された場合、被調理物26の直ぐ上の燃焼ガスは、被調理物26で冷やされ、その燃焼ガスの温度は低く略一定であるので、被調理物26の直ぐ上の燃焼ガスの流れ(炉室内対流Aの最下層)は一時的に静止するが、その直後に、燃焼ガスの粘性により炉室内対流Aの最下層も流れ始め、被調理物26と炉室内対流Aとの対流熱伝達が開始される。従って、被調理物26の表面は、対流熱伝達によって、火炎Aの幅で、火炎Aに近いほど強く焼かれ、火炎Aに近い被調理物の外縁は過剰に焼かれ易い。赤外線の照射によっても、火炎85に近い被調理物の外縁は過剰に焼かれ易い。被調理物26の裏面は、赤外線の照射および炉室内対流との対流熱伝達によって加熱された炉床81によって焼かれる。従って、調理用ガス窯800で被調理物26が焼かれると、赤外線と対流熱伝達により被調理物26の外縁が過剰に焼かれ易い。
(【0011】以降は省略されています)
この特許をJ-PlatPat(特許庁公式サイト)で参照する
関連特許
個人
調理用ガス窯
5日前
個人
装飾ケーキの製造方法
1か月前
理研ビタミン株式会社
ケーキの製造方法
6か月前
学校法人甲子園学院
カヌレの製造法
3か月前
エムケー精工株式会社
羽根および食品調整装置
7か月前
個人
クッキーの製造方法
7か月前
日本製紙株式会社
菓子用スポンジ生地
2日前
日清食品ホールディングス株式会社
麺帯カット装置
5か月前
三鈴工機株式会社
トロエレベータ
8か月前
日清食品ホールディングス株式会社
麺帯の厚み測定装置
5か月前
個人
多重積層パイ生地を用いた焼き菓子の製造方法
2か月前
日清製粉株式会社
ベーカリー食品の製造方法
5か月前
日清製粉株式会社
ベーカリー食品の製造方法
5か月前
株式会社 不二商会
バウムクーヘン自動焼成システム
2か月前
株式会社カネカ
冷凍用パン生地
5か月前
株式会社ニチレイフーズ
麺食品を製造する方法
7か月前
株式会社オシキリ
焼成装置、焼成制御方法、プログラム
1か月前
地方独立行政法人 岩手県工業技術センター
菓子成型器
5か月前
日油株式会社
製菓用改質剤
7か月前
株式会社ADEKA
練りパイ用添加剤
3か月前
株式会社ADEKA
冷凍パン生地改良剤
4か月前
松谷化学工業株式会社
パン類、及びパン類の伸びを増大させる方法
5か月前
三菱商事ライフサイエンス株式会社
多加水パンに添加できる発酵種
2か月前
日油株式会社
ピザ生地用改質剤
5か月前
日清製粉株式会社
ベーカリー食品用小麦粉
5か月前
日清食品ホールディングス株式会社
麺線群の蒸煮・搬送装置及び蒸煮方法
5か月前
株式会社飯田製作所
串刺食品製造装置および串刺食品製造システム
6か月前
スパーシオ株式会社
圧延ローラの製造方法及び圧延ローラ
7か月前
株式会社デンソーウェーブ
バウムクーヘンの製造システム
4か月前
株式会社ADEKA
製パンフィリング用焼菓子生地
7か月前
株式会社ロッテ
食品生地の吐出ノズル及び吐出装置
1か月前
合同会社PlusenNa
パン酵母種に関わる酵母以外の原料の組成及び製造法
8か月前
株式会社ミールケア
野菜パンの製造方法
21日前
日清製粉株式会社
冷凍ベーカリー食品生地の製造方法
12日前
株式会社ADEKA
ベーカリー生地、及びベーカリー食品
5か月前
日清製粉株式会社
具材入り焼成ベーカリー食品の製造方法
1か月前
続きを見る
他の特許を見る