TOP
|
特許
|
意匠
|
商標
特許ウォッチ
Twitter
他の特許を見る
10個以上の画像は省略されています。
公開番号
2025163355
公報種別
公開特許公報(A)
公開日
2025-10-29
出願番号
2024066512
出願日
2024-04-17
発明の名称
麺類計測器具
出願人
株式会社大和製作所
代理人
弁護士法人クレオ国際法律特許事務所
主分類
A21C
9/00 20060101AFI20251022BHJP(ベイキング;生地製造または加工の機械あるいは設備;ベイキングの生地)
要約
【課題】主に、毎回同じ品質の麺ができているか否かを、数値で具体的、客観的に判断し得るようにする。
【解決手段】
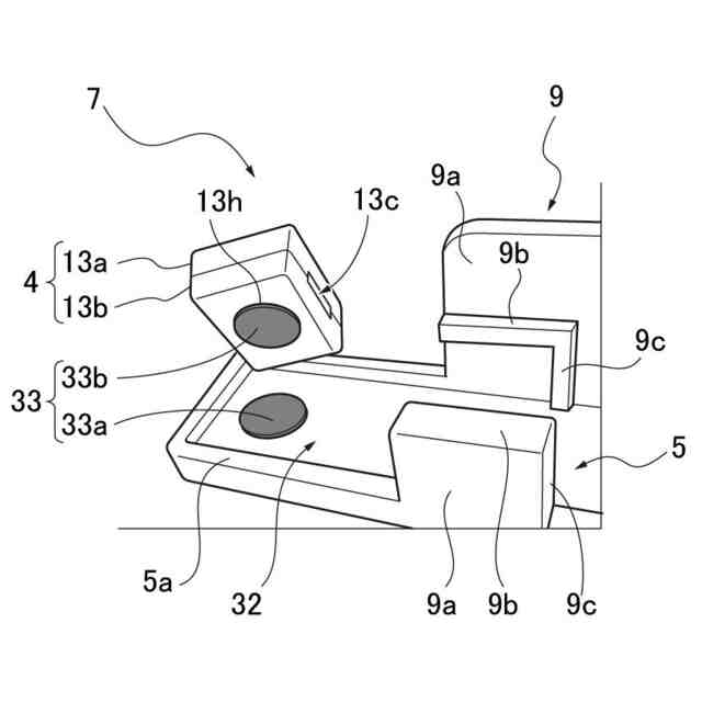
麺類計測器具1は、麺線2の両端部を把持可能な一対の麺クランプ3,4と、麺線2を把持した一対の麺クランプ3,4を載置可能な水平台5と、水平台5の一方の端部に設けられた下方へ延びる垂直ガイド6と、を有する引張試験部7を備えている。
水平台5は、一方の麺クランプ3を垂直ガイド6の側へ向けて移動自在に保持可能な可動側のクランプセット部8、および、他方の麺クランプ4を位置保持可能な固定側のクランプセット部9を有する。
垂直ガイド6は、一方の麺クランプ3に連結された重錘11を吊下状態で案内可能とされると共に、麺線2の延び量を計測する計測部12を有する。
【選択図】図1
特許請求の範囲
【請求項1】
麺線の両端部を把持可能な一対の麺クランプと、
前記麺線を把持した一対の前記麺クランプを載置可能な水平台と、
前記水平台の一方の端部に設けられた下方へ延びる垂直ガイドと、を有する引張試験部を備え、
前記水平台は、
一方の前記麺クランプを前記垂直ガイドの側へ向けて移動自在に保持可能な可動側のクランプセット部、および、
他方の前記麺クランプを位置保持可能な固定側のクランプセット部を有し、
前記垂直ガイドは、
一方の前記麺クランプに連結された重錘を吊下状態で案内可能とされると共に、
前記麺線の延び量を計測する計測部を有することを特徴とする麺類計測器具。
続きを表示(約 870 文字)
【請求項2】
請求項1に記載の麺類計測器具であって、
前記水平台は、可動側の前記クランプセット部の位置に、前記垂直ガイドの側へ向かって下り勾配となる傾斜部を有し、
前記垂直ガイドは、前記重錘を、隙間を有して収容する筒形状の案内部分を有することを特徴とする麺類計測器具。
【請求項3】
請求項1または請求項2に記載の麺類計測器具であって、
前記水平台は、前記クランプセット部の前記垂直ガイドとは反対の側に、
前記麺線の端部を前記麺クランプに把持させる際に前記麺クランプを仮置きする仮置部を有し、
前記仮置部は、前記麺クランプを仮固定可能な仮固定部を備えたことを特徴とする麺類計測器具。
【請求項4】
請求項1に記載の麺類計測器具であって、
前記引張試験部は、剪断試験部を一体に備えており、
前記剪断試験部は、
麺線を水平に置く麺置部を有する麺置台と、前記麺線を剪断する剪断糸と、前記剪断糸に荷重を付与する重錘とを有し、
前記麺置台は、前記麺置部にセットされた前記麺線の垂直方向に延びると共に、前記麺線の上側から下側に亘る前記剪断糸の移動を案内する案内溝を有することを特徴とする麺類計測器具。
【請求項5】
請求項4に記載の麺類計測器具であって、
前記麺置台は、二枚の板状体を重ね合わせて形成され、
前記麺置部は、二枚の前記板状体に跨って設けられ、
前記剪断糸の前記案内溝は、二枚の前記板状体の合わせ部分に形成されることを特徴とする麺類計測器具。
【請求項6】
請求項4乃至請求項5のいずれか1項に記載の麺類計測器具であって、
台板から上方へ延びる支柱の上端部に、前記引張試験部および前記剪断試験部が設けられ、
前記引張試験部は、前記水平台の側部から立ち上がる側板に、前記剪断試験部の前記麺置台がボルトで取付けられていることを特徴とする麺類計測器具。
発明の詳細な説明
【技術分野】
【0001】
この発明は、麺類計測器具に関する。
続きを表示(約 1,600 文字)
【背景技術】
【0002】
例えば、うどん、そば、中華麺などの麺類は、小麦粉やそば粉などの粉を材料にして作られている(例えば、特許文献1参照)。これらの麺類は、材料の配合割合や製造工程などの、造り込みの条件が同じであっても、例えば、季節や、その日の温度や湿度などによって、常に同じ麺ができるとは限らない。
【先行技術文献】
【特許文献】
【0003】
特開平10-150903号公報
【発明の概要】
【発明が解決しようとする課題】
【0004】
そのため、麺類の製造者や販売者(例えば、飲食店など)は、毎日または毎回同じ品質の麺ができているか否かを、実際に食べたり、指で押し潰したりすることで判断している(官能評価)。
【0005】
しかし、このような官能評価は、個人的で主観的なものであるため、評価にバラツキが生じ易く、客観的でない。そこで、麺類の製造者や販売者は、麺類の品質を、数値で具体的、客観的に判断できる手段を必要としている。このような手段は、現在のところ、特に見当たらない。
【0006】
そこで、本発明は、上記した問題点の改善に寄与することを主な目的としている。
【課題を解決するための手段】
【0007】
上記課題に対して、本発明は、
麺線の両端部を把持可能な一対の麺クランプと、
前記麺線を把持した一対の前記麺クランプを載置可能な水平台と、
前記水平台の一方の端部に設けられた下方へ延びる垂直ガイドと、を有する引張試験部を備え、
前記水平台は、
一方の前記麺クランプを前記垂直ガイドの側へ向けて移動自在に保持可能な可動側のクランプセット部、および、
他方の前記麺クランプを位置保持可能な固定側のクランプセット部を有し、
前記垂直ガイドは、
一方の前記麺クランプに連結された重錘を吊下状態で案内可能とされると共に、
前記麺線の伸び量を計測する計測部を有する麺類計測器具を特徴とする。
【発明の効果】
【0008】
本発明は、上記構成によって、毎回同じ品質の麺ができているか否かを、数値で具体的、客観的に判断することなどができる。
【図面の簡単な説明】
【0009】
本実施の形態にかかる麺類計測器具の全体斜視図である。
図1の引張試験部を斜め上方から見た部分拡大斜視図である。
図1の引張試験部を一方の側から見た部分拡大斜視図である。
図2の可動側のクランプセット部の部分拡大斜視図である。
図2の固定側のクランプセット部および仮置部の部分拡大斜視図である。
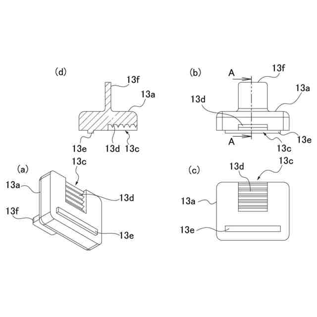
(a)は麺クランプの全体斜視図、(b)は麺クランプの側面図、(c)は麺クランプの部分的な縦断面図である。
上側のクランプ片の部品図である。このうち、(a)は全体斜視図、(b)は側面図、(c)は底面図、(d)は縦断面図である。
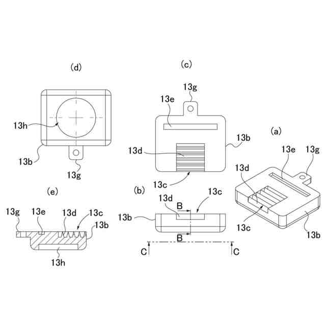
下側のクランプ片の部品図である。このうち、(a)は全体斜視図、(b)は側面図、(c)は上面図、(d)は底面図、(e)は縦断面図である。
仮置部の仮固定部の部分拡大斜視図である。
引張試験部による計測の様子を示す作動図である。
図1の剪断試験部を斜め上方から見た部分拡大斜視図である。
剪断試験部の平面図である。
剪断試験部による計測の様子を示す作動図である。
剪断試験部を一方の側から見た計測の様子を示す作動図である。
【発明を実施するための形態】
【0010】
本実施の形態は、図1~図11を用いて詳細に説明される。
【実施例】
(【0011】以降は省略されています)
この特許をJ-PlatPat(特許庁公式サイト)で参照する
関連特許
株式会社大和製作所
麺丸め装置
8日前
株式会社大和製作所
麺類計測器具
6日前
個人
調理用ガス窯
1か月前
個人
装飾ケーキの製造方法
3か月前
不二製油株式会社
パン類の製造方法
1か月前
学校法人甲子園学院
カヌレの製造法
5か月前
不二製油株式会社
食物繊維含有ペストリー類
1か月前
不二製油株式会社
焼成後冷凍複合ベーカリー食品
26日前
日清食品ホールディングス株式会社
麺帯カット装置
6か月前
日本製紙株式会社
菓子用スポンジ生地
1か月前
株式会社NINZIA
蒟蒻食材を含む食品など
7日前
日清食品ホールディングス株式会社
麺線群の搬送装置
25日前
日清食品ホールディングス株式会社
麺帯の厚み測定装置
6か月前
日清製粉株式会社
ベーカリー食品の製造方法
7か月前
個人
多重積層パイ生地を用いた焼き菓子の製造方法
3か月前
日清製粉株式会社
ベーカリー食品の製造方法
7か月前
日清製粉株式会社
ベーカリー食品の製造方法
26日前
株式会社 不二商会
バウムクーヘン自動焼成システム
3か月前
株式会社カネカ
冷凍用パン生地
6か月前
株式会社オシキリ
焼成装置、焼成制御方法、プログラム
2か月前
地方独立行政法人 岩手県工業技術センター
菓子成型器
6か月前
株式会社ADEKA
練りパイ用添加剤
4か月前
株式会社ADEKA
冷凍パン生地改良剤
5か月前
ナガセヴィータ株式会社
シュー生地
12日前
松谷化学工業株式会社
パン類、及びパン類の伸びを増大させる方法
6か月前
三菱商事ライフサイエンス株式会社
多加水パンに添加できる発酵種
3か月前
株式会社カネカ
多加水パン生地用改良剤
26日前
日油株式会社
ピザ生地用改質剤
6か月前
日清食品ホールディングス株式会社
麺線群のウエーブの自動形成装置
25日前
株式会社カネカ
多加水パン生地用改良剤
26日前
株式会社大和製作所
麺丸め装置
8日前
日清食品ホールディングス株式会社
麺線群の蒸煮・搬送装置及び蒸煮方法
6か月前
日油株式会社
製菓用グルテン改質剤
26日前
日清製粉株式会社
ベーカリー食品用小麦粉
6か月前
株式会社大和製作所
麺類計測器具
6日前
日油株式会社
製パン用グルテン改質剤
26日前
続きを見る
他の特許を見る