TOP
|
特許
|
意匠
|
商標
特許ウォッチ
Twitter
他の特許を見る
10個以上の画像は省略されています。
公開番号
2025162433
公報種別
公開特許公報(A)
公開日
2025-10-27
出願番号
2024065730
出願日
2024-04-15
発明の名称
麺丸め装置
出願人
株式会社大和製作所
代理人
弁護士法人クレオ国際法律特許事務所
主分類
A21C
9/08 20060101AFI20251020BHJP(ベイキング;生地製造または加工の機械あるいは設備;ベイキングの生地)
要約
【課題】主に、麺類を簡単な構造や動きで小分けし得るようにする。
【解決手段】
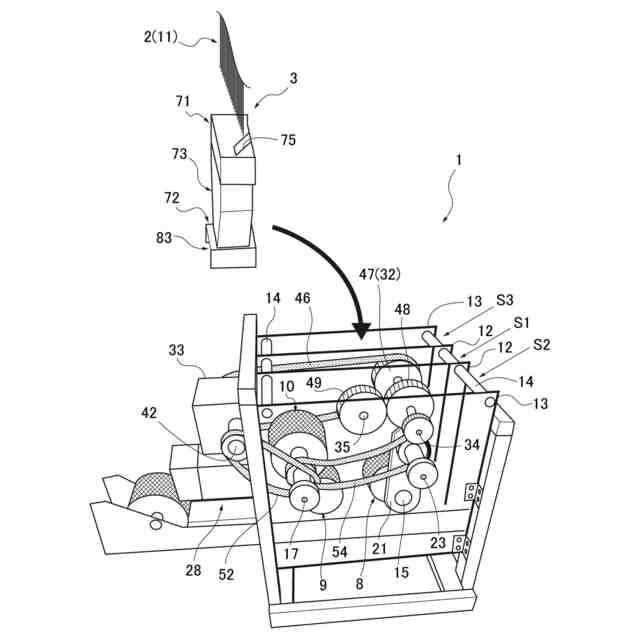
麺丸め装置1は、麺線2を投入する投入部3と、投入部3から出た麺線2を所要の長さに切断する切断部4と、切断部4で切断された麺線2を丸めて麺玉5にする丸め部6と、丸め部6で丸められた麺玉5を排出する排出部7と、を有する。
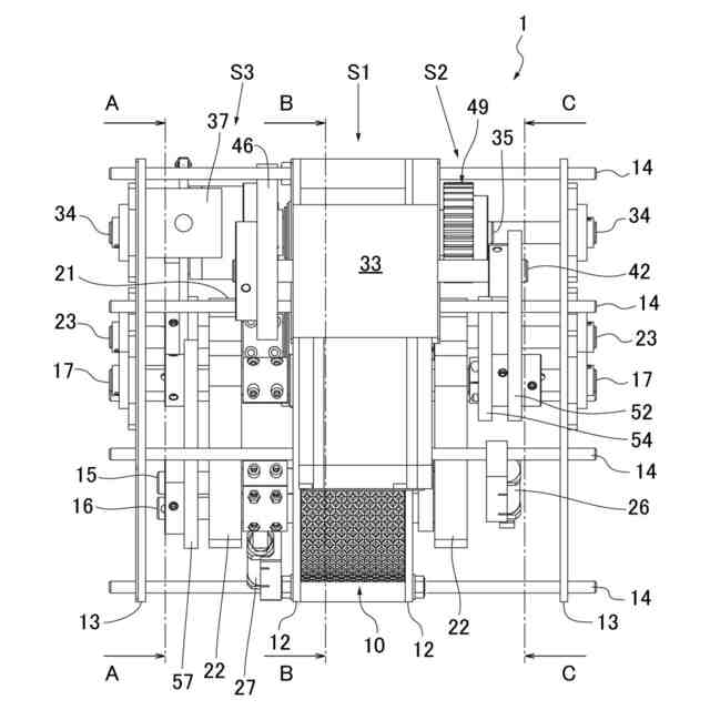
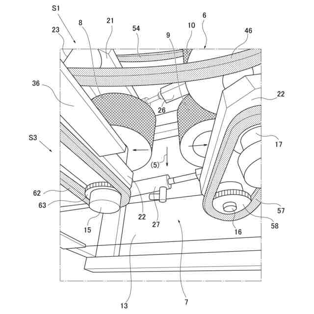
丸め部6は、同一方向に回転して麺線2を一方向へ送る水平な第一ロール8、第二ロール9、および、第三ロール10を備える。
上流側の第一ロール8、第二ロール9は、投入部3の下方に位置して切断部4で切断された麺線2を受ける。下流側の第三ロール10は、第二ロール9の上方に位置して第二ロール9から送られた麺線2を上方へ導く。上方へ導かれた麺線2の先端は、第三ロール10から離れると自重で折り返されて下へ向かうことで、麺線2の中間部の上へ送られる。
【選択図】図5A
特許請求の範囲
【請求項1】
麺線を投入する投入部と、
前記投入部から出た前記麺線を所要の長さに切断する切断部と、
前記切断部で切断された前記麺線を丸めて麺玉にする丸め部と、
前記丸め部で丸められた前記麺玉を排出する排出部と、を有し、
前記丸め部は、同一方向に回転して前記麺線を一方向へ送る水平な第一ロール、第二ロール、および、第三ロールを備え、
上流側の前記第一ロール、前記第二ロールは、前記投入部の下方に位置して前記切断部で切断された前記麺線を受け、下流側の前記第三ロールは、前記第二ロールの上方に位置して前記第二ロールから送られた前記麺線を上方へ導き、上方へ導かれた前記麺線の先端が自重で折り返されて下へ向かうことで前記麺線の中間部の上へ送ることを特徴とする麺丸め装置。
続きを表示(約 590 文字)
【請求項2】
請求項1に記載の麺丸め装置であって、
前記排出部は、少なくとも前記第一ロール、前記第二ロールを、近接および離間させる開閉アームを備えていることを特徴とする麺丸め装置。
【請求項3】
請求項1または請求項2に記載の麺丸め装置であって、
前記切断部は、回転刃と、前記回転刃の回転および回転停止を切替可能なクラッチとを有し、
前記回転刃は、前記クラッチを介して、前記丸め部の前記第一ロール、前記第二ロール、および、前記第三ロールを駆動する駆動装置に接続されていることを特徴とする麺丸め装置。
【請求項4】
請求項1または請求項2に記載の麺丸め装置であって、
前記投入部は、上部に幅の広い投入口を有し、下部に幅の狭い排出口を有すると共に、中間部に前記投入口から前記排出口へ向けて幅が狭くなる絞り部を有しており、
前記投入口は、幅中央部へ投入された前記麺線を、投入された前記麺線に対して、前記投入部の厚さ方向へ変位させるガイド板を有することを特徴とする麺丸め装置。
【請求項5】
請求項1または請求項2に記載の麺丸め装置であって、
前記投入部は、前記第一ロール、前記第二ロールに対する前記麺線の落下位置を前記麺線の送り方向に調整可能であることを特徴とする麺丸め装置。
発明の詳細な説明
【技術分野】
【0001】
この発明は、麺丸め装置に関する。
続きを表示(約 1,600 文字)
【背景技術】
【0002】
うどん、そば、中華麺などの麺類は、通常、一食分ごとに小分けされる。そして、麺類を小分けするために、麺類袋詰め装置が開発されている(例えば、特許文献1参照)。
【0003】
特許文献1の麺類袋詰め装置は、製麺機で製造され、搬入コンベヤで運ばれた一食分の麺類を、2つに折り畳むことで平らな状態にして袋に詰めるようになっている。
【先行技術文献】
【特許文献】
【0004】
特開2010-265006号公報
【発明の概要】
【発明が解決しようとする課題】
【0005】
特許文献1の麺類袋詰め装置は、搬入コンベヤに沿って受け皿を横へ動かしながら、一食分の麺類を搬入コンベヤから受け皿で受け取るようになっている。受け皿は、真中から下へ折れるように傾動して開く2つの可動片を有している。そして、受け皿の2つの可動片を開くことで、受け皿の真中に形成された開口から、麺類を下へ落下させる。これにより、麺類は、真中から2つ折りにされた状態になって受け皿から排出される。このような麺類袋詰め装置は、受け皿を搬入コンベヤに沿って横へ動かしたり、受け皿の2つの可動片を真中から下へ折れるように傾動して開いたりするなどにより、構造や動きが複雑になっていた。そのため、麺類袋詰め装置は、生産性を高めるのが難しかった。
【0006】
そこで、本発明は、上記した問題点の改善に寄与することを主な目的としている。
【課題を解決するための手段】
【0007】
上記課題に対して、本発明は、
麺線を投入する投入部と、
前記投入部から出た前記麺線を所要の長さに切断する切断部と、
前記切断部で切断された前記麺線を丸めて麺玉にする丸め部と、
前記丸め部で丸められた前記麺玉を排出する排出部と、を有し、
前記丸め部は、同一方向に回転して前記麺線を一方向へ送る水平な第一ロール、第二ロール、および、第三ロールを備え、
上流側の前記第一ロール、前記第二ロールは、前記投入部の下方に位置して前記切断部で切断された前記麺線を受け、下流側の前記第三ロールは、前記第二ロールの上方に位置して前記第二ロールから送られた前記麺線を上方へ導き、上方へ導かれた前記麺線の先端が自重で折り返されて下へ向かうことで前記麺線の中間部の上へ送る麺丸め装置を特徴とする。
【発明の効果】
【0008】
本発明は、上記構成によって、麺類を簡単な構造や動きで小分けすることなどができる。
【図面の簡単な説明】
【0009】
本実施の形態にかかる麺丸め装置の全体斜視図である。
図1を左側から見た麺丸め装置の背面図である。
図2の麺丸め装置の平面図である。
図2の麺丸め装置の左側面図である。
麺丸め装置の要部を示す斜視図である。
図2のB-B線に沿った縦断面図である。
丸め部の斜視図である。
丸め部で麺線を麺玉に丸めている状態を示す斜視図である。
排出部を示す斜視図である。
丸め部のロールの全体斜視図である。
(a)は丸め部のロールの側面図、(b)はロールの平面図である。
図2のC-C線に沿った縦断面図である。
図2のA-A線に沿った縦断面図である。
投入部(ホッパ)の全体斜視図である。
投入部を様々な方向から見た図であり、(a)は正面図、(b)は平面図、(c)は底面図、(d)は側面図、(e)は背面図である。
【発明を実施するための形態】
【0010】
本実施の形態は、図1~図12Bを用いて詳細に説明される。
【実施例】
(【0011】以降は省略されています)
この特許をJ-PlatPat(特許庁公式サイト)で参照する
関連特許
個人
調理用ガス窯
1か月前
個人
装飾ケーキの製造方法
3か月前
不二製油株式会社
パン類の製造方法
1か月前
学校法人甲子園学院
カヌレの製造法
5か月前
不二製油株式会社
食物繊維含有ペストリー類
1か月前
不二製油株式会社
焼成後冷凍複合ベーカリー食品
1か月前
日本製紙株式会社
菓子用スポンジ生地
1か月前
株式会社NINZIA
蒟蒻食材を含む食品など
25日前
日清食品ホールディングス株式会社
麺線群の搬送装置
1か月前
個人
多重積層パイ生地を用いた焼き菓子の製造方法
4か月前
日清製粉株式会社
ベーカリー食品の製造方法
1か月前
株式会社 不二商会
バウムクーヘン自動焼成システム
4か月前
株式会社カネカ
冷凍用パン生地
7か月前
地方独立行政法人 岩手県工業技術センター
菓子成型器
7か月前
株式会社オシキリ
焼成装置、焼成制御方法、プログラム
3か月前
株式会社ADEKA
練りパイ用添加剤
5か月前
三菱商事ライフサイエンス株式会社
多加水パンに添加できる発酵種
4か月前
ナガセヴィータ株式会社
シュー生地
1か月前
株式会社ADEKA
冷凍パン生地改良剤
5か月前
株式会社カネカ
多加水パン生地用改良剤
1か月前
日清食品ホールディングス株式会社
麺線群のウエーブの自動形成装置
1か月前
株式会社カネカ
多加水パン生地用改良剤
1か月前
株式会社大和製作所
麺丸め装置
26日前
日油株式会社
製菓用グルテン改質剤
1か月前
株式会社大和製作所
麺類計測器具
24日前
日油株式会社
製パン用グルテン改質剤
1か月前
株式会社ADEKA
速成パン用風味改良剤
1か月前
日東富士製粉株式会社
フランスパンの製造方法
1か月前
株式会社デンソーウェーブ
バウムクーヘンの製造システム
6か月前
株式会社ミールケア
野菜パンの製造方法
2か月前
株式会社ロッテ
食品生地の吐出ノズル及び吐出装置
3か月前
株式会社ニップン
ピザクラストの製造方法
17日前
日清製粉株式会社
冷凍ベーカリー食品生地の製造方法
2か月前
日本ハム株式会社
低アレルゲンケーキおよびその製造方法
1か月前
小野工芸株式会社
食品焼成用天板
1か月前
日清製粉株式会社
具材入り焼成ベーカリー食品の製造方法
2か月前
続きを見る
他の特許を見る