TOP
|
特許
|
意匠
|
商標
特許ウォッチ
Twitter
他の特許を見る
10個以上の画像は省略されています。
公開番号
2025029111
公報種別
公開特許公報(A)
公開日
2025-03-05
出願番号
2024210841,2021534973
出願日
2024-12-04,2019-12-16
発明の名称
注射デバイスおよび検出器装置
出願人
サノフイ
,
SANOFI
代理人
個人
,
個人
主分類
A61M
5/315 20060101AFI20250226BHJP(医学または獣医学;衛生学)
要約
【課題】本開示は、薬剤の事前設定された用量または使用者選択可能な用量を設定および注射するための注射デバイスを提供する。
【解決手段】注射デバイスは、第1の要素100と第2の要素200の間の相対的な動きを検出するように動作可能な検出器装置150とを含み、ここで、第1の要素は、用量の設定のために第2の要素に対して第1の長手方向3に沿った第1の動きをし、また、第1の要素は、用量の投薬のために第2の要素に対して第2の長手方向2に沿った第2の動きをし、第1の動きおよび第2の動きの一方は螺旋状の動きであり、第1の動きおよび第2の動きのもう一方は長手方向の摺動する動きであり、第2の要素は、第2の要素に固定された少なくとも1つの参照要素160を含み、第1の要素は、参照要素の方に向いているパターン104を備える管状面を含む。
【選択図】図12
特許請求の範囲
【請求項1】
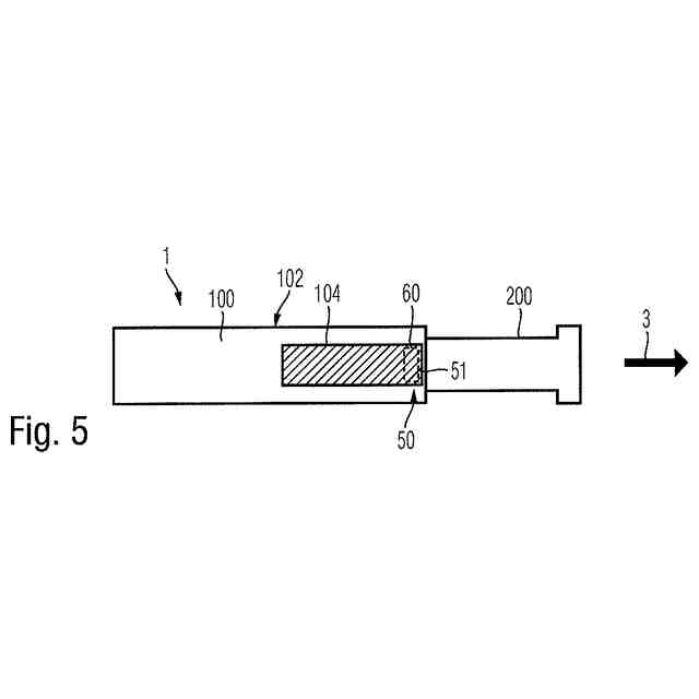
薬剤の事前設定された用量または使用者選択可能な用量を設定および注射するための注射デバイスであって:
長手方向(z)を画成し、かつ、薬剤を含むカートリッジ(20)を収容するように構成された、細長いハウジング(10)と、
第1の要素(100)と第2の要素(200)の間の相対的な動きを検出するように動作可能な検出器装置(50)とを含み、ここで、第1の要素(100)は、用量の設定のために第2の要素(200)に対して第1の長手方向(3)に沿った第1の動きをし、また、第1の要素(100)は、用量の投薬のために第2の要素(200)に対して第2の長手方向(2)に沿った第2の動きをし、第1の動きおよび第2の動きの一方は螺旋状の動きであり、第1の動きおよび第2の動きのもう一方は長手方向(z)の摺動する動きであり、
第2の要素(200)は、該第2の要素(200)に固定された少なくとも1つの参照要素(60;160)を含み、
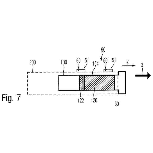
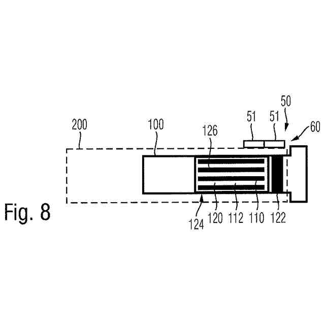
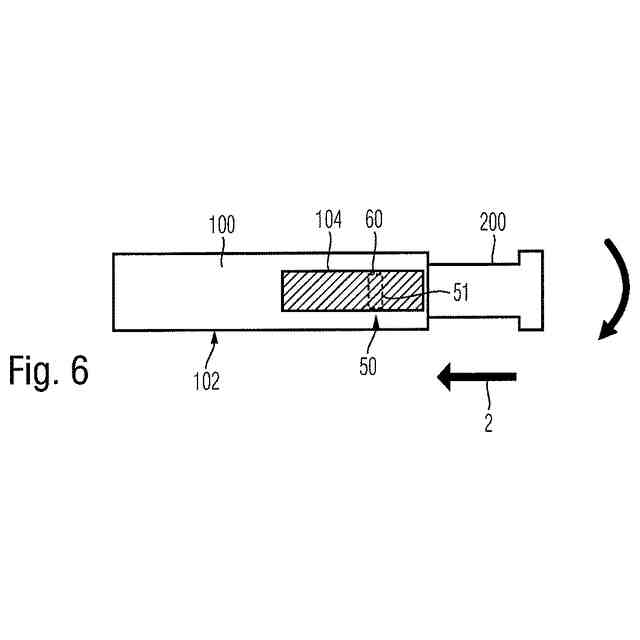
第1の要素(100)は、参照要素(60;160)の方に向いているパターン(104)を備える管状面(102)を含み、
検出器装置(50;150)は、第1の要素(100)および第2の要素(200)の一方に配置され、ならびに、少なくとも1つの参照要素(60;160)に対するパターン(104)の位置変化を検出するように動作可能であり、および、第2の要素(200)に対する第1の要素(100)の第1の動きおよび第2の動きの少なくとも一方の間に、パターン(104)の位置変化に応答して少なくとも1つの電気信号を生成するように動作可能な、少なくとも1つの電気センサ(51;151)を含む、前記注射デバイス。
続きを表示(約 1,500 文字)
【請求項2】
パターン(104)は、少なくとも第1のパターン部分(110)と、第1のパターン部分(110)と重なり合わない第2のパターン部分(112)とを含み、第1のパターン部分(110)と第2のパターン部分(112)は、次のパラメータ:導電率、光透過率、光反射率、磁化率、電気感受率、および管状面(102)の中心軸に対する径方向位置、のうちの少なくとも1つに関して相違を示す、請求項1に記載の注射デバイス。
【請求項3】
パターン(104)の長手方向の伸びが、第2の要素(200)に対する第1の要素(100)の最大限の長手方向変位と等しい、またはこの変位よりも大きい、請求項1~2のいずれか1項に記載の注射デバイス。
【請求項4】
パターン(104)は、第1のパターンセクション(120)および第2のパターンセクション(122)を含み、第1のパターンセクション(120)と第2のパターンセクション(122)は、管状面(102)上で重なり合わずに配置され、第2のパターンセクション(122)は、第1のパターンセクション(120)から長手方向(z)に分離される、請求項1~3のいずれか1項に記載の注射デバイス。
【請求項5】
第1のパターンセクション(120)は、平行に向けられたいくつかの長手方向縞(126)を含む縞パターン(124)を含み、長手方向縞(126)は、長手方向(z)に平行に延び、または長手方向縞(126)は、長手方向(z)に対して所定の角度で延びる、請求項4に記載の注射デバイス。
【請求項6】
検出器装置(50;150)は、参照要素(60;160)と第1のパターンセクション(120)および第2のパターンセクション(122)の少なくとも一方との長手方向の重なり合いを、第2の要素(200)に対する第1の要素(100)の回転状態にかかわらず検出するように動作可能である、請求項4または5に記載の注射デバイス。
【請求項7】
パターン(104)は、導電性である少なくとも第1のパターン部分(110)と、電気絶縁性である少なくとも第2のパターン部分(112)とを含む、請求項1~6のいずれか1項に記載の注射デバイス。
【請求項8】
検出器装置(50;150)は、第2の要素(200)に配置され、かつ、第1の要素(100)が第2の要素(200)に対して第1の動きおよび第2の動きの一方をするときに、パターン(104)の第1のパターン部分(110)および第2のパターン部分(112)に交互に連結するように動作可能な、少なくとも1つの電気接点タップ(52、53、54;164、166、168)を含む、請求項7に記載の注射デバイス。
【請求項9】
パターン(104)は、導電性である少なくとも第3のパターン部分(114)を含み、第1のパターン部分(110)と第3のパターン部分(114)は電気的に分離される、請求項7または8に記載の注射デバイス。
【請求項10】
検出器装置(150)および少なくとも1つの電気センサ(151)は、第1の要素(100)上に配置され、少なくとも1つの電気センサ(151)は、第1のパターン部分(110)に電気的に接続され、少なくとも1つの参照要素(160)は、第2の要素(200)上に配置され、ならびに、第1の要素(100)が第2の要素(200)に対して第1の動きおよび第2の動きの一方をするときに、第1のパターン部分(110)と第3のパターン部分(114)の間の電気的接触を交互に確立しおよび遮断するように構成された電気橋絡接点(162)を含む、請求項9に記載の注射デバイス。
(【請求項11】以降は省略されています)
発明の詳細な説明
【技術分野】
【0001】
本開示は、1つの態様では、薬剤の事前設定された用量または使用者選択可能な用量を排出するための、ペン型注射器などの注射デバイスに関する。特に、本開示は、注射デバイスによって実際に設定または投薬される用量のサイズを検出または定量的に測定するように動作可能な検出器装置を含む注射デバイスに関する。
続きを表示(約 2,100 文字)
【背景技術】
【0002】
液体薬剤の単一または複数の用量を設定し投薬するための注射デバイスが、そのようなものとして当技術分野でよく知られている。一般に、このようなデバイスは、通常のシリンジと実質的に同様の目的を有する。
【0003】
注射デバイス、特にペン型の注射器は、使用者に特有のいくつかの要件を満たさなければならない。たとえば、糖尿病などの患者が罹患している慢性疾患によって、患者は物理的に虚弱であることがあり、また視覚障害を持っていることもある。したがって、特に家庭用医薬品を対象とする適切な注射デバイスは、構造が堅牢である必要があり、また使いやすくなければならない。さらに、デバイスおよびその部材の操作および一般的な取扱いは分かりやすく、かつ容易に理解可能でなければならない。その上、用量設定ならびに用量投薬手順は、操作が容易でなければならず、また明確でなければならない。
【0004】
一般には、このようなデバイスは、投薬予定の薬剤が少なくとも部分的に充填されたカートリッジを受けるように適用された、特定のカートリッジホルダを含むハウジングを含む。このようなデバイスはさらに、カートリッジのピストンと動作可能に係合するように構成された変位可能なピストンロッドを通常有する、駆動機構または排出機構を含む。駆動機構およびそのピストンロッドは、カートリッジのピストンを遠位方向すなわち投薬方向に変位させるように動作可能であり、したがって、注射デバイスのハウジングの遠位端部と解放可能に連結予定の穿孔アセンブリを経由して、所定の量の薬剤を排出することができる。
【0005】
注射デバイスによって投薬予定の薬剤は通常、複数用量カートリッジ内に提供され含まれる。このようなカートリッジは通常、穿孔可能な封止材によって遠位方向において封止され、かつピストンによってさらに近位方向において封止されているガラス質胴部を含む。再使用可能な注射デバイスでは、空のカートリッジが新しいものと交換可能である。対照的に、使い捨て型の注射デバイスは、カートリッジ内の薬剤が投薬されるか、または使い切られたときに廃棄される。
【0006】
いくつかの注射デバイスは、機械的に、および/または手動で実施される。ここで使用者は、手動で用量ダイヤルを作動させることによって、たとえば、用量ダイヤルを注射デバイスのハウジングに対して回転または摺動させることによって、用量を設定しなければならない。その用量を投薬または排出するには、使用者は、ダイヤルおよび/またはトリガを反対方向に変位させなければならない。たとえば、特許文献1、特許文献2または特許文献3に開示されている、ダイヤル延長部を有するペン型注射デバイスが存在し、このダイヤル延長部は、用量の設定のために近位方向に回転と長手方向の複合変位をし、さらに、反対の長手方向への、すなわち、薬剤の用量を投薬または排出するための遠位方向への摺動変位をする。手動で作動させる注射デバイスでは、使用者は、たとえば用量ボタンまたはトリガボタンとして実施されたトリガに駆動力をかけなければならない。駆動機構は通常、使用者によってかけられた駆動力を、薬剤が充填されたカートリッジのピストンまたはストッパと動作可能に係合しているピストンロッドの、遠位に向けられた駆動運動
に変換するように動作可能である。
【0007】
少なくとも用量設定の目的でハウジングに対して変位可能な、たとえば注射デバイスの多数の構成要素のアセンブリであるダイヤル延長部は通常、用量の設定のためにハウジングに対して回転可能な用量ダイヤルを含む。ダイヤル延長部はさらに、用量の投薬または排出を開始および/または制御するためにハウジングの遠位長手方向に押し下げ可能な用量ボタンまたはトリガボタンを含み得る。
【0008】
たとえば、処方された医薬品スケジュールを患者が遵守していることを調査する目的で注射デバイスの使用を監視するために、このような注射デバイスには、注射が行われるときの少なくとも1つの時点と、注射デバイスによって注射または排出された用量のサイズとを検出するように動作可能な検出器装置が装備される。容量のサイズを決定または定量的に測定するために、注射デバイスの少なくとも1つの構成要素の、注射デバイスの別の構成要素に対する回転および長手方向の変位の少なくとも一方が、検出および/または測定されなければならない。
【0009】
手動で動作可能である、かつ/または機械的に実施される注射デバイスへの電子検出器装置の実装および埋め込みは、特に電子検出器装置が既存の注射デバイスに後付けされなければならない場合には非常に困難である。
【先行技術文献】
【特許文献】
【0010】
WO2004/078239A1
WO2004/078240A1
WO2004/078241A1
【発明の概要】
【発明が解決しようとする課題】
(【0011】以降は省略されています)
この特許をJ-PlatPat(特許庁公式サイト)で参照する
関連特許
サノフイ
薬物送達デバイス
1か月前
サノフイ
投与量測定システム
3か月前
サノフイ
投与量検知用の電子機器
2か月前
サノフイ
埋込可能なグルコースモニタ
2か月前
サノフイ
注射デバイスのための補助デバイス
7日前
サノフイ
安定な低粘度抗体製剤およびその使用
3か月前
サノフィ・バイオテクノロジー
ヒト化抗IL-1R3抗体及び使用方法
1か月前
サノフイ
注射デバイスに取り付けるための補助デバイス
3か月前
サノフイ
ブラジキニンB1受容体リガンドに対する抗体
15日前
サノフィ パスツール インコーポレイティッド
多価肺炎球菌多糖体-タンパク質複合体組成物
1か月前
サノフイ
ヒト化抗CXCR5抗体を使用するループスの処置
3か月前
サノフイ
ヒトのがんを治療するための特異的抗CD38抗体
6日前
サノフイ
三重特異性結合性タンパク質、方法、およびその使用
5か月前
サノフイ
機械学習システムによって低血糖の率を予測すること
7日前
サノフイ
多特異性結合タンパク質において鎖誤対合を分析する方法
5か月前
サノフイ
既存薬物を再開発するためのデータ処理システムおよび方法
2か月前
サノフィ・バイオテクノロジー
IL-4R拮抗薬の投与により喘息を処置または予防するための方法
4か月前
サノフィ・バイオテクノロジー
IL-4R拮抗薬の投与により喘息を処置または予防するための方法
23日前
サノフイ
CD38およびTGF-ベータを標的とする、がんに対する組合せ療法
4か月前
サノフィ-アベンティス・ドイチュラント・ゲゼルシャフト・ミット・ベシュレンクテル・ハフツング
医療デバイスで実行可能な作動動作を検出するためのデバイス及び方法
15日前
サノフィ・バイオテクノロジー
関節リウマチを有する対象における疼痛を治療するための組成物および方法
16日前
サノフィ-アベンティス・ユー・エス・エルエルシー
再発性および/または不応性の多発性骨髄腫の処置のためのイサツキシマブの使用
7日前
サノフィ・バイオテクノロジー
IL-33アンタゴニストを投与することにより喘息を治療するまたは予防するための方法
1か月前
サノフィ ワクチン テクノロジーズ エス.エー.エス.
微細藻類における異種ポリペプチド、微細藻類細胞外体、組成物の産生、ならびにそれらの作製および使用の方法
1か月前
アブリンクス エン.ヴェー.
IL-13およびTSLPを標的化する免疫グロブリン単一可変ドメインを含むポリペプチド
4か月前
メドイミューン・リミテッド
抗RSV抗体の投与レジメン及び抗RSV抗体を含む組成物
4か月前
リジェネロン・ファーマシューティカルズ・インコーポレイテッド
IL-6Rアンタゴニストを投与することによってリウマチ性多発筋痛症を処置するための組成物および方法
4か月前
東レ株式会社
ポリエステルフィルム
7日前
三菱瓦斯化学株式会社
樹脂組成物、フィルム、偏光シート、および、サングラス
22日前
三菱瓦斯化学株式会社
樹脂組成物、フィルム、偏光シート、および、サングラス
3か月前
三菱瓦斯化学株式会社
樹脂組成物、フィルム、偏光シート、および、サングラス
1か月前
リンテック株式会社
積層体の製造方法
3か月前
学校法人光産業創成大学院大学
咽喉マイク
3か月前
株式会社サタケ
集塵機における圧力計測配管の取付構造
13日前
株式会社エアウィーヴ
マットレス、およびマットレスの注文受付方法
3か月前
サンスター株式会社
歯間ブラシ
3か月前
続きを見る
他の特許を見る